GM Service Manual Online
For 1990-2009 cars only
Makes
🢒
Pontiac
🢒
2006
🢒
Pursuit
🢒
Engine
🢒
Engine Controls - 2.4L
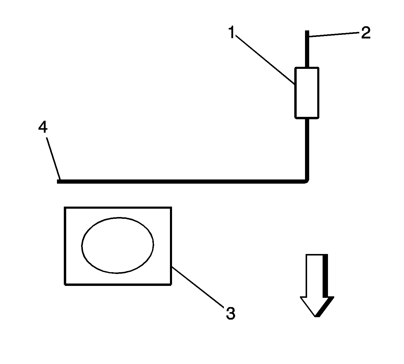
🢒 Emission Hose Routing Diagram
(1)
EVAP Canister Purge Solenoid Valve
(2)
To EVAP Canister
(3)
Throttle Body
(4)
To Intake Manifold