GM Service Manual Online
For 1990-2009 cars only
Makes
🢒
Pontiac
🢒
2006
🢒
Pursuit
🢒
Engine
🢒
Engine Controls - 2.4L
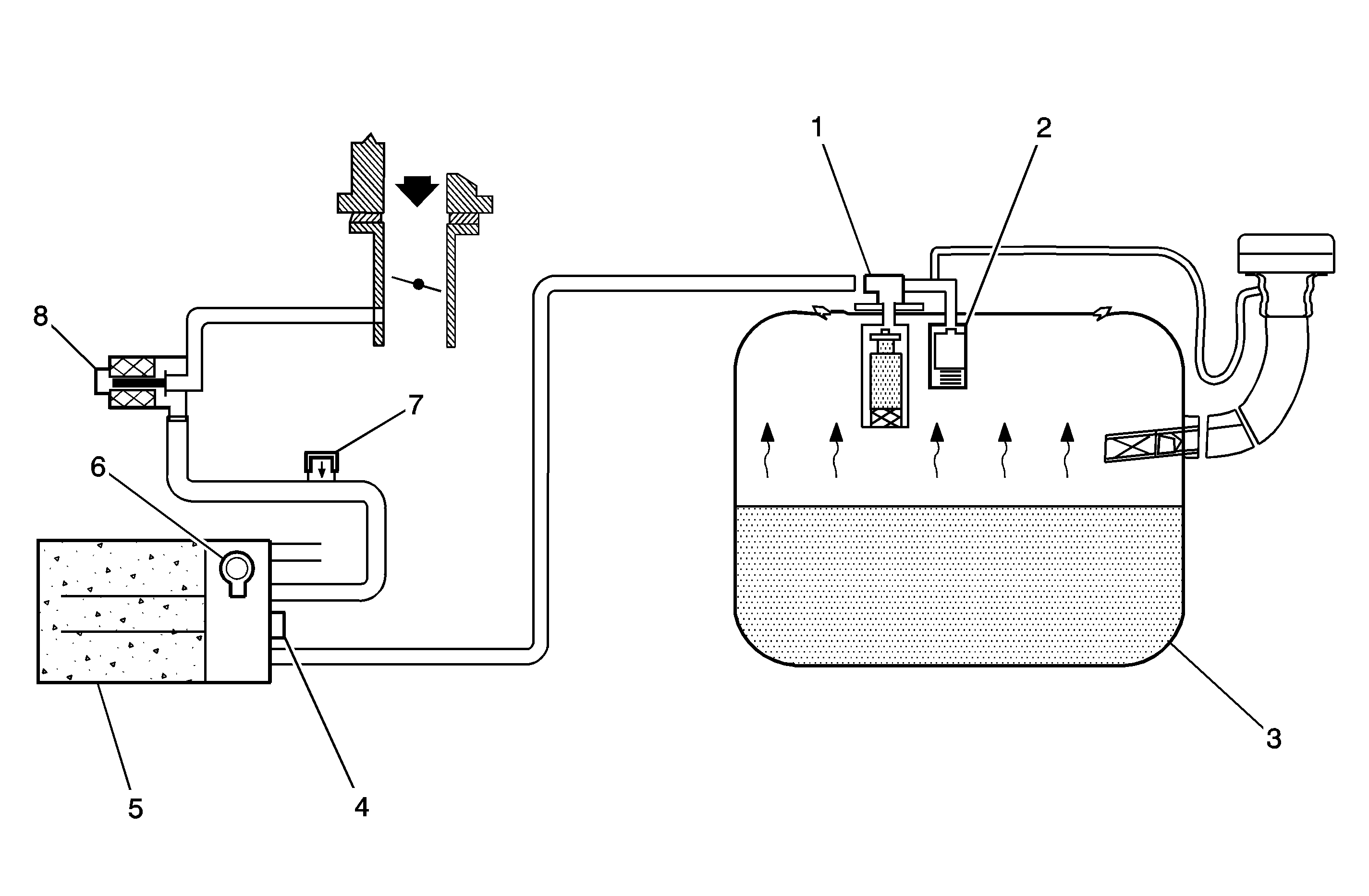
🢒 Evaporative Emissions Hose Routing Diagram
(1)
Fill Limit Vent Valve (FLVV)
(2)
Grade Vent Valve
(3)
Fuel Tank
(4)
Fuel Tank Pressure (FTP) Sensor
(5)
Evaporative Emission (EVAP) Canister
(6)
EVAP Vent Solenoid Valve
(7)
EVAP Service Port
(8)
EVAP Purge Solenoid Valve