GM Service Manual Online
For 1990-2009 cars only

Object Number: 1544862  Size: MF

Callout

Component Name

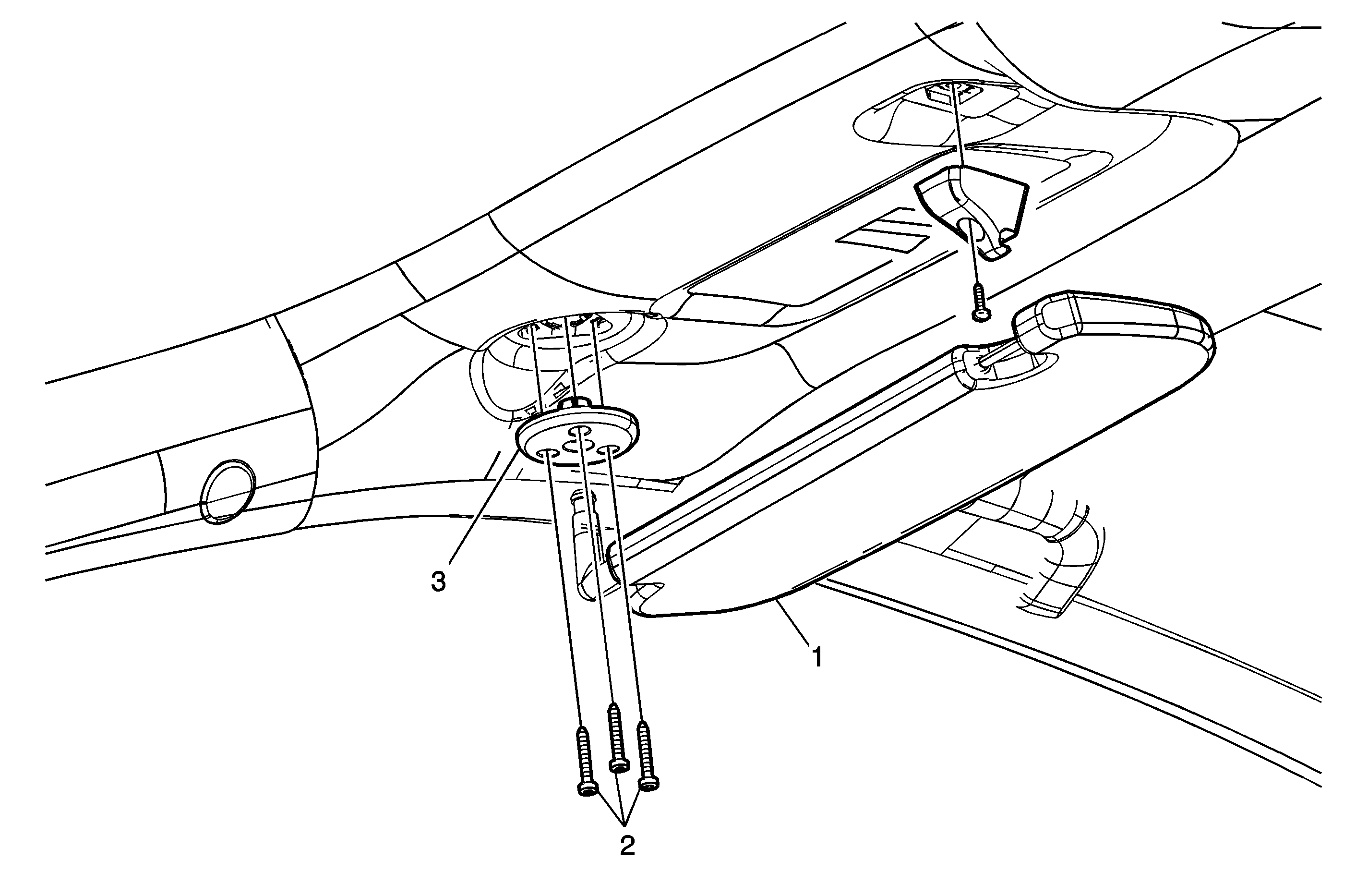
1

Sunshade Assembly

2

Sunshade Support Screw

Notice: Refer to Fastener Notice in the Preface section.

Tighten
6 N·m (53 lb in)

3

Sunshade Support Bezel