GM Service Manual Online
For 1990-2009 cars only

Object Number: 1655524  Size: SF

Callout

Component Name

Fastener Tightening Specifications: Refer to Fastener Tightening Specifications.

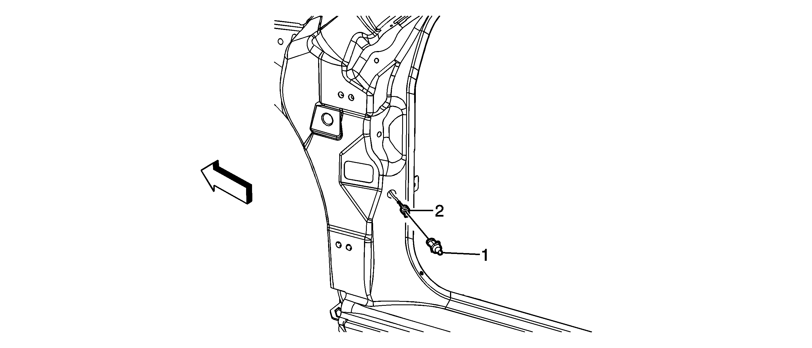
1

Door Jamb Switch Front

Tip
Use a small flat-bladed tool to assist in the removal of the front door jamb switch.

2

Door Jamb Switch Electrical Harness Connector