GM Service Manual Online
For 1990-2009 cars only

Tail Lamp Assembly and /or Backup, Sidemarker, Stop, Turn Signal Bulb Replacement Chevy Coupe


Object Number: 1549240  Size: LF

Callout

Component Name

Notice: Refer to Fastener Notice in the Preface section.

Fastener Tightening Specifications: Refer to Fastener Tightening Specifications .

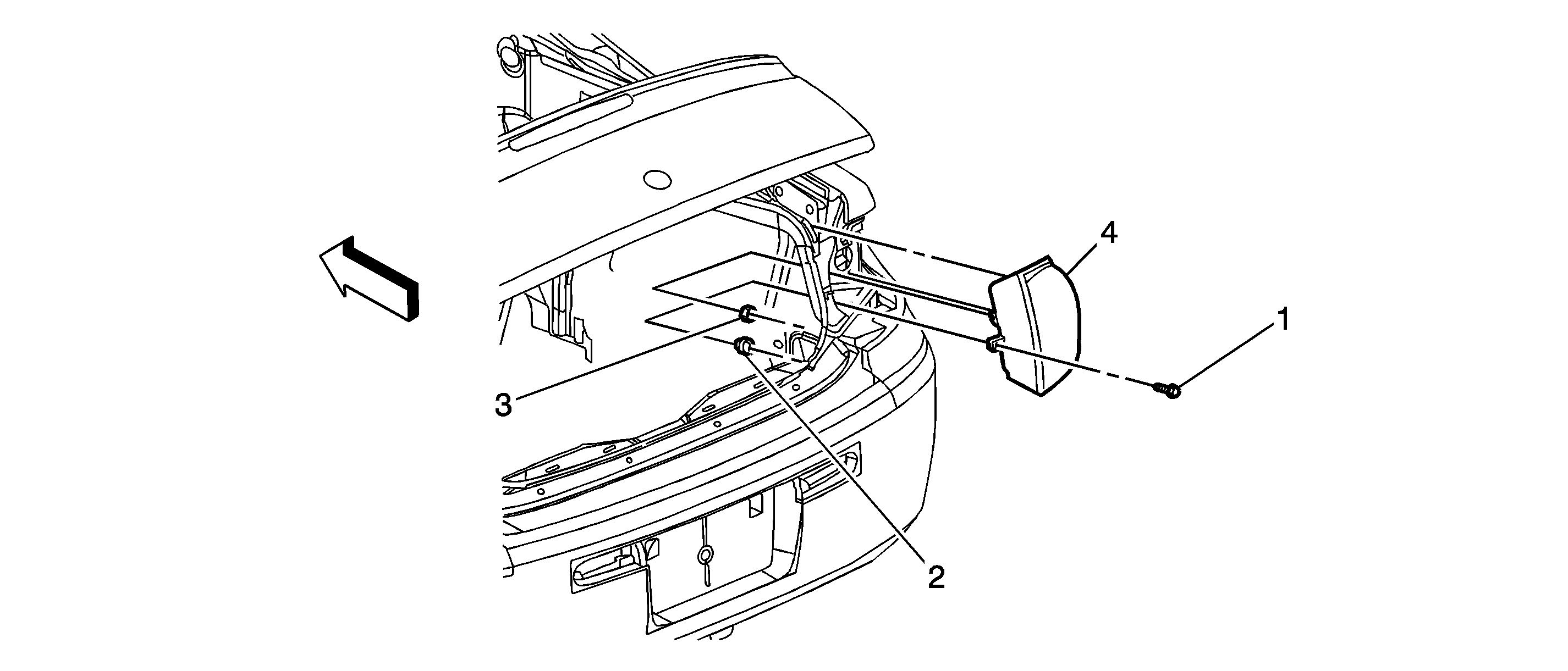
Backup Lamp Assembly Replacement

1

Cover, Backup Lamp

Tip
Press the tab on the cover to remove from the decklid.

2

Nut, Backup Lamp (Qty: 3)

Tip
If only replacing the bulb, turn the bulb socket assembly and pull out of the lamp assembly. This can be done from inside of the rear compartment lid, without removing the lamp from the vehicle.

Tighten
10 N·m (89 lb in)

3

Lamp Assembly, Backup

Tip
Disconnect the electrical connector.

Tail Lamp Assembly Replacement

4

Nut, Tail Lamp (Qty: 3)

Tip
If only replacing the bulb, turn the bulb socket assembly and pull out of the lamp assembly. This can be done from inside of the rear compartment, without removing the lamp assembly.

Tighten
10 N·m (89 lb in)

5

Lamp, Tail

Tip
Disconnect the electrical connector to remove the lamp from the quarter panel.

Side Marker Lamp Assembly Replacement

6

Screw, Side Marker (Qty: 1)

Tighten
2 N·m (18 lb in)

7

Lamp, Side Marker

Tip
Disconnect the electrical connector to remove the lamp from the fascia.

Tail Lamp Assembly and /or Backup, Sidemarker, Stop, Turn Signal Bulb Replacement Chevy/Pontiac Sedan


Object Number: 1549227  Size: LF

Callout

Component Name

Tail Lamp Assembly Replacement

1

Tail Lamp Nut (Qty: 2)

Notice: Refer to Fastener Notice in the Preface section.

Tighten
10 N·m (89 lb in)

Tip
If servicing the bulbs, remove the lamp from the vehicle.

2

Tail Lamp Bolt (Qty: 2)

Tighten
10 N·m (89 lb in)

3

Tail Lamp

Tip

    • Pull the lamp from the pocket.
    • Disconnect the electrical connector.

Tail Lamp Assembly and /or Backup, Sidemarker, Stop, Turn Signal Bulb Replacement Chevy Export


Object Number: 1655516  Size: SF

Callout

Component Name

Notice: Refer to Fastener Notice in the Preface section.

Fastener Tightening Specifications: Refer to Fastener Tightening Specifications .

Tail Lamp Assembly Replacement

1

Tail Lamp Bolt

Tip

    • Remove the nut from inside the rear compartment.
    • If only servicing the bulbs, turn the bulb/socket and pull out of the lamp assembly. This can be done from inside of the rear compartment, without removing the lamp from the vehicle.

2

Tail Lamp Nut

Tighten
10 N·m (89 lb in)

3

Tail Lamp Nut

Tighten
10 N·m (89 lb in)

4

Tail Lamp Assembly

Tip
Pull the lamp from the pocket. Disconnect the electrical connector.