GM Service Manual Online
For 1990-2009 cars only

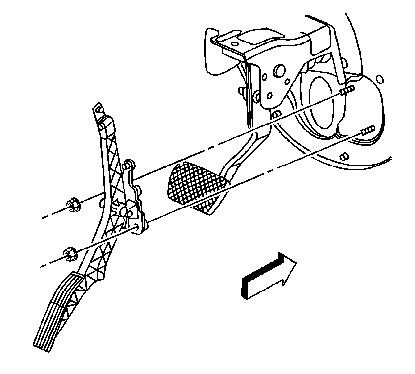
    Object Number: 878828  Size: SH
  1. Remove the accelerator pedal retaining nuts. Move the pedal aside.
  2. Notice: Proper stoplamp switch adjustment is essential. Improper stoplamp switch adjustment may cause brake drag, heat buildup and excessive brake lining wear.


    Object Number: 877870  Size: SH
  3. With the brake pedal fully released, insert the stop lamp switch into the brake pedal bracket until the switch plunge is fully depressed into the barrel.
  4. Twist the switch clockwise until the travel stop has been reached.

  5. Object Number: 738588  Size: SH
  6. The plunger should extend out of the barrel  (1) of the switch approximately 1.0 mm (0.04 in).
  7. Notice: Refer to Fastener Notice in the Preface section.


    Object Number: 878828  Size: SH
  8. Install the accelerator pedal to the dash panel. Install the retaining nuts
  9. Tighten
    Tighten the accelerator pedal retaining nuts to 10 N·m (89 lb in)

  10. Inspect the stop lamps for proper operation.