GM Service Manual Online
For 1990-2009 cars only
Connector 1: Clutch Pedal Position (CPP) Switch
Connector 2: Vehicle Speed Sensor (VSS)

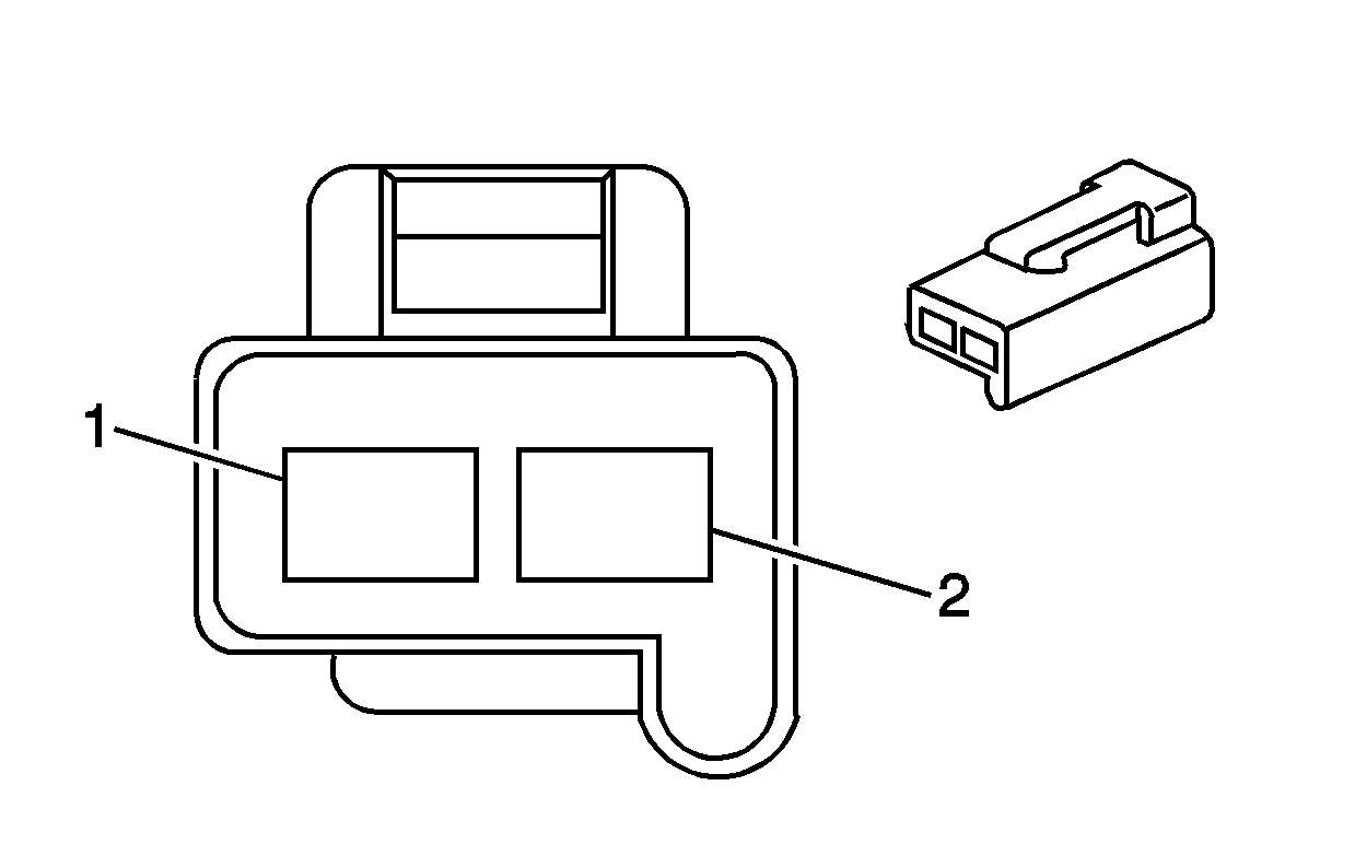
Clutch Pedal Position (CPP) Switch


Object Number: 1504708  Size: CH

Connector Part Information

  • OEM: 12041433
  • Service: --
  • Description: 2-Way F Metri-Pack 280 Series (L-GY)

Terminal Part Information

  • Terminal/Tray: --
  • Core/Insulation Crimp: --
  • Release Tool/Test Probe: --

Clutch Pedal Position (CPP) Switch

Pin

Wire Color

Circuit No.

Function

1

PK

339

Ignition 1 Voltage

2

BN/WH

379

CPP Switch Signal

Vehicle Speed Sensor (VSS)


Object Number: 537107  Size: CH

Connector Part Information

  • OEM: 12052644
  • Service: --
  • Description: 2-Way F Metri-Pack 150 Series Sealed (GY)

Terminal Part Information

  • Terminal/Tray: --
  • Core/Insulation Crimp: --
  • Release Tool/Test Probe: --

Vehicle Speed Sensor (VSS)

Pin

Wire Color

Circuit No.

Function

A

PU

401

VSS Low Signal

B

YE

400

VSS High Signal