GM Service Manual Online
For 1990-2009 cars only
Connector 1: Accelerator Pedal Position (APP) Sensor
Connector 2: Barometric Pressure Sensor
Connector 3: Camshaft Position (CMP) Sensor
Connector 4: Crankshaft Position (CKP) Sensor
Connector 5: Engine Coolant Temperature (ECT) Sensor
Connector 6: Evaporative Emission (EVAP) Canister Purge Solenoid Valve
Connector 7: Evaporative Emissions (EVAP) Canister Vent Solenoid Valve
Connector 8: Fuel Injector 1
Connector 9: Fuel Injector 2
Connector 10: Fuel Injector 3
Connector 11: Fuel Injector 4
Connector 12: Fuel Pump and Sender Assembly
Connector 13: Fuel Tank Pressure (FTP) Sensor
Connector 14: Heated Oxygen Sensor (HO2S) 1
Connector 15: Heated Oxygen Sensor (HO2S) 2
Connector 16: Ignition Coil/Module 1
Connector 17: Ignition Coil/Module 2
Connector 18: Ignition Coil/Module 3
Connector 19: Ignition Coil/Module 4
Connector 20: Knock Sensor (KS)
Connector 21: Manifold Absolute Pressure (MAP) Sensor
Connector 22: Mass Air Flow (MAF)/Intake Air Temperature (IAT) Sensor
Connector 23: Supercharger Intercooler Coolant Pump
Connector 24: Super Charge Inlet Pressure (SCIP) Sensor
Connector 25: Supercharger Boost Gage
Connector 26: Supercharger Bypass Valve Solenoid
Connector 27: Throttle Actuator Control (TAC) Module

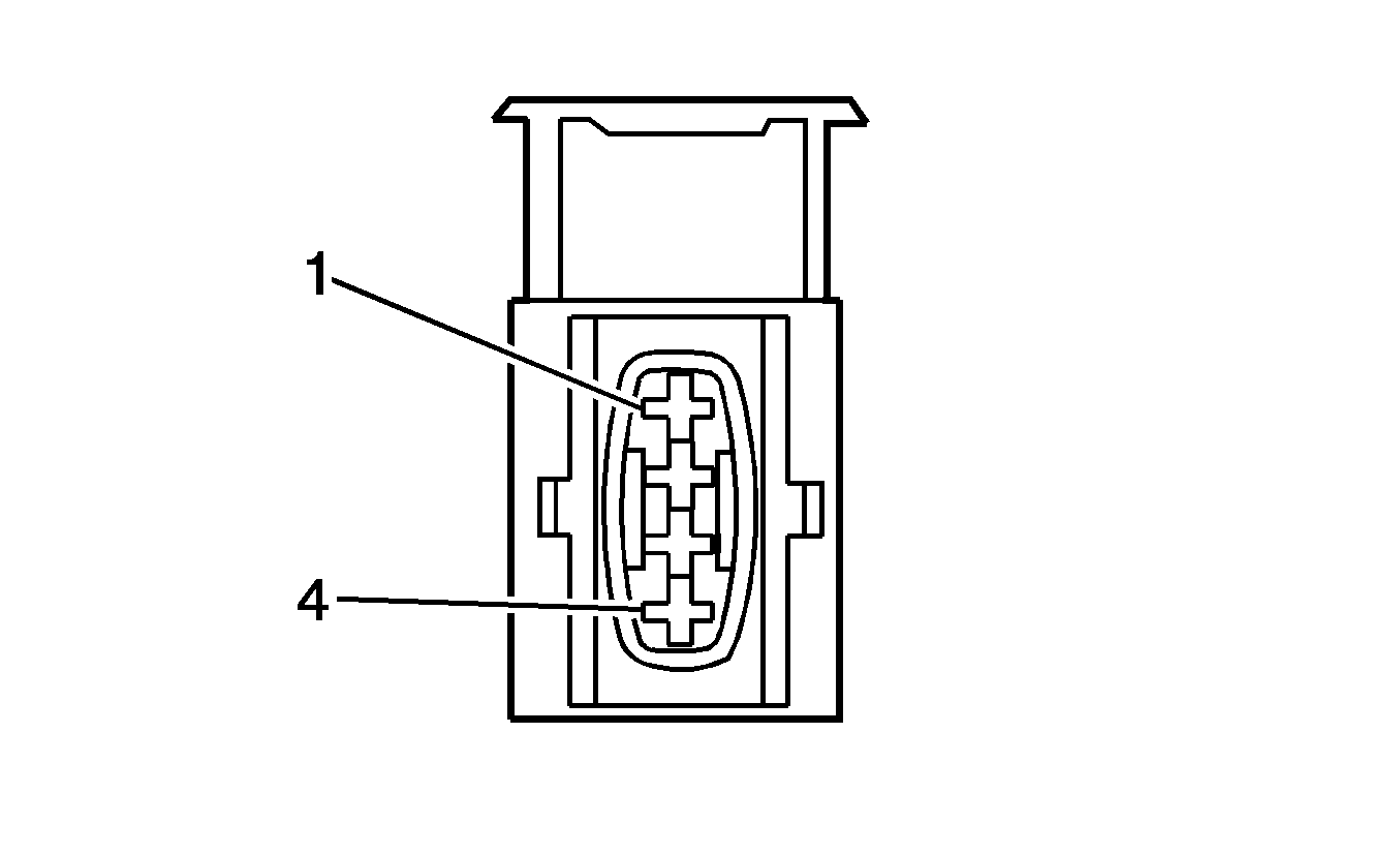
Accelerator Pedal Position (APP) Sensor


Object Number: 646396  Size: CH

Connector Part Information

  • OEM: 15326833
  • Service: 15326833
  • Description: 6-Way M GT 150 Series Sealed (BK)

Terminal Part Information

  • Terminal/Tray: 15326269/19
  • Core/Insulation Crimp: E/4
  • Release Tool/Test Probe: 15315247/J-35616-3 (GY)

Accelerator Pedal Position (APP) Sensor

Pin

Wire Color

Circuit No.

Function

A

TN

1274

5-Volt Reference-1

B

L-BU

1162

APP Sensor 2 Signal

C

PU

1272

Low Reference

D

BN

1271

Low Reference

E

D-BU

1161

APP Sensor 1 Signal

F

WH/BK

1164

5-Volt Reference-2

Barometric Pressure Sensor


Object Number: 684840  Size: CH

Connector Part Information

  • OEM: 12129946
  • Service: 88987997
  • Description: 3-Way F Metri-Pack 150 Series Sealed (GY)

Terminal Part Information

  • Terminal/Tray: 12048074/2
  • Core/Insulation Crimp: E/1
  • Release Tool/Test Probe: 12094429/J-35616-2A (GY)

Barometric Pressure Sensor

Pin

Wire Color

Circuit No.

Function

A

OG/BK

6014

Low Reference

B

GY/BK

433

BARO Sensor Signal

C

WH/BK

2932

5-Volt Reference-1

Camshaft Position (CMP) Sensor


Object Number: 1400090  Size: CH

Connector Part Information

  • OEM: 15336029
  • Service: 88987923
  • Description: 3-Way F GT 150 Series Sealed (BK)

Terminal Part Information

  • Terminal/Tray: 15326267/19
  • Core/Insulation Crimp: E/4
  • Release Tool/Test Probe: 15315247/J-35616-2A (GY)

Camshaft Position (CMP) Sensor

Pin

Wire Color

Circuit No.

Function

1

GY

596

5-Volt Reference-1

2

BN/WH

633

CMP Sensor Signal

3

PK/BK

632

Low Reference

Crankshaft Position (CKP) Sensor


Object Number: 666646  Size: CH

Connector Part Information

  • OEM: 15326806
  • Service: 15306166
  • Description: 2-Way F Timer JR-Timer Sealed (BK)

Terminal Part Information

  • Terminal/Tray: See Terminal Repair Kit
  • Core/Insulation Crimp: See Terminal Repair Kit
  • Release Tool/Test Probe: See Terminal Repair Kit

Crankshaft Position (CKP) Sensor

Pin

Wire Color

Circuit No.

Function

1

PU

574

Low Reference

2

YE

573

CKP Sensor Signal

Engine Coolant Temperature (ECT) Sensor


Object Number: 666646  Size: CH

Connector Part Information

  • OEM: 15363766
  • Service: 88953309
  • Description: 2-Way F Timer JR-Power Sealed (BK)

Terminal Part Information

  • Terminal/Tray: 4-964286-1/16
  • Core/Insulation Crimp: E/1
  • Release Tool/Test Probe: 12093647/J-35616-4A (PU)

Engine Coolant Temperature (ECT) Sensor

Pin

Wire Color

Circuit No.

Function

1

BK

2761

Low Reference

2

YE

410

ECT Sensor Signal

Evaporative Emission (EVAP) Canister Purge Solenoid Valve


Object Number: 684795  Size: CH

Connector Part Information

  • OEM: 12052643
  • Service: 12101858
  • Description: 2-Way F Metri-Pack 150 Series Sealed (RD)

Terminal Part Information

  • Terminal/Tray: 12048074/2
  • Core/Insulation Crimp: E/1
  • Release Tool/Test Probe: 12094429/J-35616-2A (GY)

Evaporative Emission (EVAP) Canister Purge Solenoid Valve

Pin

Wire Color

Circuit No.

Function

A

PK/WH

5291

Ignition 1 Voltage

B

D-GN/WH

428

EVAP Canister Purge Solenoid Control

Evaporative Emissions (EVAP) Canister Vent Solenoid Valve


Object Number: 684795  Size: CH

Connector Part Information

  • OEM: 12052643
  • Service: 12101858
  • Description: 2-Way F Metri-Pack 150 Series Sealed (RD)

Terminal Part Information

  • Terminal/Tray: See Terminal Repair Kit
  • Core/Insulation Crimp: See Terminal Repair Kit
  • Release Tool/Test Probe: See Terminal Repair Kit

Evaporative Emissions (EVAP) Canister Vent Solenoid Valve

Pin

Wire Color

Circuit No.

Function

A

RD/WH

1840

Battery Positive Voltage

B

WH

1310

EVAP Canister Vent Solenoid Control

Fuel Injector 1


Object Number: 366123  Size: CH

Connector Part Information

  • OEM: 15326181
  • Service: 15306160
  • Description: 2-Way F Micro-Pack 064 Series Sealed (BK)

Terminal Part Information

  • Terminal/Tray: See Terminal Repair Kit
  • Core/Insulation Crimp: See Terminal Repair Kit
  • Release Tool/Test Probe: See Terminal Repair Kit

Fuel Injector 1

Pin

Wire Color

Circuit No.

Function

A

PK/BK

5293

Ignition 1 Voltage

B

BK

1744

Fuel Injector 1 Control

Fuel Injector 2


Object Number: 366123  Size: CH

Connector Part Information

  • OEM: 15326181
  • Service: 15306160
  • Description: 2-Way F Micro-Pack 064 Series Sealed (BK)

Terminal Part Information

  • Terminal/Tray: See Terminal Repair Kit
  • Core/Insulation Crimp: See Terminal Repair Kit
  • Release Tool/Test Probe: See Terminal Repair Kit

Fuel Injector 2

Pin

Wire Color

Circuit No.

Function

A

PK/BK

5293

Ignition 1 Voltage

B

L-BU/BK

844

Fuel Injector 2 Control

Fuel Injector 3


Object Number: 366123  Size: CH

Connector Part Information

  • OEM: 15326181
  • Service: 15306160
  • Description: 2-Way F Micro-Pack 064 Series Sealed (BK)

Terminal Part Information

  • Terminal/Tray: See Terminal Repair Kit
  • Core/Insulation Crimp: See Terminal Repair Kit
  • Release Tool/Test Probe: See Terminal Repair Kit

Fuel Injector 3

Pin

Wire Color

Circuit No.

Function

A

PK/BK

5293

Ignition 1 Voltage

B

PK/BK

1746

Fuel Injector 3 Control

Fuel Injector 4


Object Number: 366123  Size: CH

Connector Part Information

  • OEM: 15326181
  • Service: 15306160
  • Description: 2-Way F Micro-Pack 064 Series Sealed (BK)

Terminal Part Information

  • Terminal/Tray: See Terminal Repair Kit
  • Core/Insulation Crimp: See Terminal Repair Kit
  • Release Tool/Test Probe: See Terminal Repair Kit

Fuel Injector 4

Pin

Wire Color

Circuit No.

Function

A

PK/BK

5293

Ignition 1 Voltage

B

L-GN/BK

1745

Fuel Injector 4 Control

Fuel Pump and Sender Assembly


Object Number: 1464949  Size: CH

Connector Part Information

  • OEM: 776127-2
  • Service: See Catalog
  • Description: 4-Way F APEX 2.8 MM (GY)

Terminal Part Information

  • Terminal/Tray: See Terminal Repair Kit
  • Core/Insulation Crimp: See Terminal Repair Kit
  • Release Tool/Test Probe: See Terminal Repair Kit

Fuel Pump and Sender Assembly

Pin

Wire Color

Circuit No.

Function

1

PK/BK

120

Fuel Pump Supply Voltage

2

YE/WH

1589

Fuel Level Sensor Signal

3

BK

850

Ground

4

PK/OG

510

Low Reference

Fuel Tank Pressure (FTP) Sensor


Object Number: 516611  Size: CH

Connector Part Information

  • OEM: 12059595
  • Service: 12085495
  • Description: 3-Way Metri-Pack 150 Series Sealed (BK)

Terminal Part Information

  • Terminal/Tray: See Terminal Repair Kit
  • Core/Insulation Crimp: See Terminal Repair Kit
  • Release Tool/Test Probe: See Terminal Repair Kit

Fuel Tank Pressure (FTP) Sensor

Pin

Wire Color

Circuit No.

Function

A

RD/PK

2759

Low Reference

B

GY/RD

890

Fuel Tank Pressure Sensor Signal

C

BN/WH

2709

5-Volt Reference-1

Heated Oxygen Sensor (HO2S) 1


Object Number: 474210  Size: CH

Connector Part Information

  • OEM: 12176897
  • Service: 15305903
  • Description: 4-Way F Metri-Pack 150 Series Sealed (L-GY)

Terminal Part Information

  • Terminal/Tray: See Terminal Repair Kit
  • Core/Insulation Crimp: See Terminal Repair Kit
  • Release Tool/Test Probe: See Terminal Repair Kit
  • Pins: D
  • Terminal/Tray: 12048074/2
  • Core/Insulation Crimp: E/1
  • Release Tool/Test Probe: 12094429/J-35616-2A (GY)

Heated Oxygen Sensor (HO2S) 1

Pin

Wire Color

Circuit No.

Function

A

TN

1667

HO2S Low Signal Bank 2 Sensor (1)

B

PU

1666

HO2S High Signal Bank 2 Sensor (1)

C

D-GN

676

HO2S Heater High Control Bank 1 Sensor (1)

D

PK/BK

5291

Ignition 1 Voltage

Heated Oxygen Sensor (HO2S) 2


Object Number: 280761  Size: CH

Connector Part Information

  • OEM: 12160825
  • Service: 12167158
  • Description: 4-Way M Metri-Pack 150 Series Sealed (BK)

Terminal Part Information

  • Terminal/Tray: 12045773/2
  • Core/Insulation Crimp: E/1
  • Release Tool/Test Probe: 12094429/J-35616-3 (GY)

Heated Oxygen Sensor (HO2S) 2

Pin

Wire Color

Circuit No.

Function

A

TN/WH

1669

HO2S Low Signal Bank 1 Sensor (2)

B

PU/WH

1668

HO2S High Signal Bank 1 Sensor (2)

C

BK/WH

1423

HO2S Heater Low Control Bank 1 Sensor (2)

D

PK/BK

5291

Ignition 1 Voltage

Ignition Coil/Module 1


Object Number: 1384254  Size: CH

Connector Part Information

  • OEM: 1928403440
  • Service: 88988572
  • Description: 4-Way F Kompakt (BK)

Terminal Part Information

  • Terminal/Tray: See Terminal Repair Kit
  • Core/Insulation Crimp: See Terminal Repair Kit
  • Release Tool/Test Probe: See Terminal Repair Kit

Ignition Coil/Module 1

Pin

Wire Color

Circuit No.

Function

A

PK/BK

5292

Ignition 1 Voltage

B

TN/WH

6405

IC 1 Control

C

VT

6413

Low Reference

D

BK

1350

Ground

Ignition Coil/Module 2


Object Number: 1384254  Size: CH

Connector Part Information

  • OEM: 1928403440
  • Service: 88988572
  • Description: 4-Way F Kompakt (BK)

Terminal Part Information

  • Terminal/Tray: See Terminal Repair Kit
  • Core/Insulation Crimp: See Terminal Repair Kit
  • Release Tool/Test Probe: See Terminal Repair Kit

Ignition Coil/Module 2

Pin

Wire Color

Circuit No.

Function

A

PK/BK

5292

Ignition 1 Voltage

B

L-BU/WH

6408

IC 2 Control

C

VT

6413

Low Reference

D

BK

1350

Ground

Ignition Coil/Module 3


Object Number: 1384254  Size: CH

Connector Part Information

  • OEM: 1928403440
  • Service: 88988572
  • Description: 4-Way F Kompakt (BK)

Terminal Part Information

  • Terminal/Tray: See Terminal Repair Kit
  • Core/Insulation Crimp: See Terminal Repair Kit
  • Release Tool/Test Probe: See Terminal Repair Kit

Ignition Coil/Module 3

Pin

Wire Color

Circuit No.

Function

A

PK/BK

5292

Ignition 1 Voltage

B

D-BU/WH

6406

IC 3 Control

C

VT

6413

Low Reference

D

BK

1350

Ground

Ignition Coil/Module 4


Object Number: 1384254  Size: CH

Connector Part Information

  • OEM: 1928403440
  • Service: 88988572
  • Description: 4-Way F Kompakt (BK)

Terminal Part Information

  • Terminal/Tray: See Terminal Repair Kit
  • Core/Insulation Crimp: See Terminal Repair Kit
  • Release Tool/Test Probe: See Terminal Repair Kit

Ignition Coil/Module 4

Pin

Wire Color

Circuit No.

Function

A

PK/BK

5292

Ignition 1 Voltage

B

D-GN/WH

6407

IC 4 Control

C

VT

6413

Low Reference

D

BK

1350

Ground

Knock Sensor (KS)


Object Number: 684799  Size: CH

Connector Part Information

  • OEM: 12077900
  • Service: 12116247
  • Description: 2-Way F Metri-Pack 280 Series Sealed (BK)

Terminal Part Information

  • Terminal/Tray: 12077411/2
  • Core/Insulation Crimp: 2/5
  • Release Tool/Test Probe: 12094430/J-35616-4A (PU)

Knock Sensor (KS)

Pin

Wire Color

Circuit No.

Function

A

D-BU

496

Knock Sensor (1) Signal

B

GY

1716

Low Reference

Manifold Absolute Pressure (MAP) Sensor


Object Number: 1381341  Size: CH

Connector Part Information

  • OEM: 10763258
  • Service: 88988320
  • Description: 4-Way F Receptacle 2.8 Series Sealed (BK)

Terminal Part Information

  • Terminal/Tray: 1928498060/16
  • Core/Insulation Crimp: E/1
  • Release Tool/Test Probe: J-38125-561/J-35616- 4A (PU)

Manifold Absolute Pressure (MAP) Sensor

Pin

Wire Color

Circuit No.

Function

1

D-GN/WH

6292

Low Reference

2

L-BU

6118

IAT 2 Sensor Signal

3

D-GN

6291

5 Volt Reference-2

4

GY

6337

MAP Sensor Signal

Mass Air Flow (MAF)/Intake Air Temperature (IAT) Sensor


Object Number: 647974  Size: CH

Connector Part Information

  • OEM: 15326822
  • Service: 88987186
  • Description: 5-Way F GT 150 Series Sealed (BK)

Terminal Part Information

  • Terminal/Tray: 12191819/8
  • Core/Insulation Crimp: E/A
  • Release Tool/Test Probe: 15315247/J-35616-2A (GY)

Mass Air Flow (MAF)/Intake Air Temperature (IAT) Sensor

Pin

Wire Color

Circuit No.

Function

A

YE

492

MAF Sensor Signal

B

BK/WH

451

Ground

C

PK/BK

5291

Ignition 1 Voltage

D

BK

2760

Low Reference

E

TN

472

IAT Sensor Signal

Supercharger Intercooler Coolant Pump


Object Number: 1405759  Size: CH

Connector Part Information

  • OEM: 12131678
  • Service: 89046833
  • Description: 2-Way F Mini Timer Sealed (BK)

Terminal Part Information

  • Terminal/Tray: See Terminal Repair Kit
  • Core/Insulation Crimp: See Terminal Repair Kit
  • Release Tool/Test Probe: See Terminal Repair Kit

Supercharger Intercooler Coolant Pump

Pin

Wire Color

Circuit No.

Function

1

BK

2022

Coolant Pump Control

2

BK/WH

451

Ground

Super Charge Inlet Pressure (SCIP) Sensor


Object Number: 684840  Size: CH

Connector Part Information

  • OEM: 12129946
  • Service: 88987997
  • Description: 3-Way F Metri-Pack 150 Series Sealed (GY)

Terminal Part Information

  • Terminal/Tray: 12048074/2
  • Core/Insulation Crimp: E/1
  • Release Tool/Test Probe: 12094429/J-35616-2A (GY)

Super Charge Inlet Pressure (SCIP) Sensor

Pin

Wire Color

Circuit No.

Function

A

OG/BK

469

Low Reference

B

L-GN

432

SCIP Sensor Signal

C

GY

2704

5-Volt Reference-1

Supercharger Boost Gage


Object Number: 39665  Size: CH

Connector Part Information

  • OEM: 12089248
  • Service: 12102900
  • Description: 4-Way F Metri-Pack 150 Series (NA)

Terminal Part Information

  • Terminal/Tray: 12064971/5
  • Core/Insulation Crimp: E/C
  • Release Tool/Test Probe: 12094429/J-35616-2A (GY)

Supercharger Boost Gage

Pin

Wire Color

Circuit No.

Function

A

PK

439

Ignition 1 Voltage

B

GY

8

Instrument Panel Lamp Supply Voltage

C

TN

891

Boost Gage Signal

D

BK/WH

651

Ground

Supercharger Bypass Valve Solenoid


Object Number: 635009  Size: CH

Connector Part Information

  • OEM: 12052641
  • Service: 12102747
  • Description: 2-Way F Metri-Pack 150 Series Sealed (BK)

Terminal Part Information

  • Terminal/Tray: 12048074/2
  • Core/Insulation Crimp: E/1
  • Release Tool/Test Probe: 12094429/J-35616-2A (GY)

Supercharger Bypass Valve Solenoid

Pin

Wire Color

Circuit No.

Function

A

PK

1039

Ignition 1 Voltage

B

GY

1724

Boost Control Solenoid Control

Throttle Actuator Control (TAC) Module


Object Number: 831368  Size: CH

Connector Part Information

  • OEM: 15326836
  • Service: 88986255
  • Description: 8-Way F GT 150 Series Sealed (BK)

Terminal Part Information

  • Terminal/Tray: 12191819/8
  • Core/Insulation Crimp: E/A
  • Release Tool/Test Probe: 15315247/J-35616-2A (GY)

Throttle Actuator Control (TAC) Module

Pin

Wire Color

Circuit No.

Function

A

D-GN

485

TP Sensor 1 Signal

B

L-BU/BK

1688

5-Volt Reference-2

C

BK

2752

Low Reference

D

PU

486

TP Sensor 2 Signal

E

YE

581

TAC Motor Control - 1

F

BN

582

TAC Motor Control - 2

G

GY

2701

5-Volt Reference-1

H

BK/WH

1704

Low Reference