GM Service Manual Online
For 1990-2009 cars only

Front Case Half


    Object Number: 765978  Size: SH
  1. Clean the front case half in cleaning solvent and air dry.
  2. Notice: Refer to Machined Surface Damage Notice in the Preface section.

  3. Remove the sealer from the case sealing surfaces.
  4. Inspect the front output shaft front bearing (6) for:
  5. • Roughness
    • Brinelling
    • Pitting
  6. Replace the front output shaft front bearing if any of the above conditions are found. Refer to Transfer Case Disassemble and Transfer Case Assemble .
  7. Inspect the case for spun bearings.
  8. Replace the case if a bearing has spun.
  9. Inspect the case for being broken or cracked.
  10. Replace the case if it is broken or cracked.
  11. Inspect the sealing surfaces (1) for damage.
  12. Repair small scratches or nicks with a soft stone.
  13. Inspect the front case to transmission case mounting surface for damage.
  14. Inspect the case threaded bolt holes (4) for damage.
  15. Repair any damaged threads.
  16. Inspect the transmission to transfer case studs (3) for damage.
  17. Replace any damaged studs.
  18. Inspect the retaining ring (5) of the annulus gear to ensure it is properly seated. Do not remove the retaining ring.
  19. Inspect the annulus gear (2) for the following:
  20. • Damage or wear
    • Chipped gear teeth
    • Debris embedded in the root of the teeth
  21. Replace the front case half if the annulus gear is damaged.

Rear Case Half


    Object Number: 765979  Size: SH
  1. Clean the rear case half in cleaning solvent and air dry.
  2. Notice: Refer to Machined Surface Damage Notice in the Preface section.

  3. Remove the sealer from the case sealing surfaces.
  4. Inspect the front output shaft rear bearing (5) for the following:
  5. • Roughness
    • Brinelling
    • Pitting
  6. Replace the front output shaft rear bearing if any of the above conditions are found. Refer to Transfer Case Disassemble and Transfer Case Assemble .
  7. Inspect the rear output shaft bearing (6) for the following:
  8. • Roughness
    • Brinelling
    • Pitting
  9. Replace the rear output shaft bearing if any of the above conditions are found. Refer to Transfer Case Disassemble and Transfer Case Assemble .
  10. Inspect the case for spun bearings.
  11. Replace the case if a bearing has spun.
  12. Inspect the control actuator lever shaft bearing and seal (3) for the following:
  13. • Leakage
    • Roughness
    • Brinelling
    • Pitting
  14. Replace the control actuator lever shaft seal and bearing if any of the above conditions are found. Refer to Transfer Case Disassemble and Transfer Case Assemble .
  15. Inspect the case for being broken or cracked.
  16. Replace the case if it is broken or cracked.
  17. Inspect the sealing surfaces (1) for damage.
  18. Repair small scratches or nicks with a soft stone.
  19. Inspect the case threaded bolt holes for damage.
  20. Repair any damaged threads.
  21. Inspect the dowel pins (4) for being loose or missing.
  22. Repair or replace any damaged dowel pins.
  23. Inspect the oil pump bushing bore (7) for scoring or damage.
  24. Replace the case if the oil pump bushing bore is damaged.
  25. Inspect the clutch lever studs (2) for wear.
  26. Replace the case if the clutch lever studs are worn.

  27. Object Number: 765981  Size: SH
  28. Remove the oil pump suction pipe and the oil pump suction hose from the oil pump screen.
  29. Clean the pipe, hose, and screen in cleaning solvent and air dry.
  30. If the screen is embedded with debris, replace the screen.
  31. Inspect the hose for cracking or tears.
  32. Replace the hose if faulty.

Rear Extension


    Object Number: 765982  Size: SH
  1. Clean the rear extension in cleaning solvent and air dry.
  2. Notice: Refer to Machined Surface Damage Notice in the Preface section.

  3. Remove the sealer from the extension sealing surfaces (2).
  4. Inspect the extension for being broken or cracked.
  5. Replace the extension if it is broken or cracked.
  6. Inspect the sealing surfaces for damage.
  7. Repair small scratches or nicks with a soft stone.
  8. Inspect the dowel pins (3) for being loose or missing.
  9. Repair or replace a damaged dowel pin.
  10. Inspect the rear extension bushing (1) for scoring and excessive wear.
  11. Replace the rear extension bushing if damaged or worn. Refer to Transfer Case Disassemble and Transfer Case Assemble .

Rear Output Shaft


    Object Number: 765984  Size: SH
  1. Clean the rear output shaft in cleaning solvent.
  2. Clean the rear output shaft oil galleries (1) and air dry.
  3. Important: Do not attempt to smooth any roughness in the bearing journals or seal surfaces.

  4. Inspect the input gear thrust bearing surface (2) and the clutch housing bearing surface (3) for the following:
  5. • Scoring
    • Pitting
    • Brinelling
    • Excessive wear
  6. Inspect the rear output shaft splines (4) for damage or excessive wear. Witness marks at the location of the gears is normal.
  7. Replace the rear output shaft if any of the above conditions are found.

Clutch Components


    Object Number: 765985  Size: SH
  1. Do not clean the inner clutch discs (1) and outer clutch discs (2) in cleaning solvent.
  2. Inspect the clutch discs for the following:
  3. • Worn friction material
    • Grooved or scored friction material
    • Warped
    • Burnt
  4. Replace the clutch discs if any of the above conditions are found.

  5. Object Number: 765987  Size: SH
  6. Clean the clutch inner plate (1) and the clutch pressure plate bearing (2) in cleaning solvent and air dry.
  7. Inspect the pressure plate bearing for roughness and smooth movement.
  8. Replace the pressure plate bearing if damaged or worn.
  9. Inspect the clutch inner plate inner bushing for wear or damage.
  10. Inspect the clutch inner plate for wear.
  11. Replace the clutch inner plate if any of the above conditions are found.

  12. Object Number: 765988  Size: SH
  13. Clean the clutch housing, with the bearing, in cleaning solvent.
  14. Air dry and ensure all solvent is removed from the bearing.
  15. Inspect the bearing for wear or damage.
  16. Inspect the clutch housing disc teeth for excessive wear. Excessive wear can be identified by the steps in the teeth, which prevents the clutch disc from moving freely.
  17. Replace the clutch housing if the bearing is faulty or if the clutch disc teeth are worn. The bearing is not serviced separately.

  18. Object Number: 765989  Size: SH
  19. Clean the clutch hub in cleaning solvent and air dry.
  20. Inspect the inner splines of the clutch hub for wear or damage.
  21. Inspect the rear output shaft to the clutch inner hub for excessive looseness.
  22. Inspect the clutch hub teeth for excessive wear. Excessive wear can be identified by the steps in the teeth, which prevents the clutch disc from moving freely.
  23. Replace the clutch hub if any of the above conditions are found.

High/Low Planetary Carrier


    Object Number: 765990  Size: SH
  1. Clean the high/low planetary carrier in cleaning solvent. Do not disassemble the planetary carrier.
  2. Air dry and ensure all cleaning solvent is removed from the bearings in the planetary gears (3). Do not spin the planetary gears with compressed air.
  3. Inspect the planetary gears for chipped teeth.
  4. Inspect the planetary gears for debris embedded in the root of the teeth.
  5. Inspect for a washer (4) being on each side of the planetary gears.
  6. Inspect the low range teeth (1) for damage or excessive wear.
  7. Inspect the thrust washer surface (2) for scoring or excessive wear.
  8. Replace the high/low planetary carrier if any of the above conditions are found.
  9. Inspect the high/low planetary thrust washers for excessive wear or scoring.
  10. Replace the thrust washers if they are faulty.

Drive Chain and Sprockets


    Object Number: 765991  Size: SH
  1. Clean the drive chain (1), drive sprocket (3), and driven sprocket (2) in cleaning solvent and air dry.
  2. Inspect the drive chain (1) for the following:
  3. • Loose link pins
    • Binding or stiff links
    • Debris embedded in the links
    • Worn teeth surfaces
  4. Replace the chain if any of the above conditions are found.
  5. Inspect the driven sprocket (2) and the drive sprocket (3) for the following:
  6. • Chipped teeth
    • Excessively worn gear surfaces
    • Slight wear marks are normal.
    • Debris embedded in the root of the teeth
  7. Replace the sprocket if any of the above conditions are found. The chain and sprockets may be replaced separately.

Front Output Shaft


    Object Number: 765992  Size: SH
  1. Clean the front output shaft in cleaning solvent and air dry.
  2. Inspect the teeth on the speed sensor reluctor wheel (3) for damage.
  3. Replace the speed sensor reluctor wheel if damaged.
  4. Inspect the front output shaft seal surface (2) for wear or damage.
  5. Inspect the front output shaft splines (1) for damage.
  6. Replace the front output shaft if damaged.

Input Gear


    Object Number: 765994  Size: SH
  1. Clean the input gear, with thrust bearing, in cleaning solvent.
  2. Air dry and ensure all solvent is removed from the thrust bearing.
  3. Inspect the thrust bearing (1) for the following:
  4. • Pitted
    • Wear
    • Corrosion
  5. Replace the input gear thrust bearing if any of the above conditions are found. Refer to Transfer Case Disassemble and Transfer Case Assemble .
  6. Inspect the bore seal (2) for damage.
  7. Replace the bore seal if it is damaged. Refer to Transfer Case Disassemble and Transfer Case Assemble .
  8. Inspect the input gear engagement teeth (3) for chips.
  9. Inspect the input gear for broken or damaged planetary teeth (4).
  10. Inspect the input gear for debris embedded in the root of the teeth.
  11. Replace the input gear if any of the above conditions are found.

Shift System Components


    Object Number: 765996  Size: SH
  1. Clean the following shift system components in cleaning solvent and air dry:
  2. • The high/low shift fork (1)
    • The range sleeve (2)
    • The clutch lever (3)
    • The shift fork shaft and shift detent lever (4)
    • The control actuator lever shaft (5)
  3. Inspect the range sleeve for being chipped and for excessive worn teeth.
  4. Replace the range sleeve if the teeth are damaged or worn.

  5. Object Number: 766002  Size: SH
  6. Inspect the pads (2) on the shift fork for wear.
  7. Replace the shift fork if the pads are worn.
  8. Inspect the poppet (1) in the shift fork for proper operation.
  9. 6.1. Slide the shift fork on to the shift rail.
    6.2. Move the shift fork to engage the poppet into the groove.
    6.3. Move the shift fork in both directions to ensure the poppet will disengage from the groove.
  10. Replace the shift fork if the poppet is not operating properly.

  11. Object Number: 766004  Size: SH
  12. Inspect the clutch lever roller (1) for the following:
  13. • Wear
    • Rotates easily
  14. Inspect the clutch lever for worn wear pads (2).
  15. Inspect the clutch lever for wear at the pivot pin sockets (3).
  16. Replace the clutch lever if the above conditions are found.

  17. Object Number: 766006  Size: SH
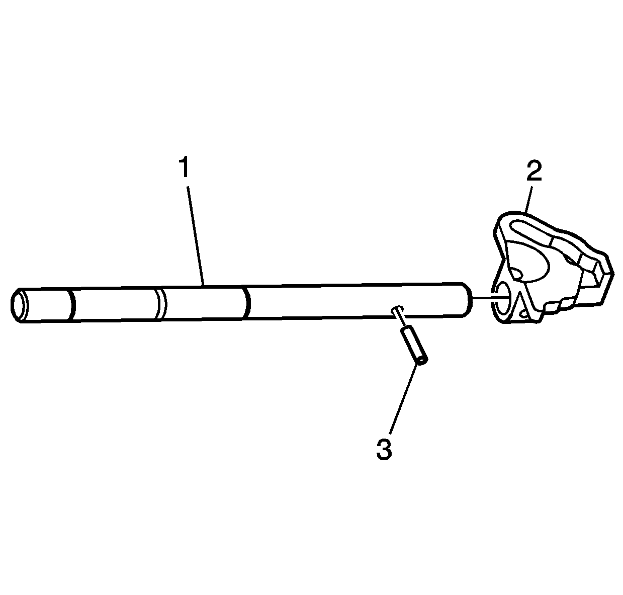
  18. Inspect the shift fork shaft at the shift fork poppet groove for damage or wear.
  19. Inspect the shift fork shaft (1) for being bent.
  20. Inspect the shift detent lever (2) for wear.
  21. Replace the shift rail or the shift detent lever if the above conditions are found. Install a new roll pin (3) if the shift detent lever is removed from the shift fork shaft.

  22. Object Number: 766008  Size: SH
  23. Inspect the roller (1) on the control actuator lever shaft for the following:
  24. • Wear
    • Rotates easily
  25. Inspect the bearing (2) and the seal surface on the control actuator lever shaft for the following:
  26. • Pitted
    • Wear
    • Corrosion
  27. Replace the control actuator lever shaft if any of the above conditions are found.