GM Service Manual Online
For 1990-2009 cars only

    Object Number: 1750055  Size: SH
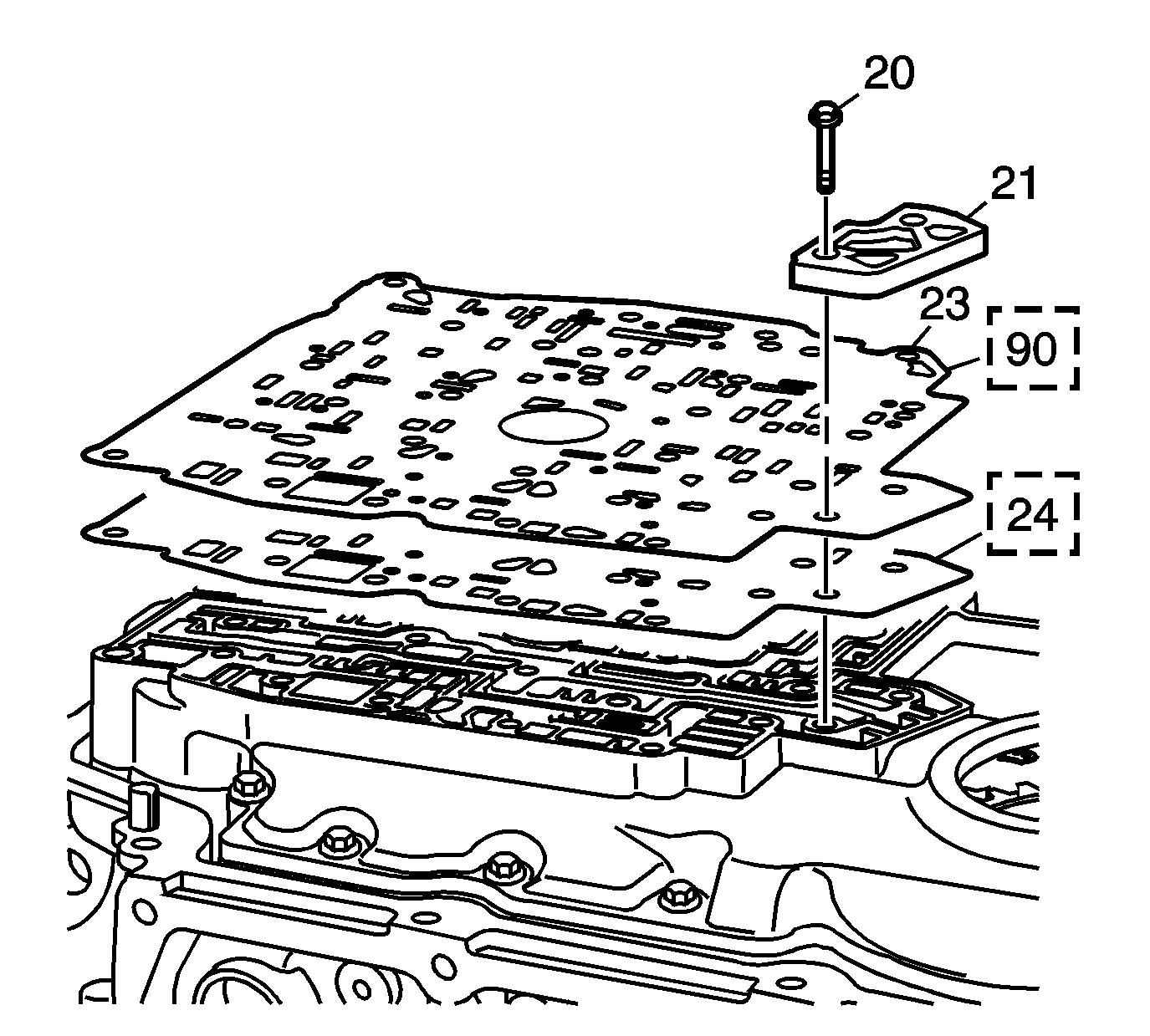
  1. Remove the 2 spacer plate support bolts (20).
  2. Remove the spacer plate support (21).
  3. Important: The Non-Electronic Range Select Mode 4T40-E/4T45-E has a different spacer plate than the 4T45-E Electronic Range Select Mode transmission.

  4. Remove the spacer plate (23) or spacer plate with bonded gaskets (90), some models.
  5. Remove and discard the spacer plate to channel plate gasket (24), some models.