GM Service Manual Online
For 1990-2009 cars only

The equipment you will need is located in the trunk.

Base Models

  1. Open the trunk. See Trunk .

  2. Object Number: 1537846  Size: B3
  3. Lift the trunk liner to access the spare tire and tools.

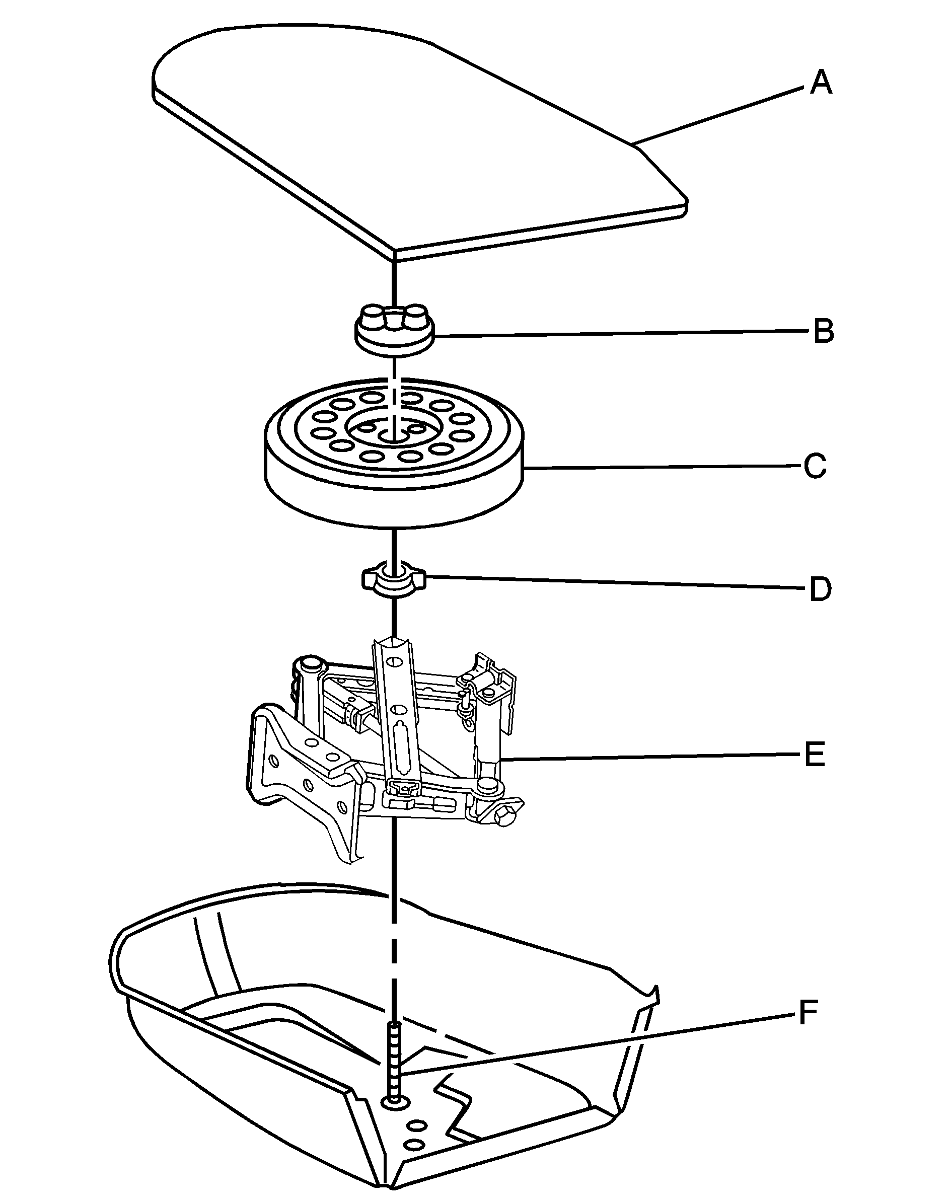
  4. Object Number: 1579727  Size: B5

      Cover

      Retainer

      Spare Tire

      Wing Nut

      Jack and Wheel Wrench

      Bolt

  5. Remove the retainer (B) that holds down the spare tire. See Compact Spare Tire for more information.
  6. Remove the spare tire (C) by gently pulling it up and out of the trunk.
  7. Remove the wing nut (D) that holds the jack and remove the jack and wheel wrench (E).

Uplevel Models

  1. Open the trunk. See Trunk .

  2. Object Number: 1537845  Size: B3
  3. Lift the trunk liner to access the spare tire and tools.

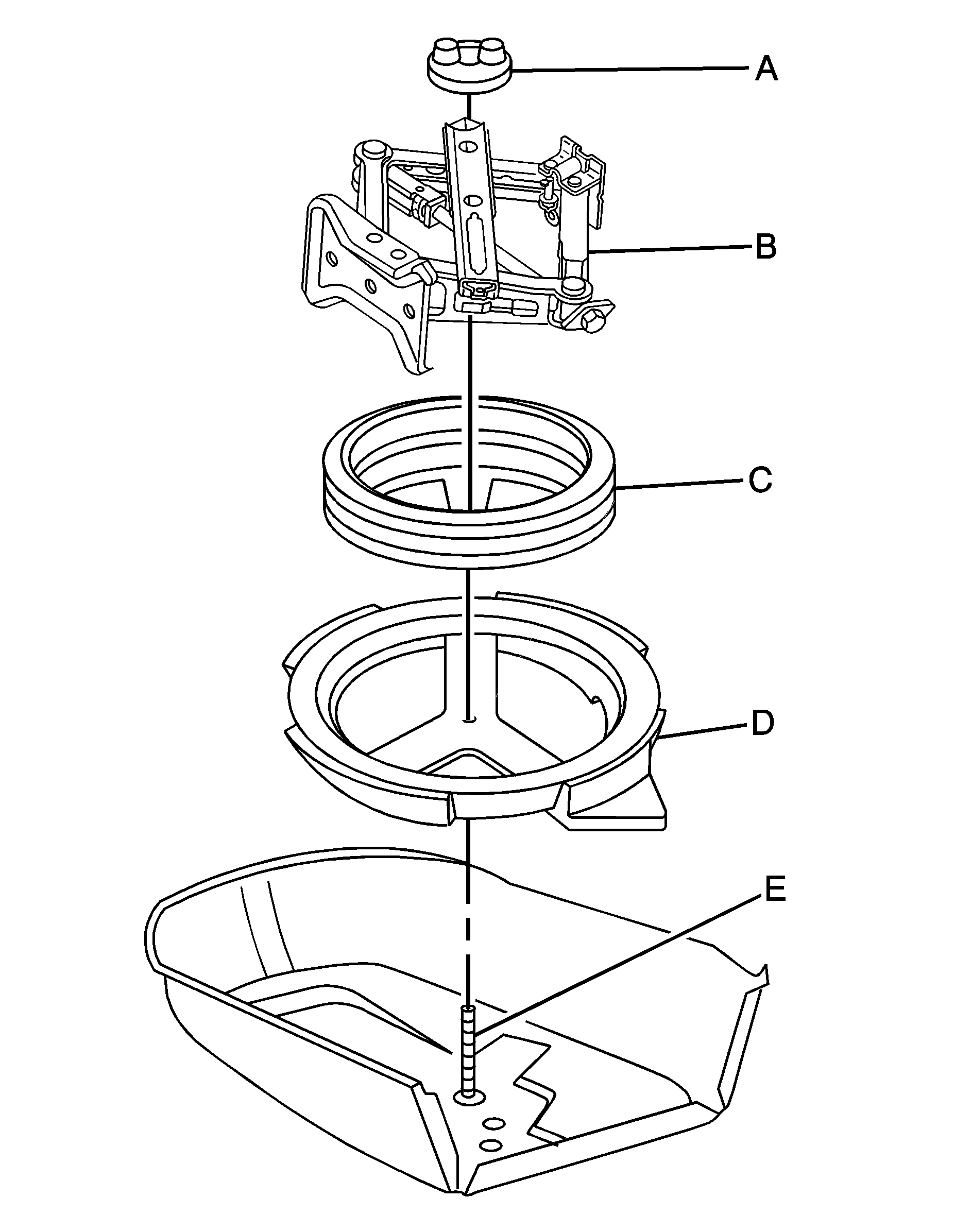
  4. Object Number: 1579726  Size: B5

      Retainer

      Jack and Wheel Wrench

      Spare Tire

      Foam Support

      Bolt

  5. Remove the retainer (A) that holds down the jack, wheel wrench (B) and spare tire (C).
  6. Remove the spare tire by gently pulling it up and out of the trunk.

Object Number: 1537844  Size: B3

The tools you will be using include the jack (A) and wheel wrench (B).


Object Number: 1824652  Size: B3

You will need to turn the plastic wheel nut counterclockwise to loosen the wheel wrench from the jack.


Object Number: 1225650  Size: B3

Press the button and then pull on the end of the wheel wrench to extend the handle.