GM Service Manual Online
For 1990-2009 cars only

Caution: Storing a jack, a tire, or other equipment in the passenger compartment of the vehicle could cause injury. In a sudden stop or collision, loose equipment could strike someone. Store all these in the proper place.

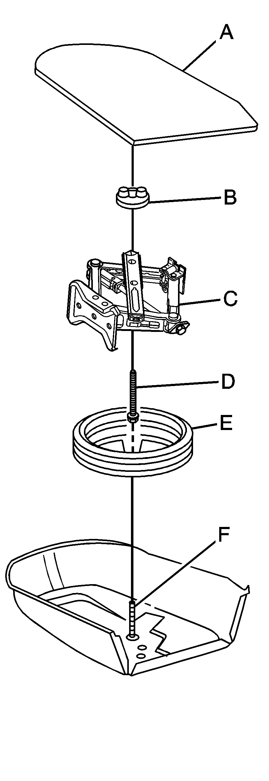
Base Model


Object Number: 1579724  Size: B5
  1. Cover

  2. Retainer

  3. Jack and Wheel Wrench

  4. Stow Bolt Extension Rod

  5. Spare Tire

  6. Bolt

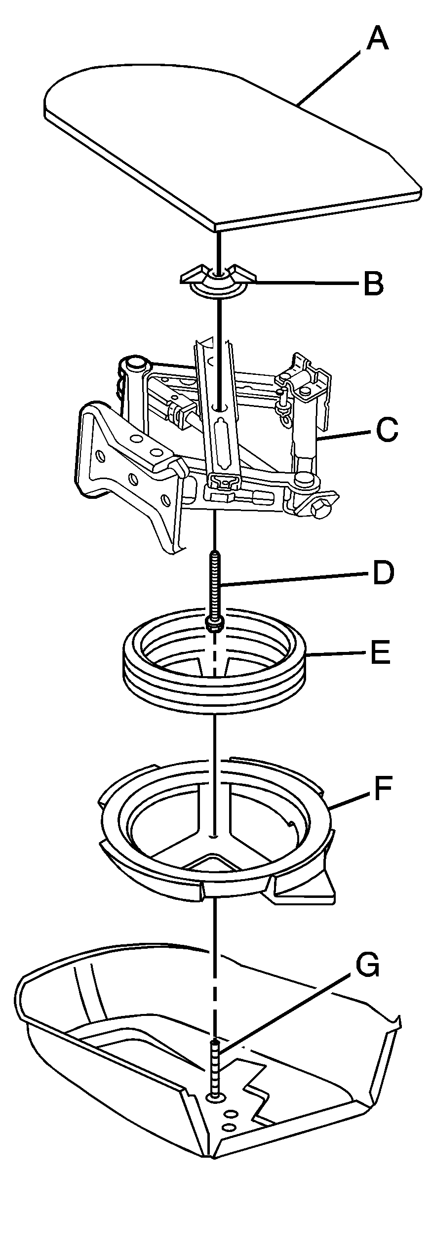
Uplevel Model


Object Number: 1579725  Size: B5
  1. Cover

  2. Retainer

  3. Jack and Wheel Wrench

  4. Stow Bolt Extension Rod

  5. Spare Tire

  6. Foam Support

  7. Bolt

To store a flat or spare tire and tools:

  1. Remove the stow bolt extension rod and sleeve from the jack.
  2. Screw the stow bolt extension rod and the sleeve into the existing spare tire hold-down bolt.
  3. If your vehicle has aluminum wheels, first remove the center cap with your hand or the wheel wrench.
  4. Place the flat tire face down into the spare tire tub.
  5. Re-attach the wheel wrench to the jack.
  6. Place the jack into the center of the flat tire, being careful not to scratch the inside of the wheel.
  7. Remove the plastic sleeve from the stow bolt extension rod. Secure the jack and road wheel using the larger plastic retainer.

The compact spare tire is for temporary use only. Replace the compact spare with a full-size tire as soon as possible.