GM Service Manual Online
For 1990-2009 cars only
Makes
🢒
Pontiac
🢒
2006
🢒
Pursuit
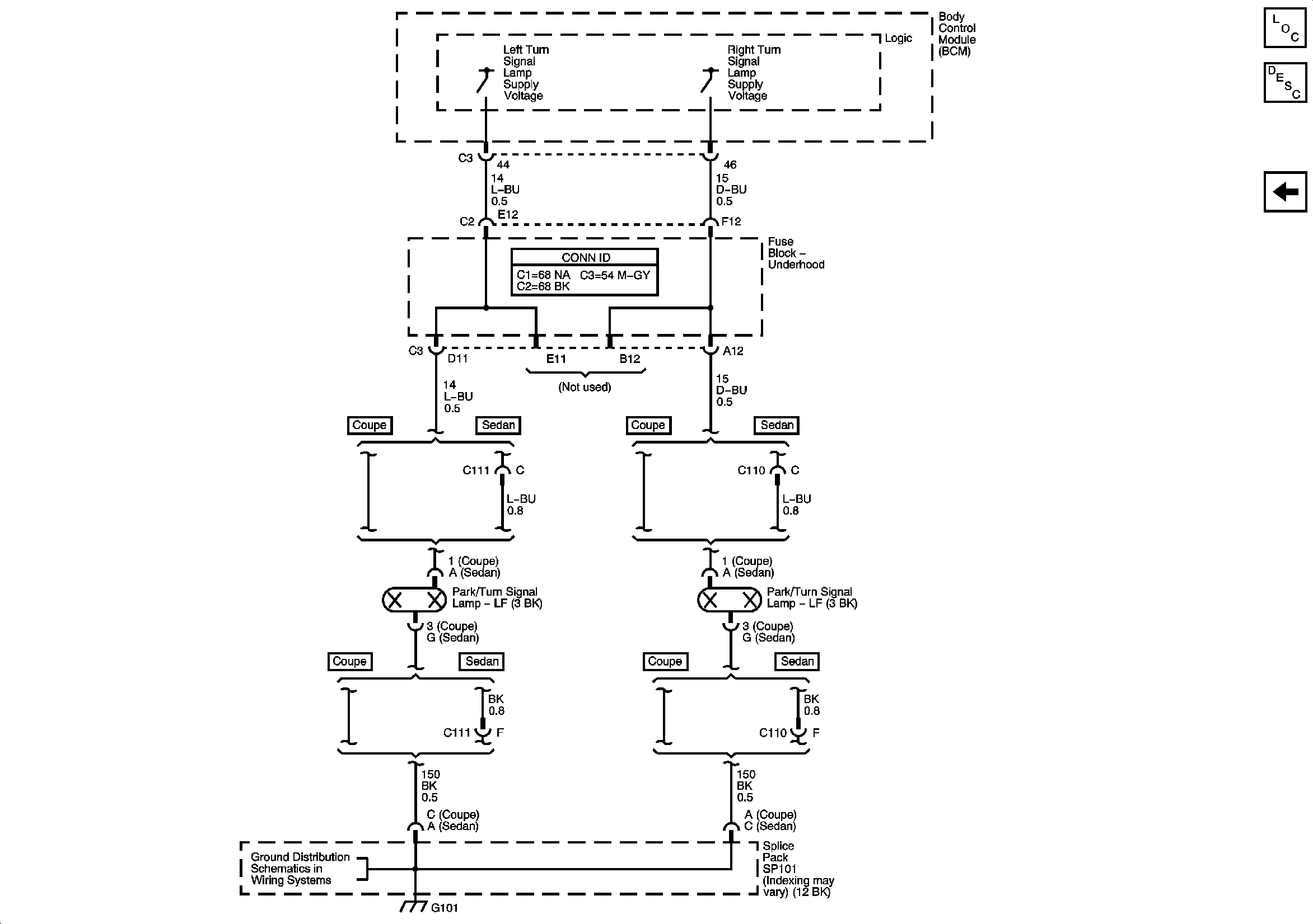
🢒 Daytime Running Lights
Daytime Running Lights
Daytime Running Lights
Master Electrical Component List
Exterior Lighting Systems Description and Operation
Headlights-Sedan
G101