GM Service Manual Online
For 1990-2009 cars only
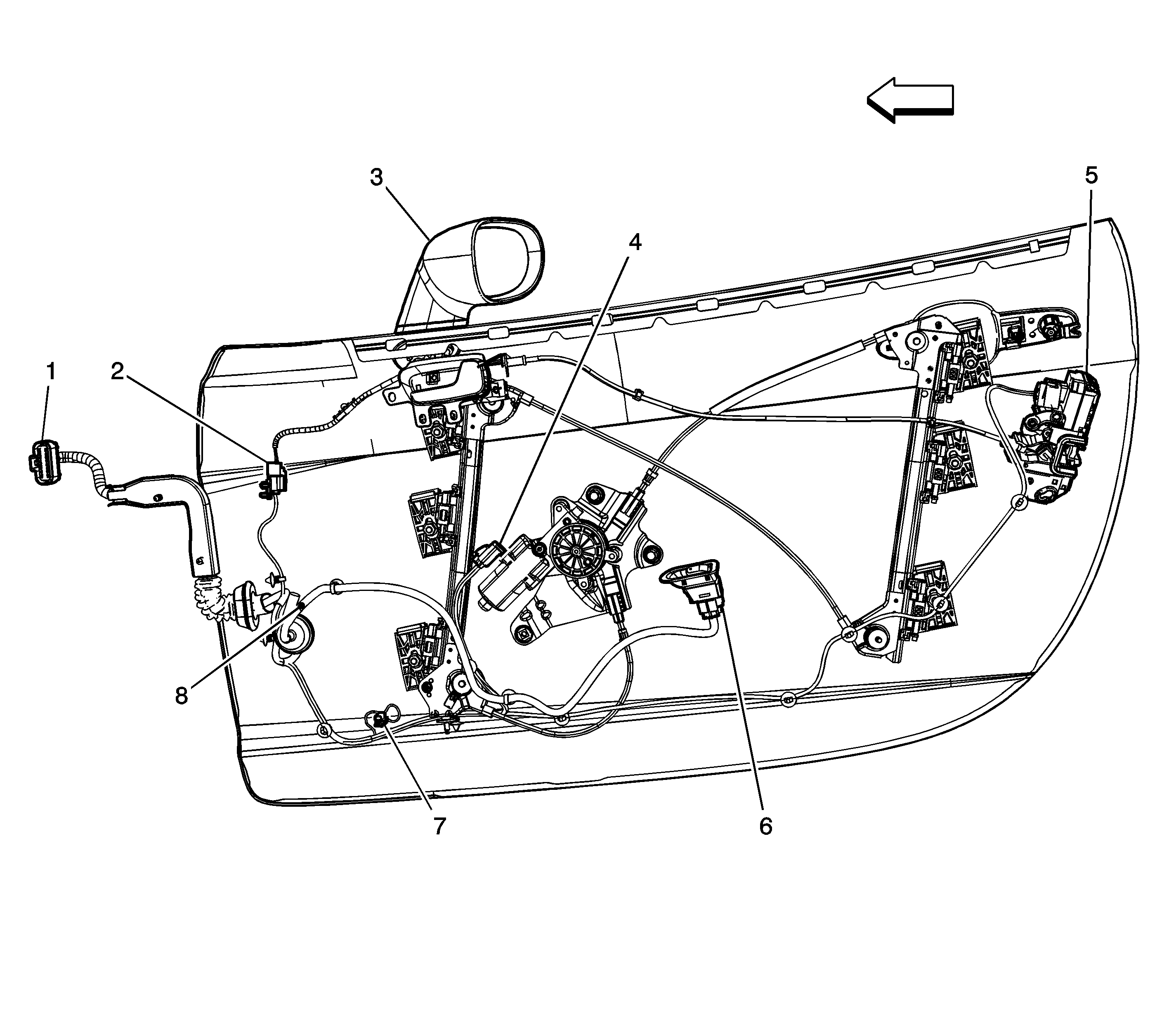
Figure 1:

Driver Door Components


Object Number: 1631586  Size: LF
(1)Door Lock Actuator - Driver
(2)Window Switch - Driver
(3)Outside Rearview Mirror - Driver
(4)Outside Rearview Mirror Switch
(5)Speaker - LF Door
(6)C501
(7)C500
(8)Window Motor - Driver
Figure 2:

Driver Door


Object Number: 1583482  Size: LF
(1)Outside Rearview Mirror Switch
(2)Outside Rearview Mirror - Driver
(3)Outside Rearview Mirror Connector - Driver
(4)C501
(5)C500
(6)S501
(7)Speaker Connector - LF Door
(8)S500
(9)Window Motor - Driver
(10)Window Switch - Driver
(11)Door Lock Actuator - Driver
Figure 3:

Passenger Door Components


Object Number: 1631585  Size: LF
(1)Speaker - RF Door
(2)Outside Rearview Mirror - Passenger
(3)Door Lock Actuator - Passenger
(4)Window Switch - Passenger
(5)Window Motor - Passenger
(6)C600
Figure 4:

Passenger Door


Object Number: 1583492  Size: LF
(1)C600
(2)Outside Rearview Mirror Connector - Passenger
(3)Outside Rearview Mirror - Passenger
(4)Window Motor - Passenger
(5)Door Lock Actuator - Passenger
(6)Window Switch - Passenger
(7)Speaker Connector - RF Door
(8)S600