GM Service Manual Online
For 1990-2009 cars only
Connector 1: C100 Engine Harness to the I/P Body Harness
Connector 2: C101 Automatic Transmission Harness to Engine Harness (M82)
Connector 3: C102 RF Fog/Turn Lamp Jumper Harness to the Forward Lamp Harness
Connector 4: C103 LF Fog/Turn Lamp Jumper Harness to the Forward Lamp Harness
Connector 5: C120 I/P Body Harness to the Forward Lamp Harness
Connector 6: C160 Engine Harness to the Fuel Injector Jumper Harness
Connector 7: C165 Driver Door Harness to the I/P Body Harness
Connector 8: C166 Driver Door Harness to the I/P Body Harness (A31)
Connector 9: C167 Passenger Door Harness to the I/P Body Harness
Connector 10: C207 Console Harness to I/P Body Harness (M82)
Connector 11: C208 SIR I/P Module Harness to the I/P Body Harness
Connector 12: C216 I/P Body Harness to the HVAC Harness
Connector 13: C218 I/P Body Harness to the HVAC Harness
Connector 14: C316 I/P Body Harness to the Passenger Seat Harness
Connector 15: C317 I/P Body Harness to the Driver Seat Harness
Connector 16: C400 I/P Body Harness to the Rear Lamp Harness
Connector 17: C401 I/P Body Harness to Digital Radio Receiver (U2K)
Connector 18: C406 I/P Body Harness to Chassis Harness
Connector 19: C408 Chassis Harness to I/P Body Harness

C100 Engine Harness to the I/P Body Harness


Object Number: 646433  Size: CH

Object Number: 655777  Size: CH

Connector Part Information

  • OEM: 15336418
  • Service: 88987930
  • Description: 40-Way F GT 150 280 Series Sealed 4.0 5.2 (BK)

Connector Part Information

  • OEM: 15317380
  • Service: Not Serviced
  • Description: 40-Way F GT 150 280 Series Sealed (BK)

Terminal Part Information

  • Pins: A1-A3, A8, B1- B3, B5, B8- B12, C1- C5, D1, D6, D7
  • Terminal/Tray: 12191819/8
  • Core/Insulation Crimp: E/A
  • Release Tool/Test Probe: 15315247/J-35616-2A (GY)
  • Pins: C6, C7, B6, A4, A5, B7
  • Terminal/Tray: 15304716/8
  • Core/Insulation Crimp: Pins: C6, C7 : E/1
  • Core/Insulation Crimp: Pins: B6 : See Terminal Repair Kit
  • Core/Insulation Crimp: Pins: A4, A5, B7 : 2/1
  • Release Tool/Test Probe: 15315247/J-35616-4A (PU)

Terminal Part Information

  • Pins: A1- A5, A8, B1- B3, B5- B12, C1- C7, D1, D6, D7
  • Terminal/Tray: See Terminal Repair Kit
  • Core/Insulation Crimp: See Terminal Repair Kit
  • Release Tool/Test Probe: See Terminal Repair Kit

C100 Engine Harness to the I/P Body Harness

Pin

Wire Color

Circuit No.

Function

Pin

Wire Color

Circuit No.

Function

A1

WH

1310

EVAP Canister Vent Solenoid Control

A1

WH

1310

EVAP Canister Vent Solenoid Control

A2

RD/WH

840

Battery Positive Voltage

A2

RD/WH

840

Battery Positive Voltage

A3

TN

1274

5-Volt Reference

A3

TN

1274

5-Volt Reference

A4

PU

92

Windshield Wiper Motor High Speed

A4

PU

92

Windshield Wiper Motor High Speed

A5

D-GN

95

Windshield Washer Switch Signal

A5

D-GN

95

Windshield Washer Switch Signal

A6-A7

--

--

Not Used

A6-A7

--

--

Not Used

A8

BN

4

Accessory Voltage

A8

BN

4

Accessory Voltage

B1

BN/WH

419

MIL Control

B1

BN/WH

419

MIL Control

B2

TN/BK

2500

High Speed GMLAN Serial Data (+)

B2

TN/BK

2500

High Speed GMLAN Serial Data (+)

B3

TN

2501

High Speed GMLAN Serial Data Bus (-)

B3

TN

2501

High Speed GMLAN Serial Data Bus (-)

B4

--

--

Not Used

B4

--

--

Not Used

B5

RD/WH

840

Battery Positive Voltage (M82)

B5

RD/WH

840

Battery Positive Voltage (M82)

B6

PU

1272

Low Reference

B6

PU

1272

Low Reference

B7

BK

250

Ground

B7

BK

250

Ground

B8

L-BU

1162

APP Sensor 2 Signal

B8

L-BU

1162

APP Sensor 2 Signal

B9

WH/BK

1164

5-Volt Reference

B9

WH/BK

1164

5-Volt Reference

B10

BN

1271

Low Reference

B10

BN

1271

Low Reference

B11

D-BU

1161

APP Sensor 1 Signal

B11

D-BU

1161

APP Sensor 1 Signal

B12

TN

2759

Low Reference

B12

TN

2759

Low Reference

C1

PU

1589

Fuel Level Sensor Signal

C1

PU

1589

Fuel Level Sensor Signal

C2

D-GN

890

Fuel Tank Pressure Sensor Signal

C2

D-GN

890

Fuel Tank Pressure Sensor Signal

C3

GY

2709

5-Volt Reference

C3

GY

2709

5-Volt Reference

C4

D-GN/WH

465

Fuel Pump Relay Control

C4

D-GN/WH

465

Fuel Pump Relay Control

C5

YE

196

Windshield Wiper Motor Park Switch Signal

C5

YE

196

Windshield Wiper Motor Park Switch Signal

C6

PK/BK

5291

Ignition 1 Voltage

C6

PK/BK

5291

Ignition 1 Voltage

C7

PK

849

Brake Fluid Level Sensor Signal

C7

PK

849

Brake Fluid Level Sensor Signal

C8-C12

--

--

Not Used

C8-C12

--

--

Not Used

D1

BN/WH

379

CPP Switch Signal (MA5)

D1

BN/WH

379

CPP Switch Signal (MA5)

D2-D5

--

--

Not Used

D2-D3

--

--

Not Used

D4-D5

--

--

Not Available

D6

L-GN

1478

Coolant Level Switch Signal

D6

L-GN

1478

Coolant Level Switch Signal

D7

OG

228

Windshield Washer Pump Control

D7

OG

228

Windshield Washer Pump Control

D8

--

--

Not Used

D8

--

--

Not Used

C101 Automatic Transmission Harness to Engine Harness (M82)


Object Number: 821224  Size: CH

Object Number: 817690  Size: CH

Connector Part Information

  • OEM: 9432001
  • Service: See Catalog
  • Description: 20-Way F (BK) Locking

Connector Part Information

  • OEM: 96025573
  • Service: See Catalog
  • Description: Tab Pin Housing 20-Way M (BK) with O- Rings

Terminal Part Information

  • Pins: 1-11, 13-20
  • Terminal/Tray: See Terminal Repair Kit
  • Core/Insulation Crimp: See Terminal Repair Kit
  • Release Tool/Test Probe: See Terminal Repair Kit

Terminal Part Information

  • Pins: 1-11, 13-20
  • Terminal/Tray: See Terminal Repair Kit
  • Core/Insulation Crimp: See Terminal Repair Kit
  • Release Tool/Test Probe: See Terminal Repair Kit

C101 Automatic Transmission Harness to Engine Harness (M82)

Pin

Wire Color

Circuit No.

Function

Pin

Wire Color

Circuit No.

Function

1

OR

400

OSS High Signal

1

YE

400

OSS High Signal

2

BN

1786

Ignition Lock Cylinder Control Actuator Signal

2

OR/BK

1786

Ignition Lock Cylinder Control Actuator Signal

3

WH

401

OSS Low Signal

3

PU

401

OSS Low Signal

4

GN

451

Ground

4

BK/WH

451

Ground

5

WH

898

Valve 3 High Control

5

PU

898

Valve 3 High Control

6

WH

2762

Low Reference

6

TN

2762

Low Reference

7

BK

772

Transmission Range Switch Signal B

7

YE

772

Transmission Range Switch Signal B

8

WH

1229

PC Solenoid Valve Low Control

8

L-BU/WH

1229

PC Solenoid Valve Low Control

9

BU

1223

2-3 Shift Solenoid Valve Control

9

YE/BK

1223

2-3 Shift Solenoid Valve Control

10

RD

1227

TFT Sensor Signal

10

YE/BK

1227

TFT Sensor Signal

11

GY

776

Transmission Range Switch Signal P

11

WH

776

Transmission Range Switch Signal P

12

--

--

Not Used

12

--

--

Not Used

13

GN

1228

PC Solenoid Valve High Control

13

OR/BK

1228

PC Solenoid Valve High Control

14

BK

1222

1-2 Shift Solenoid Valve Control

14

L-GN

1222

1-2 Shift Solenoid Valve Control

15

WH

1231

A/T ISS Low Signal

15

D-BU/WH

1231

A/T ISS Low Signal

16

RD

771

Transmission Range Switch Signal A

16

TN/WH

771

Transmission Range Switch Signal A

17

WH

1525

Clutch Pressure Control Solenoid Valve 1 High Control

17

OR

1525

Clutch Pressure Control Solenoid Valve 1 High Control

18

YE

1230

A/T ISS High Signal

18

OR/BK

1230

A/T ISS High Signal

19

BU

773

Transmission Range Switch Signal C

19

GY

773

Transmission Range Switch Signal C

20

YE

418

TCC PWM Solenoid Valve Control

20

BR

418

TCC PWM Solenoid Valve Control

C102 RF Fog/Turn Lamp Jumper Harness to the Forward Lamp Harness


Object Number: 697046  Size: CH

Object Number: 1471680  Size: CH

Connector Part Information

  • OEM: 12186568
  • Service: See Catalog
  • Description: 4-Way F Metri-Pack 150 Series Sealed (BK)

Connector Part Information

  • OEM: 12186271
  • Service: 15306054
  • Description: 4-Way M Metri-Pack 150 Series Sealed (GY)

Terminal Part Information

  • Terminal/Tray: See Terminal Repair Kit
  • Core/Insulation Crimp: See Terminal Repair Kit
  • Release Tool/Test Probe: See Terminal Repair Kit

Terminal Part Information

  • Terminal/Tray: 12045773/2
  • Core/Insulation Crimp: E/1
  • Release Tool/Test Probe: 12094429/J-35616-3 (GY)

C102 RF Fog/Turn Lamp Jumper Harness to the Forward Lamp Harness

Pin

Wire Color

Circuit No.

Function

Pin

Wire Color

Circuit No.

Function

A

D-BU

15

Right Turn Signal Lamp Supply Voltage

A

D-BU

15

Right Turn Signal Lamp Supply Voltage

B

BN

9

Tail/License Lamps Supply Voltage

B

BN

9

Tail/License Lamps Supply Voltage

C

PU

2234

Front Fog Lamp Supply Voltage (T96)

C

PU

2234

Front Fog Lamp Supply Voltage (T96)

D

BK

150

Ground

D

BK

150

Ground

C103 LF Fog/Turn Lamp Jumper Harness to the Forward Lamp Harness


Object Number: 697046  Size: CH

Object Number: 1471680  Size: CH

Connector Part Information

  • OEM: 12186568
  • Service: See Catalog
  • Description: 4-Way F Metri-Pack 150 Series Sealed (BK)

Connector Part Information

  • OEM: 12186271
  • Service: 15306054
  • Description: 4-Way M Metri-Pack 150 Series Sealed (GY)

Terminal Part Information

  • Terminal/Tray: See Terminal Repair Kit
  • Core/Insulation Crimp: See Terminal Repair Kit
  • Release Tool/Test Probe: See Terminal Repair Kit

Terminal Part Information

  • Terminal/Tray: 12045773/2
  • Core/Insulation Crimp: E/1
  • Release Tool/Test Probe: 12094429/J-35616-3 (GY)

C103 LF Fog/Turn Lamp Jumper Harness to the Forward Lamp Harness

Pin

Wire Color

Circuit No.

Function

Pin

Wire Color

Circuit No.

Function

A

L-BU

14

Left Turn Signal Lamp Supply Voltage

A

L-BU

14

Left Turn Signal Lamp Supply Voltage

B

BN

9

Tail/License Lamps Supply Voltage

B

BN

9

Tail/License Lamps Supply Voltage

C

PU

2234

Front Fog Lamp Supply Voltage (T96)

C

PU

2234

Front Fog Lamp Supply Voltage (T96)

D

BK

250

Ground

D

BK

250

Ground

C120 I/P Body Harness to the Forward Lamp Harness


Object Number: 655811  Size: CH

Object Number: 655813  Size: CH

Connector Part Information

  • OEM: 15326084
  • Service: 15306348
  • Description: 16-Way F GT 150 280 Series Sealed 4.0 5.8 (BK)

Connector Part Information

  • OEM: 15326085
  • Service: 15306122
  • Description: 16-Way M GT 150 280 Series Sealed 4.0 5.8 (BK)

Terminal Part Information

  • Pins: B, C, D, E, F, G, K, L, M, N, P, R
  • Terminal/Tray: 12191819/8
  • Core/Insulation Crimp: E/A
  • Release Tool/Test Probe: 15315247/J-35616-2A (GY)

Terminal Part Information

  • Pins: B, C, D, E, F, G, K, L, M, N, P, R
  • Terminal/Tray: 15326269/19
  • Core/Insulation Crimp: E/4
  • Release Tool/Test Probe: 15315247/J-35616-3 (GY)

C120 I/P Body Harness to the Forward Lamp Harness

Pin

Wire Color

Circuit No.

Function

Pin

Wire Color

Circuit No.

Function

A

--

--

Not Used

A

--

--

Not Used

B

TN

884

Left Rear Wheel Speed Sensor Signal (JL9)

B

TN

884

Left Rear Wheel Speed Sensor Signal (JL9)

C

OG

885

Left Rear Wheel Speed Sensor Low Reference (JL9)

C

OG

885

Left Rear Wheel Speed Sensor Low Reference (JL9)

D

BN

882

Right Rear Wheel Speed Sensor Signal (JL9)

D

BN

882

Right Rear Wheel Speed Sensor Signal (JL9)

E

WH

883

Right Rear Wheel Speed Sensor Low Reference (JL9)

E

WH

883

Right Rear Wheel Speed Sensor Low Reference (JL9)

F

TN/BK

2500

High Speed GMLAN Serial Data (+)

F

TN/BK

2500

High Speed GMLAN Serial Data (+)

G

TN

2501

High Speed GMLAN Serial Data (-)

G

TN

2501

High Speed GMLAN Serial Data (-)

H-J

--

--

Not Used

H-J

--

--

Not Used

K

TN/BK

2500

High Speed GMLAN Serial Data (+)

K

TN/BK

2500

High Speed GMLAN Serial Data (+)

L

TN

2501

High Speed GMLAN Serial Data (-)

L

TN

2501

High Speed GMLAN Serial Data (-)

M

YE/BK

2160

Front End Discriminating Sensor Signal

M

YE/BK

2160

Front End Discriminating Sensor Signal

N

GY

5600

Right Front Discriminating Sensor Low Reference

N

GY

5600

Right Front Discriminating Sensor Low Reference

P

YE

1834

Forward Discriminating Sensor Signal

P

YE

1834

Forward Discriminating Sensor Signal

R

TN/OG

5045

Left Front Discriminating Sensor Low Reference

R

TN/OG

5045

Left Front Discriminating Sensor Low Reference

S

--

--

Not Used

S

--

--

Not Used

C160 Engine Harness to the Fuel Injector Jumper Harness


Object Number: 646400  Size: CH

Object Number: 684916  Size: CH

Connector Part Information

  • OEM: 15326835
  • Service: 88986452
  • Description: 8-Way F GT 150 Series Sealed 4.0 (BK)

Connector Part Information

  • OEM: 15326840
  • Service: See Catalog
  • Description: 8-Way M GT 150 Series Sealed 4.0 (BK)

Terminal Part Information

  • Pins: E, A, B, C, D, F, G, H
  • Terminal/Tray: 12191819/8
  • Core/Insulation Crimp: Pins: E : 2/A
  • Core/Insulation Crimp: Pins: A, B, C, D, F, G, H : E/A
  • Release Tool/Test Probe: 15315247/J-35616-2A (GY)

Terminal Part Information

  • Terminal/Tray: See Terminal Repair Kit
  • Core/Insulation Crimp: See Terminal Repair Kit
  • Release Tool/Test Probe: See Terminal Repair Kit

C160 Engine Harness to the Fuel Injector Jumper Harness

Pin

Wire Color

Circuit No.

Function

Pin

Wire Color

Circuit No.

Function

A

TN

1744

Fuel Injector 1 Control

A

BK

1744

Fuel Injector 1 Control

B

L-GN/BK

1745

Fuel Injector 2 Control

B

L-GN/BK

1745

Fuel Injector 2 Control

C

PK/BK

1746

Fuel Injector 3 Control

C

PK/BK

1746

Fuel Injector 3 Control

D

BU/BK

844

Fuel Injector 4 Control

D

BU/BK

844

Fuel Injector 4 Control

E

PK/BK

5292

Ignition 1 Voltage

E

PK

139

Ignition 1 Voltage

F

OG/BK

469

Low Reference

F

OG/BK

469

Low Reference

G

L-GN

432

MAP Sensor Signal

G

L-GN

432

MAP Sensor Signal

H

GY

2704

5-Volt Reference

H

GY

2704

5-Volt Reference

C165 Driver Door Harness to the I/P Body Harness


Object Number: 632344  Size: CH

Object Number: 632342  Size: CH

Connector Part Information

  • OEM: 15326842
  • Service: 15326842
  • Description: 10-Way F GT 150 Series Sealed (BK)

Connector Part Information

  • OEM: 15326847
  • Service: 15326847
  • Description: 10-Way M GT 150 Series Sealed (BK)

Terminal Part Information

  • Pins: A, B, C, D, E, F, G, H, J, K
  • Terminal/Tray: 12191819/8
  • Core/Insulation Crimp: Pins: A, B : 2/A
  • Core/Insulation Crimp: Pins: C, D, E, F, G, H, J, K : E/A
  • Release Tool/Test Probe: 15315247/J-35616-2A (GY)

Terminal Part Information

  • Pins: A, B, C, D, E, F, G, H, J, K
  • Terminal/Tray: 15326269/19
  • Core/Insulation Crimp: Pins: A, B : E/1
  • Core/Insulation Crimp: Pins: C, D, E, F, G, H, J, K : E/4
  • Release Tool/Test Probe: 15315247/J-35616-3 (GY)

C165 Driver Door Harness to the I/P Body Harness

Pin

Wire Color

Circuit No.

Function

Pin

Wire Color

Circuit No.

Function

A

GY

118

Left Front Speaker Output (-)

A

GY

118

Left Front Speaker Output (-)

B

TN

201

Left Front Speaker Output (+)

B

TN

201

Left Front Speaker Output (+)

C

GY

295

Door Lock Actuator Lock Control (AU3)

C

GY

295

Door Lock Actuator Lock Control (AU3)

D

TN

694

Driver Door Lock Actuator Unlock Control (AU3/AU0)

D

TN

694

Driver Door Lock Actuator Unlock Control (AU3/AU0)

D

BK

550

Ground (w/o AU3)

D

BK

550

Ground (w/o AU3)

E

GY

8

Instrument Panel Lamp Supply Voltage (D48)

E

GY

8

Instrument Panel Lamp Supply Voltage (D48)

F

GY

90

Passenger Mirror Motor Left Control (D48)

F

GY

90

Passenger Mirror Motor Left Control (D48)

G

BN/WH

1498

Passenger Mirror Motor Left/Down Control

G

BN/WH

1498

Passenger Mirror Motor Left/Down Control

H

TN/WH

330

Right Mirror Motor Supply Voltage (D48)

H

TN/WH

330

Right Mirror Motor Supply Voltage (D48)

J

RD/WH

440

Battery Positive Voltage (D48)

J

RD/WH

440

Battery Positive Voltage (D48)

K

GY/BK

745

Left Front Door Ajar Switch Signal

K

GY/BK

745

Left Front Door Ajar Switch Signal

C166 Driver Door Harness to the I/P Body Harness (A31)


Object Number: 646372  Size: CH

Object Number: 847234  Size: CH

Connector Part Information

  • OEM: 15326654
  • Service: 88986254
  • Description: 8-Way F GT 280 Series Sealed 5.8 (BK)

Connector Part Information

  • OEM: 15326655
  • Service: 15306424
  • Description: 8-Way M GT 280 Series Sealed 5.8 (BK)

Terminal Part Information

  • Pins: A, B, C
  • Terminal/Tray: 15304720/19
  • Core/Insulation Crimp: 4/5
  • Release Tool/Test Probe: 15315247/J-35616-4A (PU)
  • Pins: D
  • Terminal/Tray: See Terminal Repair Kit
  • Core/Insulation Crimp: See Terminal Repair Kit
  • Release Tool/Test Probe: See Terminal Repair Kit

Terminal Part Information

  • Pins: A, B, C, D
  • Terminal/Tray: 15304732/8
  • Core/Insulation Crimp: A/5
  • Release Tool/Test Probe: 15315247/J-35616-5 (PU)

C166 Driver Door Harness to the I/P Body Harness (A31)

Pin

Wire Color

Circuit No.

Function

Pin

Wire Color

Circuit No.

Function

A

L-BU

166

Power Window Master Switch Right Front Up Signal

A

L-BU

166

Power Window Master Switch Right Front Up Signal

B

BK

550

Ground

B

BK

550

Ground

C

D-GN

801

RAP Fuse Supply Voltage

C

D-GN

801

RAP Fuse Supply Voltage

D

TN

167

Power Window Master Switch Right Front Down Signal

D

TN

167

Power Window Master Switch Right Front Down Signal

E-H

--

--

Not Used

E-H

--

--

Not Used

C167 Passenger Door Harness to the I/P Body Harness


Object Number: 655811  Size: CH

Object Number: 655813  Size: CH

Connector Part Information

  • OEM: 15326084
  • Service: 15306348
  • Description: 16-Way F GT 150 280 Series Sealed 4.0 5.8 (BK)

Connector Part Information

  • OEM: 15326085
  • Service: 15306122
  • Description: 16-Way M GT 150 280 Series Sealed 4.0 5.8 (BK)

Terminal Part Information

  • Pins: B, C, D, E, F, G, K, L, N, P
  • Terminal/Tray: 12191819/8
  • Core/Insulation Crimp: Pins: B, C : 2/A
  • Core/Insulation Crimp: Pins: D, E, F, G, K, L, N, P : E/A
  • Release Tool/Test Probe: 15315247/J-35616-2A (GY)
  • Pins: A, J, S
  • Terminal/Tray: 15304720/19
  • Core/Insulation Crimp: 4/5
  • Release Tool/Test Probe: 15315247/J-35616-4A (PU)

Terminal Part Information

  • Pins: A, J, S
  • Terminal/Tray: 15304732/8
  • Core/Insulation Crimp: A/5
  • Release Tool/Test Probe: 15315247/J-35616-5 (PU)
  • Pins: B, C, D, E, F, G, K, L, N, P
  • Terminal/Tray: 15326269/19
  • Core/Insulation Crimp: Pins: B, C : E/1
  • Core/Insulation Crimp: Pins: D, E, F, G, K, L, N, P : E/4
  • Release Tool/Test Probe: 15315247/J-35616-3 (GY)

C167 Passenger Door Harness to the I/P Body Harness

Pin

Wire Color

Circuit No.

Function

Pin

Wire Color

Circuit No.

Function

A

L-BU

166

Power Window Master Switch Right Front Up Signal (A31)

A

L-BU

166

Power Window Master Switch Right Front Up Signal (A31)

B

D-GN

117

Right Front Speaker Output (-)

B

D-GN

117

Right Front Speaker Output (-)

C

L-GN

200

Right Front Speaker Output (+)

C

L-GN

200

Right Front Speaker Output (+)

D

TN

294

Door Lock Actuator Unlock Control (AU3/AU0)

D

TN

294

Door Lock Actuator Unlock Control (AU3/AU0)

E

GY

295

Door Lock Actuator Lock Control (AU3/AU0)

E

GY

295

Door Lock Actuator Lock Control (AU3/AU0)

F

GY

8

Instrument Panel Lamp Supply Voltage (D48)

F

GY

8

Instrument Panel Lamp Supply Voltage (D48)

G

GY

90

Passenger Mirror Motor Left Control (D48)

G

GY

90

Passenger Mirror Motor Left Control (D48)

H

--

--

Not Used

H

--

--

Not Used

J

D-GN

801

RAP Fuse Supply Voltage (A31)

J

D-GN

801

RAP Fuse Supply Voltage (A31)

K

BN/WH

1498

Passenger Mirror Motor Left/Down Control (D48)

K

BN/WH

1498

Passenger Mirror Motor Left/Down Control (D48)

L

TN/WH

330

Passenger Mirror Motor Supply Voltage (D48)

L

TN/WH

330

Passenger Mirror Motor Supply Voltage (D48)

M

--

--

Not Used

M

--

--

Not Used

N

TN/WH

746

Right Front Door Ajar Switch Signal

N

TN/WH

746

Right Front Door Ajar Switch Signal

P

BK

550

Ground

P

BK

550

Ground

R

--

--

Not Used

R

--

--

Not Used

S

TN

167

Power Window Master Switch Right Front Down Signal (A31)

S

TN

167

Power Window Master Switch Right Front Down Signal (A31)

C207 Console Harness to I/P Body Harness (M82)


Object Number: 1626593  Size: CH

Object Number: 1626595  Size: CH

Connector Part Information

  • OEM: E-3581-001
  • Service: 88988795
  • Description: 12-Way F

Connector Part Information

  • OEM: E-3584-003
  • Service: 88988763
  • Description: 12-Way M

Terminal Part Information

  • Pins: 1-10
  • Terminal/Tray: See Terminal Repair Kit
  • Core/Insulation Crimp: See Terminal Repair Kit
  • Release Tool/Test Probe: See Terminal Repair Kit

Terminal Part Information

  • Pins: 1-10
  • Terminal/Tray: See Terminal Repair Kit
  • Core/Insulation Crimp: See Terminal Repair Kit
  • Release Tool/Test Probe: See Terminal Repair Kit

C207 Console Harness to the I/P Body Harness (M82)

Pin

Wire Color

Circuit No.

Function

Pin

Wire Color

Circuit No.

Function

1

L-GN/WH

5984

PRNDL D Signal

1

L-GN/WH

5984

PRNDL D Signal

2

OG/BK

5983

PRNDL C Signal

2

OG/BK

5983

PRNDL C Signal

3

PK/BK

5982

PRNDL B Signal

3

PK/BK

5982

PRNDL B Signal

4

PU/WH

5981

PRNDL A Signal

4

PU/WH

5981

PRNDL A Signal

5

GY

8

Instrument Panel Lamp Supply Voltage

5

GY

8

Instrument Panel Lamp Supply Voltage

6

BN

4

Accessory Voltage

6

BN

4

Accessory Voltage

7

D-GN/WH

1135

A/T Shift Lock Control Solenoid Supply Voltage

7

D-GN/WH

1135

A/T Shift Lock Control Solenoid Supply Voltage

8

BK/WH

651

Ground

8

BK/WH

651

Ground

9

BK

550

Ground

9

BK

550

Ground

10

D-GN/WH

1932

Ignition Lock Cylinder Control Actuator Signal

10

D-GN/WH

1932

Ignition Lock Cylinder Control Actuator Signal

11-12

--

--

Not Used

11-12

--

--

Not Used

C208 SIR I/P Module Harness to the I/P Body Harness


Object Number: 684931  Size: CH

Object Number: 684936  Size: CH

Connector Part Information

  • OEM: 15336476
  • Service: 15306363
  • Description: 4-Way F M Metri-Pack 280 Series (YE)

Connector Part Information

  • OEM: 15336479
  • Service: 88988600
  • Description: 4-Way F Metri-Pack 280 Series (YE)

Terminal Part Information

  • Terminal/Tray: 12034047/2
  • Core/Insulation Crimp: E/A
  • Release Tool/Test Probe: 12094430/J-35616-5 (PU)

Terminal Part Information

  • Terminal/Tray: See Terminal Repair Kit
  • Core/Insulation Crimp: See Terminal Repair Kit
  • Release Tool/Test Probe: See Terminal Repair Kit

C208 SIR I/P Module Harness to the I/P Body Harness

Pin

Wire Color

Circuit No.

Function

Pin

Wire Color

Circuit No.

Function

A1

OG

3024

I/P Module - Stage 1 - Low Control

A1

PK/BK

3024

I/P Module - Stage 1 - Low Control

A2

YE

3025

I/P Module - Stage 1 - High Control

A2

L-BU

3025

I/P Module - Stage 1 - High Control

B1

PU

3026

I/P Module - Stage 2 - Low Control

B1

L-GN/RD

3026

I/P Module - Stage 2 - Low Control

B2

GY

3027

I/P Module - Stage 2 - High Control

B2

RD/WH

3027

I/P Module - Stage 2 - High Control

C216 I/P Body Harness to the HVAC Harness


Object Number: 1567051  Size: CH

Object Number: 1567089  Size: CH

Connector Part Information

  • OEM: 15201883
  • Service: 88988653
  • Description: 8-Way F (NA)

Connector Part Information

  • OEM: 6098-4905
  • Service: 88988651
  • Description: 8-Way M 2.8 mm Conn (NA)

Terminal Part Information

  • Pins: 1-6
  • Terminal/Tray: 15304713/19
  • Core/Insulation Crimp: Pins: 1, 2, 3 : 4/4
  • Core/Insulation Crimp: Pins: 4, 5, 6 : F/D
  • Release Tool/Test Probe: 15315247/J-35616-4A (PU)

Terminal Part Information

  • Pins: 1-6
  • Terminal/Tray: See Terminal Repair Kit
  • Core/Insulation Crimp: See Terminal Repair Kit
  • Release Tool/Test Probe: See Terminal Repair Kit

C216 I/P Body Harness to the HVAC Harness

Pin

Wire Color

Circuit No.

Function

Pin

Wire Color

Circuit No.

Function

1

YE

60

Blower Motor Low Control

1

YE

60

Blower Motor Low Control

2

TN

63

Blower Motor Medium 1 Control

2

TN

63

Blower Motor Medium 1 Control

3

L-BU

72

Medium 2 Blower Motor Control

3

L-BU

72

Medium 2 Blower Motor Control

4

OG

52

Blower Motor High Control

4

OG

52

Blower Motor High Control

5

BN

141

Ignition 3 Voltage

5

BN

141

Ignition 3 Voltage

6

BK

550

Ground

6

BK

2050

Ground

7-8

--

--

Not Used

7-8

--

--

Not Used

C218 I/P Body Harness to the HVAC Harness


Object Number: 1566808  Size: CH

Object Number: 1566801  Size: CH

Connector Part Information

  • OEM: 15193800
  • Service: 15193800
  • Description: 12-Way F (NA)

Connector Part Information

  • OEM: 6098-4900
  • Service: 15193797
  • Description: 12-Way M (NA)

Terminal Part Information

  • Pins: 2-5, 8-11
  • Terminal/Tray: 12191812/19
  • Core/Insulation Crimp: E/C
  • Release Tool/Test Probe: 15315247/J-35616-2A (GY)
  • Pins: 1, 6, 7, 12
  • Terminal/Tray: 15304711/8
  • Core/Insulation Crimp: E/A
  • Release Tool/Test Probe: 15315247/J-35616-4A (PU)

Terminal Part Information

  • Terminal/Tray: See Terminal Repair Kit
  • Core/Insulation Crimp: See Terminal Repair Kit
  • Release Tool/Test Probe: See Terminal Repair Kit

C218 I/P Body Harness to the HVAC Harness

Pin

Wire Color

Circuit No.

Function

Pin

Wire Color

Circuit No.

Function

1

TN/BK

2274

Recirculation Door Control Circuit

1

L-GN

2274

Recirculation Door Control Circuit

2

D-GN

1614

Recirculation Door Control

2

L-BU

1614

Recirculation Door Control

3

D-BU

1646

Auxiliary Air Temperature Door Position Signal

3

D-BU

1646

Auxiliary Air Temperature Door Position Signal

4

L-GN

2275

Mode Door Position Signal

4

L-GN

2275

Mode Door Position Signal

5

L-GN/BK

1647

Recirculation Door Control B

5

TN/BK

1647

Recirculation Door Control B

6

L-BU/BK

1688

5-Volt Reference

6

L-BU/BK

1688

5-Volt Reference

7

L-GN/BK

2276

Defrost Door Position Signal

7

L-GN/BK

2276

Defrost Door Position Signal

8

TN

2273

Mode Door Control

8

TN

2273

Mode Door Control

9

D-BU

1199

Air Temperature Door Control

9

D-BU

1199

Air Temperature Door Control

10

L-BU

733

Air Temperature Door Position Signal

10

L-BU

733

Air Temperature Door Position Signal

11

GY

6137

EVAP Core Temperature Sensor Signal

11

GY

6137

EVAP Core Temperature Sensor Signal (C60)

12

YE

1791

Low Reference

12

YE

1791

Low Reference

C316 I/P Body Harness to the Passenger Seat Harness


Object Number: 646374  Size: CH

Object Number: 715111  Size: CH

Connector Part Information

  • OEM: 15332145
  • Service: 15306407
  • Description: 8-Way F GT 150 Series (BK)

Connector Part Information

  • OEM: 15332150
  • Service: 88986250
  • Description: 8-Way M GT 150 Series (BK)

Terminal Part Information

  • Pins: A, C, D, E, F, G, H
  • Terminal/Tray: 12191812/19
  • Core/Insulation Crimp: E/C
  • Release Tool/Test Probe: 15315247/J-35616-2A (GY)

Terminal Part Information

  • Pins: A, C, D, E, F, G, H
  • Terminal/Tray: See Terminal Repair Kit
  • Core/Insulation Crimp: See Terminal Repair Kit
  • Release Tool/Test Probe: See Terminal Repair Kit

C316 I/P Body Harness to the Passenger Seat Harness

Pin

Wire Color

Circuit No.

Function

Pin

Wire Color

Circuit No.

Function

A

OG

1362

Seat Belt Switch - Right - Signal

A

OG

1362

Seat Belt Switch - Right - Signal

B

--

--

Not Used

B

--

--

Not Used

C

PK

5057

Low Reference

C

PK

5057

Low Reference

D

PK

353

I/P Module Suppression Indicator Control

D

PK

353

I/P Module Suppression Indicator Control

E

TN/BK

723

I/P Module Disable Switch - Signal

E

TN/BK

723

I/P Module Disable Switch - Signal

F

PK

1339

Ignition 1 Voltage

F

PK

1339

Ignition 1 Voltage

G

PK

5018

Occupant Sensor Serial Data

G

PK

5018

Occupant Sensor Serial Data

H

BK/WH

351

Ground

H

BK/WH

351

Ground

C317 I/P Body Harness to the Driver Seat Harness


Object Number: 1243663  Size: CH

Object Number: 1391783  Size: CH

Connector Part Information

  • OEM: 15332132
  • Service: 88953364
  • Description: 3-Way F GT 150 Series (BK)

Connector Part Information

  • OEM: 15332133
  • Service: 88987881
  • Description: 3-Way M GT 150 Series (BK)

Terminal Part Information

  • Pins: A, C
  • Terminal/Tray: See Terminal Repair Kit
  • Core/Insulation Crimp: See Terminal Repair Kit
  • Release Tool/Test Probe: See Terminal Repair Kit

Terminal Part Information

  • Pins: A, C
  • Terminal/Tray: See Terminal Repair Kit
  • Core/Insulation Crimp: See Terminal Repair Kit
  • Release Tool/Test Probe: See Terminal Repair Kit

C317 I/P Body Harness to the Driver Seat Harness

Pin

Wire Color

Circuit No.

Function

Pin

Wire Color

Circuit No.

Function

A

TN/WH

238

Seat Belt Switch Signal

A

TN/WH

238

Seat Belt Switch Signal

B

--

--

Not Used

B

--

--

Not Used

C

PK

5057

Low Reference

C

PK

5057

Low Reference

C400 I/P Body Harness to the Rear Lamp Harness


Object Number: 1593391  Size: CH

Object Number: 1701011  Size: CH

Connector Part Information

  • OEM: E-3166-000
  • Service: 88988062
  • Description: 4-Way F (NA)

Connector Part Information

  • OEM: E-5345-002
  • Service: 88988064
  • Description: 4-Way M 1.5 Series (BK)

Terminal Part Information

  • Pins: 2, 4
  • Terminal/Tray: 7116-4102-08/9
  • Core/Insulation Crimp: E/1
  • Release Tool/Test Probe: 12094430/J-35616-2A (GY)
  • Pins: 1, 3
  • Terminal/Tray: 7116-4103-08/9
  • Core/Insulation Crimp: E/1
  • Release Tool/Test Probe: 12094430/J-35616-2A (GY)

Terminal Part Information

  • Pins: 2, 3, 4
  • Terminal/Tray: 7114-4102-08/9
  • Core/Insulation Crimp: E/1
  • Release Tool/Test Probe: 12094430/J-35616-3 (GY)
  • Pins: 1
  • Terminal/Tray: 7114-4103-08/9
  • Core/Insulation Crimp: E/1
  • Release Tool/Test Probe: 12094430/J-35616-3 (GY)

C400 I/P Body Harness to the Rear Lamp Harness

Pin

Wire Color

Circuit No.

Function

Pin

Wire Color

Circuit No.

Function

1

BK

750

Ground

1

BK

750

Ground

2

BN

9

Tail/License Park Lamps Supply Voltage

2

BN

9

Tail/License Park Lamps Supply Voltage

3

L-GN

24

Backup Lamp Supply Voltage

3

L-GN

24

Backup Lamp Supply Voltage

4

L-BU

20

Stop Lamp Supply Voltage

4

L-BU

20

Stop Lamp Supply Voltage

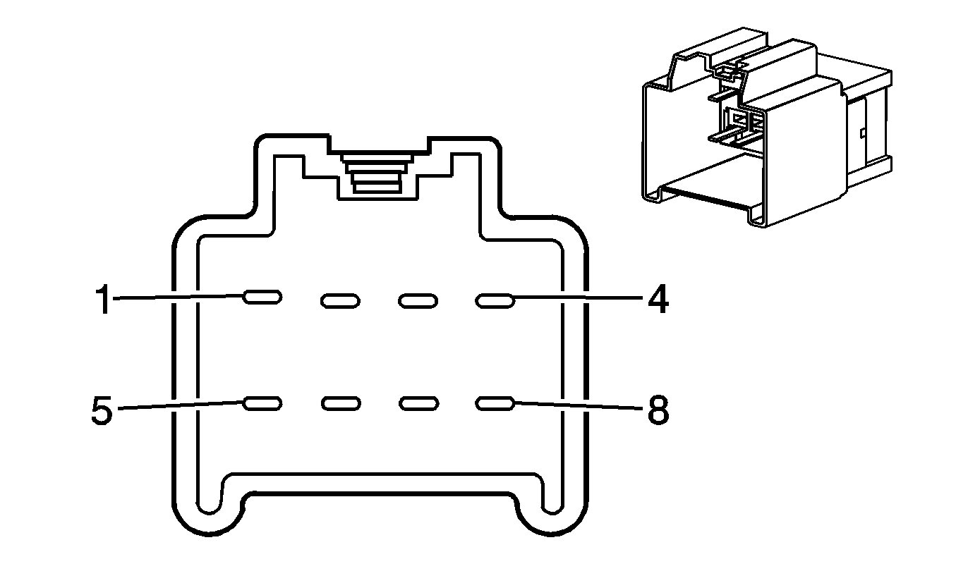
C401 I/P Body Harness to Digital Radio Receiver (U2K)


Object Number: 556473  Size: CH

Object Number: 542307  Size: CH

Connector Part Information

  • OEM: 15326924
  • Service: 15306174
  • Description: 8-Way F GT 280 (BK)

Connector Part Information

  • OEM: 15326928
  • Service: 88988064
  • Description: 8-Way M GT 280 (BK)

Terminal Part Information

  • Pins: A, B, C, D, E, F, G
  • Terminal/Tray: 15304711/8
  • Core/Insulation Crimp: E/A
  • Release Tool/Test Probe: 15315247/J-35616-4A (PU)

Terminal Part Information

  • Terminal/Tray: See Terminal Repair Kit
  • Core/Insulation Crimp: See Terminal Repair Kit
  • Release Tool/Test Probe: See Terminal Repair Kit

C401 I/P Body Harness to Digital Radio Receiver (U2K)

Pin

Wire Color

Circuit No.

Function

Pin

Wire Color

Circuit No.

Function

A

BN/WH

367

Left Audio Signal (+) (UQ3)

A

BN/WH

367

Left Audio Signal (+)

B

D-GN/WH

368

Right Audio Signal (+) (UQ3)

B

D-GN/WH

368

Right Audio Signal (+)

C

D-GN (Early)

5060

Low Speed GM LAN Serial Data

C

D-GN

5060

Low Speed GM LAN Serial Data

L-GN/RD (Late)

D

BK/WH

551

Ground

D

BK/WH

551

Ground

E

TN/WH

372

Audio Common (UQ3)

E

TN/WH

372

Audio Common

F

BK

814

Drain

F

BK

814

Drain

G

RD/WH

1340

Battery Positive Voltage

G

RD/WH

1340

Battery Positive Voltage

H

--

--

Not Used

H

--

--

Not Used

C406 I/P Body Harness to Chassis Harness


Object Number: 1552599  Size: CH

Object Number: 1592584  Size: CH

Connector Part Information

  • OEM: E-5225-001
  • Service: 88988066
  • Description: 8-Way F Series Sealed (BK)

Connector Part Information

  • OEM: E-5222-003
  • Service: 88988067
  • Description: 8-Way M (BU)

Terminal Part Information

  • Pins: 1-3, 6-8
  • Terminal/Tray: 7116-4102-08/9
  • Core/Insulation Crimp: E/1
  • Release Tool/Test Probe: 12094430/J-35616-2A (GY)
  • Pins: 4
  • Terminal/Tray: 7116-4103-08/9
  • Core/Insulation Crimp: E/1
  • Release Tool/Test Probe: 12094430/J-35616-2A (GY)

Terminal Part Information

  • Pins: 1-3, 6-8
  • Terminal/Tray: 7114-4102-08/9
  • Core/Insulation Crimp: E/1
  • Release Tool/Test Probe: 12094430/J-35616-3 (GY)
  • Pins: 4
  • Terminal/Tray: 7114-4103-08/9
  • Core/Insulation Crimp: E/1
  • Release Tool/Test Probe: 12094430/J-35616-3 (GY)

C406 I/P Body Harness to Chassis Harness

Pin

Wire Color

Circuit No.

Function

Pin

Wire Color

Circuit No.

Function

1

RD/WH

140

Battery Positive Voltage

1

RD/WH

140

Battery Positive Voltage

2

WH

1310

EVAP Canister Vent Solenoid Control

2

WH

1310

EVAP Canister Vent Solenoid Control

3

PU

1589

Fuel Level Sensor Signal

3

PU

1589

Fuel Level Sensor Signal

4

GY

120

Fuel Pump Supply Voltage

4

GY

120

Fuel Pump Supply Voltage

5

--

--

Not Used

5

--

--

Not Used

6

TN

2759

Low Reference

6

TN

2759

Low Reference

7

D-GN

890

Fuel Tank Pressure Sensor Signal

7

D-GN

890

Fuel Tank Pressure Sensor Signal

8

GY

2709

5-Volt Reference

8

GY

2709

5-Volt Reference

C408 Chassis Harness to I/P Body Harness


Object Number: 1552599  Size: CH

Object Number: 1592584  Size: CH

Connector Part Information

  • OEM: E-5225-001
  • Service: 88988066
  • Description: 8-Way F Series Sealed (BK)

Connector Part Information

  • OEM: E-5222-003
  • Service: 88988067
  • Description: 8-Way M (BU)

Terminal Part Information

  • Pins: 6-8
  • Terminal/Tray: 7116-4102-08/9
  • Core/Insulation Crimp: E/1
  • Release Tool/Test Probe: 12094430/J-35616-2A (GY)
  • Pins: 1-5
  • Terminal/Tray: 7116-4103-08/9
  • Core/Insulation Crimp: E/1
  • Release Tool/Test Probe: 12094430/J-35616-2A (GY)

Terminal Part Information

  • Pins: 2-6, 8
  • Terminal/Tray: 7114-4102-08/9
  • Core/Insulation Crimp: E/1
  • Release Tool/Test Probe: 12094430/J-35616-3 (GY)
  • Pins: 1, 7
  • Terminal/Tray: 7114-4103-08/9
  • Core/Insulation Crimp: E/1
  • Release Tool/Test Probe: 12094430/J-35616-3 (GY)

C408 Chassis Harness to I/P Body Harness

Pin

Wire Color

Circuit No.

Function

Pin

Wire Color

Circuit No.

Function

1

BK

750

Ground

1

BK

750

Ground

2

TN

884

Left Rear Wheel Speed Sensor Signal (JL9)

2

TN

884

Left Rear Wheel Speed Sensor Signal (JL9)

3

OG

885

Left Rear Wheel Speed Sensor Low Reference (JL9)

3

OG

885

Left Rear Wheel Speed Sensor Low Reference (JL9)

4

BN

882

Right Rear Wheel Speed Sensor Signal (JL9)

4

BN

882

Right Rear Wheel Speed Sensor Signal (JL9)

5

WH

883

Right Rear Wheel Speed Sensor Low Reference (JL9)

5

WH

883

Right Rear Wheel Speed Sensor Low Reference (JL9)

6

YE

18

Left Rear Stop/Turn Lamp Supply Voltage

6

YE

18

Left Rear Stop/Turn Lamp Supply Voltage

7

BN

9

Tail/License Lamps Supply Voltage

7

BN

9

Tail/License Lamps Supply Voltage

8

D-GN

19

Right Rear Stop/Turn Lamp Supply Voltage

8

D-GN

19

Right Rear Stop/Turn Lamp Supply Voltage