GM Service Manual Online
For 1990-2009 cars only

Windshield wiper blades should be inspected for wear and cracking. See At Least Twice a Year for more information.

Replacement blades come in different types and are removed in different ways. For proper type and length, see Maintenance Replacement Parts .


Object Number: 811525  Size: B3

To replace the windshield wiper blade assembly do the following:

  1. Lift the wiper arm away from the windshield.

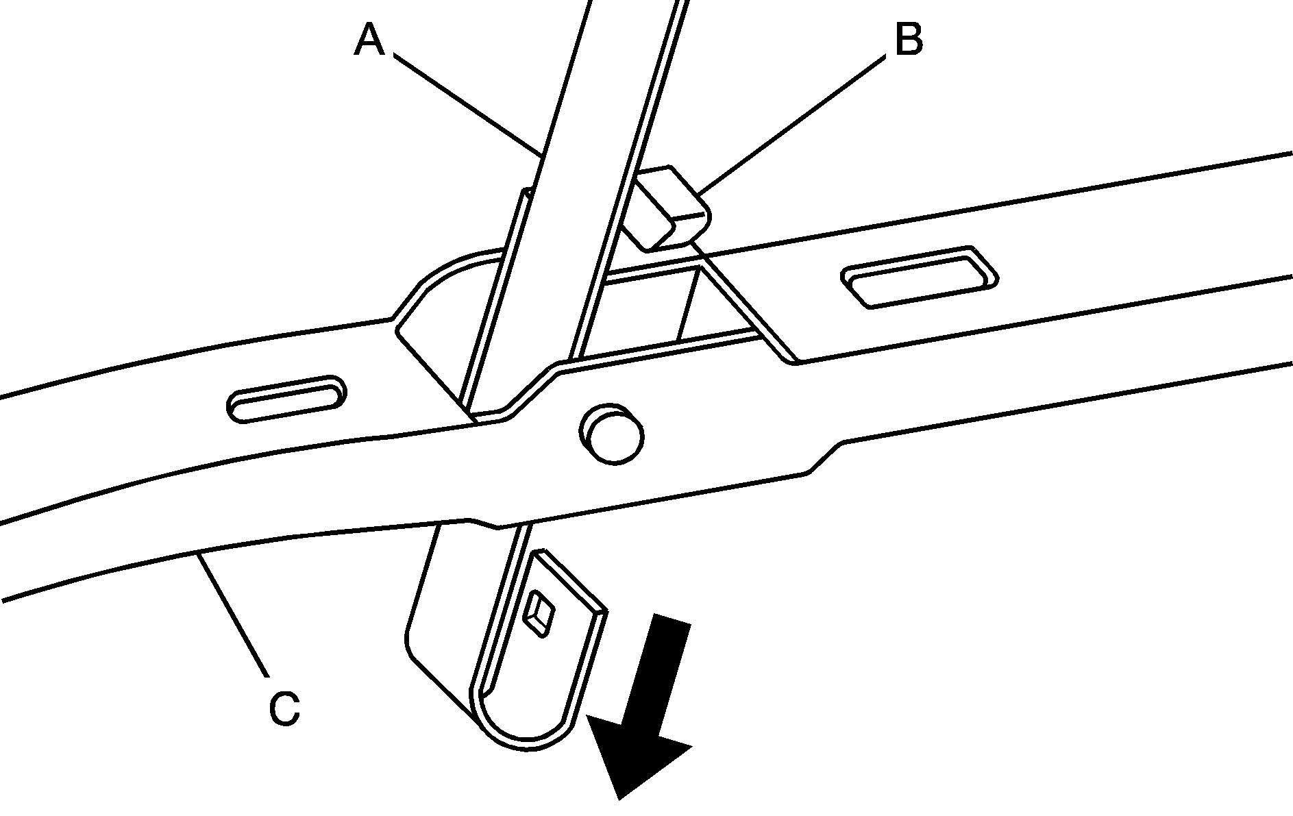
  2. Object Number: 1486053  Size: B3
  3. Push the release lever (B) to disengage the hook and push the wiper arm (A) out of the blade (C).
  4. Push the new wiper blade securely on the wiper arm until you hear the release lever click into place.