GM Service Manual Online
For 1990-2009 cars only

Information on New Rear Compartment Accessory Door Cover Installation

Subject:Information on New Rear Compartment Accessory Door Cover Installation

Models:2006-2007 Pontiac Solstice
2007 Saturn SKY
2007 Opel GT
2007 Daewoo G2X



A new replacement rear compartment accessory door cover may not close. The new design accessory door cover contains a self-centering latch which requires a slot in the rear compartment seat back body trim panel before the door can latch.


Object Number: 2084091  Size: SH

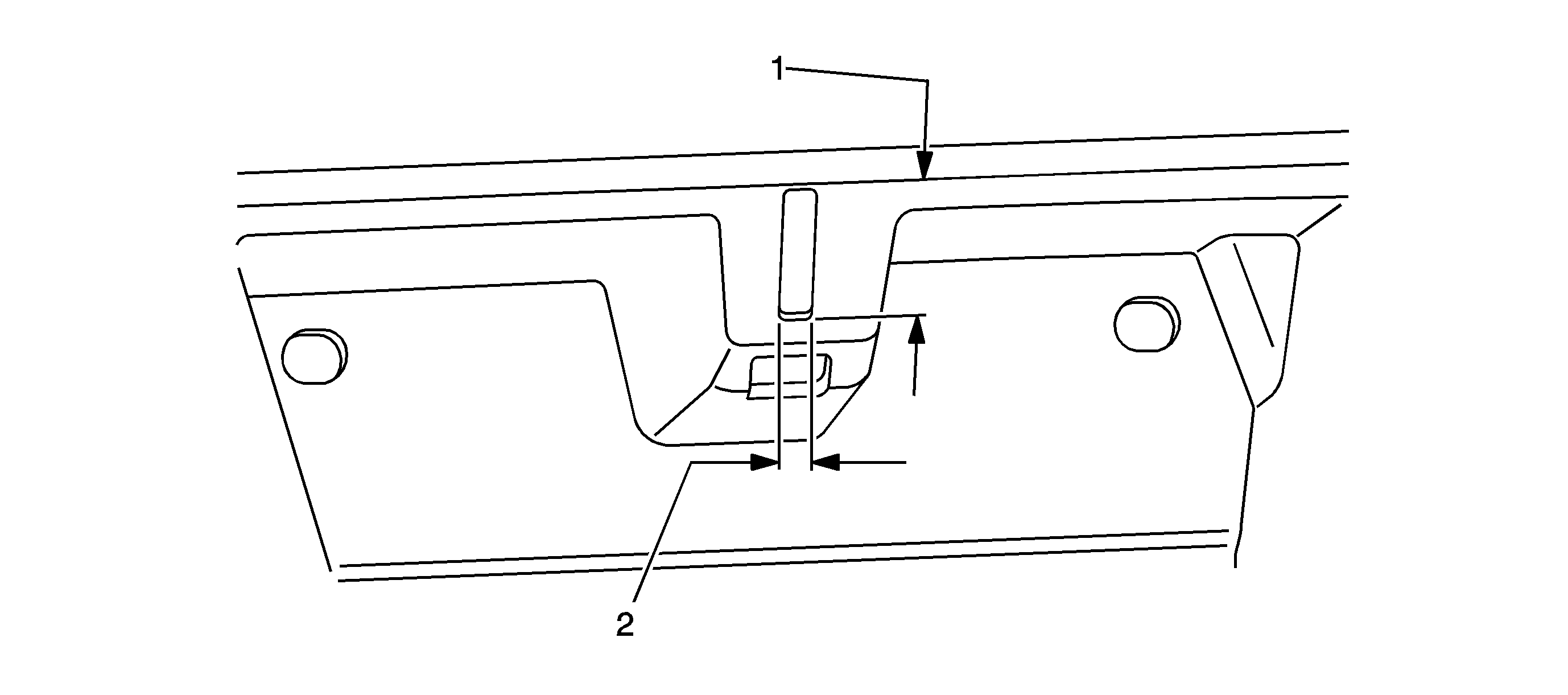
Some early build vehicles did not contain this slot (1) inside the rear compartment trim panel pocket.

The rear compartment seat back body trim panel may need to be modified using this procedure below.

  1. Replace the rear compartment accessory door cover. Refer to Rear Compartment Accessory Door Cover Replacement in SI.
  2. Locate the center of the door latch in relation to the rear compartment seat back body trim panel.
  3. 2.1. Apply a piece of masking tape to the inside center support of the compartment.
    2.2. Gently push the door up against the masking tape.
    2.3. Open the accessory door.

    Object Number: 2084093  Size: SH
    2.4. Locate the outline of the latch in the masking tape (1).
    2.5. Mark the center of the door latch in relation to the center support of the compartment.
    2.6. Remove the masking tape.

    Object Number: 2083272  Size: SF
  4. Measure and mark the desired slot opening to 28 mm (1-1/8  in) (1) in length by 7 mm (5/16 in) (2) in width.
  5. Apply a piece of masking tape to the bottom painted edge of the center seat back panel.
  6. Using a 7 mm (17/64 in) drill bit, drill a hole into the center of the desired slot.
  7. Make the slot into the center support of the rear compartment seat back body trim panel using a die grinder or DREMEL®.

  8. Object Number: 2084096  Size: SH
  9. Using a square or flat blade file, file the opening inside the slot to remove any burs as shown above.
  10. Remove the masking tape.
  11. Close the door three complete cycles and verify proper operation of the door latch.
  12. Clean out any file shavings from the compartment.