GM Service Manual Online
For 1990-2009 cars only
Makes
🢒
Pontiac
🢒
2006
🢒
Solstice
🢒 Ground, Indicator, Power, Sensors, and Serial Data
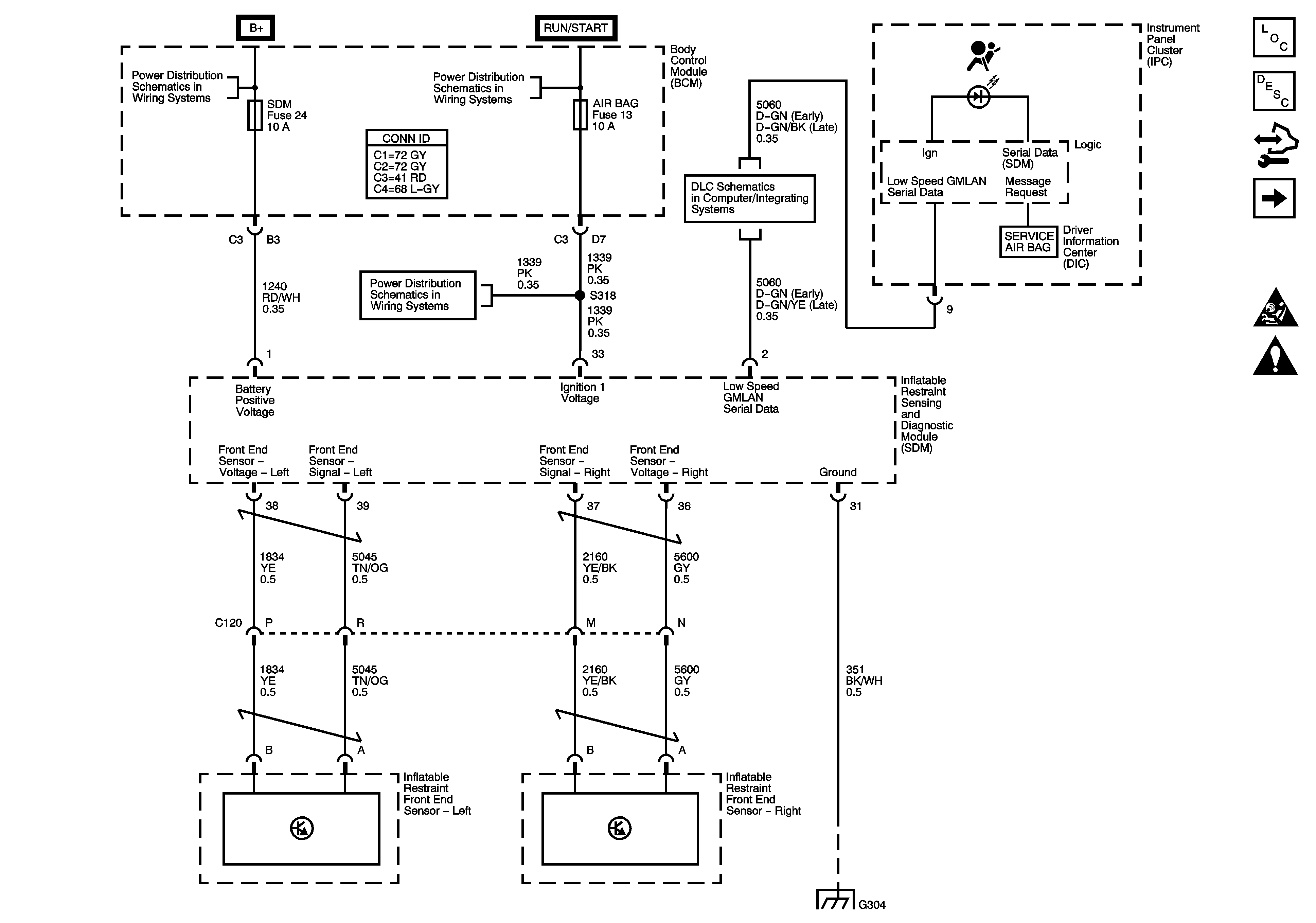
Ground, Indicator, Power, Sensors, and Serial Data
Ground, Indicator, Power, Sensors, and Serial Data
Master Electrical Component List
SIR System Description and Operation
Control Module References
Deployment Loops
BCM, DR LCK, ECM/TCM, INT LIGHT, PWR WNDW, RADIO, and SDM Fuses
AIR BAG, AMP, BCM 2, BCM 3, CLSTR, EPS/STR WHL CNTRL, HVAC/IP IGN, HVAC/PK3+, and WPR Fuses
AIR BAG, AMP, BCM 2, BCM 3, CLSTR, EPS/STR WHL CNTRL, HVAC/IP IGN, HVAC/PK3+, and WPR Fuses
DLC Power, Ground, and Low Speed LAN
G103, G204, G105, G104, and G106