GM Service Manual Online
For 1990-2009 cars only

Caution: Do not try to remove a roof panel while the vehicle is moving. Trying to remove the roof panel while the vehicle is moving could cause an accident. The panel could fall into the vehicle and cause you to lose control, or it could fly off and strike another vehicle. You or others could be injured. Remove the roof panel only when the vehicle is parked.

Until you are sure you can remove the panel alone, have someone help you.

Notice: If you drop or rest a roof panel on its edges, the roof panel, paint and/or weatherstripping may be damaged.

Park on a level surface and set the parking brake. Shift an automatic transmission into (P) Park. Shift a manual transmission into (N) Neutral.

  1. Make sure the ignition is off.
  2. Lower the windows.
  3. There are two release latches on the front of the roof panel and one rear release latch on the back of the roof panel.


    Object Number: 2095048  Size: B3
  4. To unlock the release latches on the front of the roof panel, grasp each handle and pull it outward.

  5. Object Number: 2095093  Size: B3
  6. The driver's side handle moves toward the driver's door. The passenger's side handle moves toward the passenger's door.

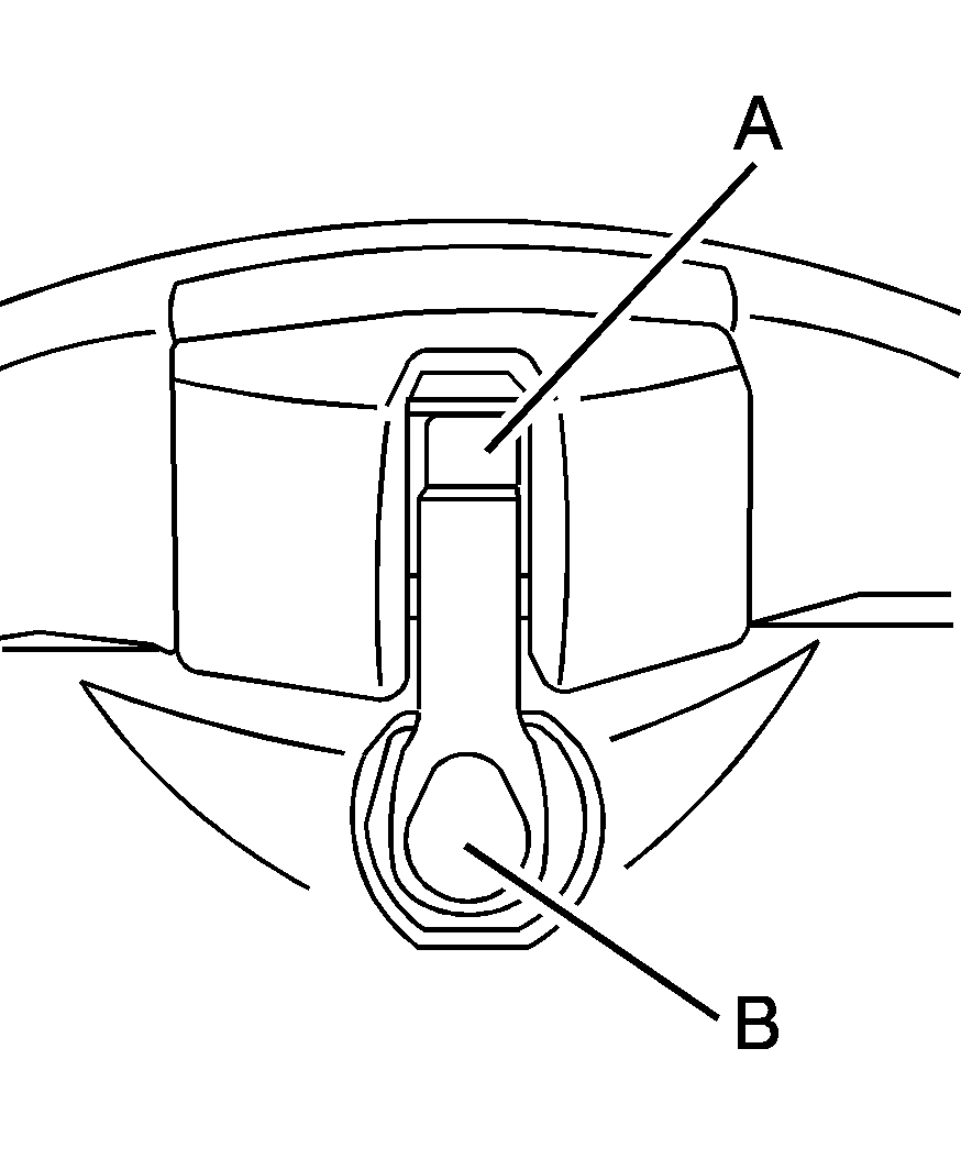
  7. Object Number: 1469178  Size: A3

    To unlock the rear of the roof panel's rear release latch, press the back of the release handle (B). Then press the button on the front of the release handle (A) with your thumb.

  8. Pull down the latch lever.
  9. Stand on one side of the vehicle, and if necessary, have someone stand on the other side. Together, carefully lift the front edge of the roof panel up and forward.
  10. When the roof panel is loosened from the vehicle, one person should grasp the roof panel as close to the center as possible and lift it away from the vehicle.

Storing the Roof Panel

After removing the panel place it on a flat surface with a soft protective covering. The panel must be stored with the interior surface resting flat.