GM Service Manual Online
For 1990-2009 cars only

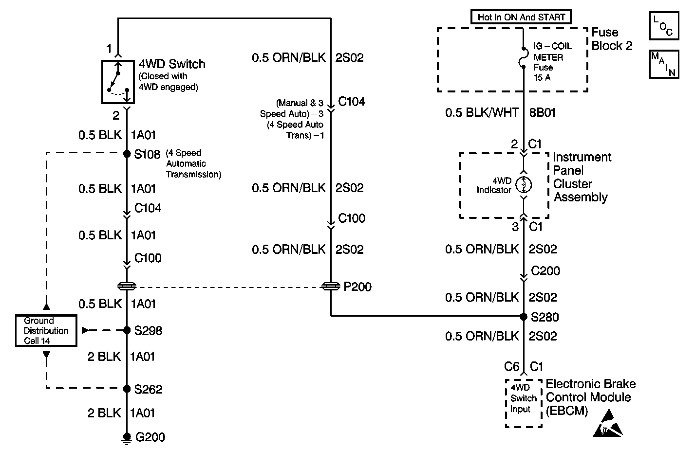
Object Number: 233723  Size: MF
ABS Components
Antilock Brake System Schematics

Circuit Description

Voltage is supplied to the 4WD indicator lamp through the IG COIL METER fuse (hot with ignition switch in ON and START positions.) The 4WD switch is open when the transfer case is set in either 2H or N range.

In 2H mode, CKT 2S02 is supplied with voltage through the 4WD indicator lamp bulb filament. The EBCM senses this voltage and determines the vehicle is in 2H mode.

In 4H/4L mode, CKT 2S02 is grounded by the 4WD switch. This causes the 4WD indicator lamp to turn ON and signals the EBCM that the vehicle is in 4WD.

Conditions for Setting the DTC

    • This DTC can be set anytime after initialization is completed.
    • A malfunction exists if the EBCM detects an open in CKT 2S02.

Action Taken When the DTC Sets

    • A malfunction DTC stores.
    • The ABS remains functional.

Conditions for Clearing the DTC

    • The condition responsible for setting the DTC no longer exists and the Scan Tool Clear DTCs function is used.
    • 100 drive cycles pass with no DTCs detected. A drive cycle consists of starting the vehicle, driving the vehicle over 16 km/h (10 mph), stopping and then turning the ignition off.

Diagnostic Aids

The following conditions may cause an intermittent malfunction:

    • A poor connection
    • Rubbed-through wire insulation
    • A broken wire inside the insulation

Use the enhanced diagnostic function of the Scan Tool in order to measure the frequency of the malfunction.

Thoroughly inspect any circuitry that may cause the intermittent complaint for the following conditions:

    • Backed out terminals
    • Improper mating
    • Broken locks
    • Improperly formed or damaged terminals
    • Poor terminal-to-wiring connections
    • Physical damage to the wiring harness
    • Open in CKT 2S02, 1A01 and/or CKT 8B01.
    • Open 4WD indicator lamp bulb filament.
    • Open IG COIL METER fuse.

Step

Action

Value(s)

Yes

No

1

Was the Diagnostic System Check performed?

--

Go to Step 2

Go to Diagnostic System Check

2

  1. Turn the ignition switch to LOCK.
  2. Check the IG-COIL METER fuse with a fuse tester.

Is IG-COIL METER fuse open?

--

Go to Step 12

Go to Step 3

3

  1. Turn the ignition switch to ON.
  2. Using the Scan Tool , select Data Display and monitor 4WD switch status while shifting the transfer case from 2H to 4H.

Does the Scan Tool display show 4WD switch ON and 4WD lamp circuit ON?

--

Go to Step 11

Go to Step 4

4

Observe the 4WD indicator lamp in the I/P cluster

Is the 4WD indicator lamp ON?

--

Go to Step 13

Go to Step 5

5

  1. Turn the ignition to LOCK.
  2. Remove the I/P cluster.
  3. Remove the 4WD indicator lamp bulb and inspect the filament.

Is the 4WD indicator lamp bulb filament open?

--

Go to Step 14

Go to Step 6

6

  1. Inspect the I/P cluster electrical connectors for poor contact.
  2. Inspect the I/P cluster printed circuit for open 4WD indicator lamp circuit.
  3. Check for an open or high resistance in CKT 8B01.

Do any of these inspections indicate an open circuit?

--

Go to Step 15

Go to Step 7

7

  1. Disconnect the 4WD switch electrical connector.
  2. Make certain the transfer case is set in 4H.
  3. Using the J 39200 , measure the resistance between the 4WD switch terminals (switch side).

Is the resistance measured within the range specified in the Value(s) column?

0-2 ohms

Go to Step 8

Go to Step 16

8

Using the J 39200 , measure the resistance between the 4WD switch harness connector C104 terminal 3 (M/T) or terminal 1 (A/T) and EBCM connector C1 terminal C6.

Is the resistance measured within the range specified in the Value(s) column?

0-2 ohms

Go to Step 9

Go to Step 17

9

  1. Reconnect the I/P cluster.
  2. Turn the ignition switch to ON.
  3. Using the J 39200 , measure the voltage between the EBCM connector C1 terminal C6 and ground.

Is the voltage measured within the range specified in the Value(s) column?

9V or Less

Go to Step 10

Go to Step 18

10

Reconnect the EBCM connector C1, 4WD switch connector, clear DTCs and recheck. If this DTC resets, replace the EBCM. Refer to Electronic Brake Control Module Replacement .

Is the repair complete?

--

Go to Diagnostic System Check

--

11

  1. Using the Scan Tool , clear DTCs and recheck.
  2. Reconnect connector(s).
  3. Using the Scan Tool check for DTCs

Does this reset as a current DTC?

--

Go to Step 4

Go to Step 19

12

Replace IG-COIL METER fuse, clear DTCs and recheck.

Is the repair complete?

--

Go to Diagnostic System Check

--

13

Turn the ignition switch to LOCK.

Disconnect EBCM connector C1.

Is the action complete?

--

Go to Step 7

--

14

Replace the 4WD indicator bulb.

Is the repair complete?

--

Go to Diagnostic System Check

--

15

Repair open or high resistance in CKT 8B01.

Is the repair complete?

--

Go to Diagnostic System Check

--

16

Replace the 4WD switch. Refer to Selector Switch Replacement in Transfer Case.

Is the repair complete?

--

Go to Diagnostic System Check

--

17

Repair open or high resistance in CKT 2S02.

Is the repair complete?

--

Go to Diagnostic System Check

--

18

Repair open or high resistance in CKT 2S02.

Is the repair complete?

--

Go to Diagnostic System Check

--

19

Malfunction not present at this time. Refer to Diagnostic Aids for additional information regarding this DTC.

Is the action complete?

--

Go to Diagnostic System Check

--