GM Service Manual Online
For 1990-2009 cars only
Table 1: IAC Duty to Voltage Relation
Table 2: Idle Speed Settings

Idle Speed/Idle Air Control (IAC) Duty Adjustment (using a Scan Tool)

Inspection Procedure

Check following components for correct condition and operation.

Important: Before starting the engine, place the manual selector in P (automatic transaxle) or place the gearshift control lever in neutral (manual transaxle), set the parking brake and block the drive wheels.

    • Check the accelerator cable for free movement and excessive play. Cable free play should be within specification.
    • Inspect the lead wires and the hoses of the Sequential Multiport Fuel Injection (SFI) and the Evaporative Emission (EVAP) control systems for being connected securely.
    • Check the ignition timing. Adjust the ignition timing if necessary.
    • Turn OFF all accessories (A/C, wipers, heater, lights, etc.).
    • Make sure that the Air Cleaner (ACL) is installed correctly.
    • Check the Air Induction system for restrictions.
    • Check the vacuum hoses for correct routing. Refer to the Emission Label.
    • Check for vacuum leaks, repair as necessary.

Adjustment Procedure

Important: 

   • The IAC Calibration Mode is an internal function in the PCM and is used to provide a base duty cycle. Therefore, when the vehicle is in the IAC Calibration Mode the IAC Duty Cycle will read approximately 50%. But, when in a normal idle state and reviewing the Engine Data List the IAC Duty Cycle will read approximately 25%, this is to be considered normal operation.
   • If the IAC Duty remains unchanged when the adjusting screw is turned, check the duty output terminal circuit, A/C signal circuit, PSP switch signal circuit, PNP switch circuit (A/T) and ECT sensor performance.

  1. Start the engine.
  2. Allow the engine to reach normal operating temperature.
  3. Connect a scan tool.
  4. Using the scan tool, select IAC Calibration. This parameter is listed under Special Functions.
  5. Check the IAC duty cycle. The IAC duty cycle should read 50 percent with the correct engine idle speed. Refer to the Idle Speed Settings table.
  6. Adjust the idle speed by turning the Idle Air Control (IAC) duty adjusting screw.
  7. Disconnect the scan tool.
  8. Install the Idle Air Control (IAC) duty adjusting screw plug.
  9. Check the specified idle speed is obtained with the A/C ON (If equipped with A/C). Refer to Idle Speed Settings table below.

Idle Speed/Idle Air Control (IAC) Duty Adjustment (using a DMM)

Inspection Procedure

Check following components for correct condition and operation.

Important:  Before starting the engine, place the manual selector in P (automatic transaxle) or place the gearshift control lever in neutral (manual transaxle), set the parking brake and block the drive wheels.

    • Check the accelerator cable for free movement and excessive play. Cable free play should be within specification.
    • Inspect the lead wires and the hoses of the Sequential Multiport Fuel Injection (SFI) and the Evaporative Emission (EVAP) control systems for being connected securely.
    • Check the ignition timing. Adjust the ignition timing if necessary.
    • Turn OFF all accessories (A/C, wipers, heater, lights, etc.).
    • Make sure that the Air Cleaner (ACL) is installed correctly.
    • Check the Air Induction system for restrictions.
    • Check the vacuum hoses for correct routing. Refer to the Emission Label.
    • Check for vacuum leaks, repair as necessary.

Adjustment Procedure

Tools Required

J 39200 Digital Multmeter

Important: 

   • The IAC Calibration Mode is an internal function in the PCM, and is used to provide a base duty cycle. Therefore, when the vehicle is in the IAC Calibration Mode ( terminal 2 and 4 are jumpered on the Duty Check Data Link Connector) the IAC Duty Cycle will read approximately 50% and may seem to be out of specifications, this should be considered normal operation.
   • When the IAC Duty is OFF, the DMM will read approximately 100% (0 volts).
   • When setting the IAC Duty, the duty cycle must be ON to obtain the correct reading.
   • If the IAC Duty remains unchanged when the adjusting screw is turned, check the duty output terminal circuit, A/C signal circuit, PSP switch signal circuit, PNP switch circuit (A/T) and ECT sensor performance.

  1. Start the engine.
  2. Allow the engine to reach normal operating temperature.
  3. Connect a tachometer.
  4. Monitor the engine speed.

  5. Object Number: 155937  Size: SH
  6. Connect a fused jumper wire from terminal 2 (diagnostic request ) to terminal 4 (ground) of the Duty Check Data Link Connector

  7. Object Number: 155934  Size: SH
  8. Connect a J 39200 DMM from terminal 6 (duty check) to terminal 4 (ground) of the Duty Check Data Link Connector.
  9. Check the idle speed and the IAC duty on the DMM. The IAC duty should read 50 percent or 7 volts with the correct engine idle speed. Refer to the IAC Duty to Voltage Relation table and Idle Speed Settings Table.

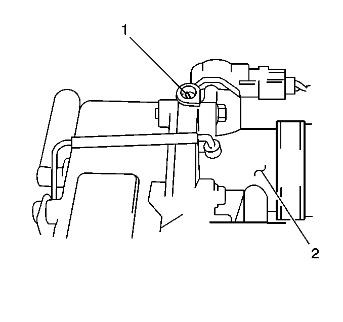
  10. Object Number: 55274  Size: SH
  11. Remove the plug over the idle air control (IAC) duty adjusting screw and adjust the idle speed by turning the IAC duty adjusting screw (1).
  12. Remove the fused jumper wire from the duty check data link connector.
  13. Disconnect the J 39200 DMM from the duty check data link connector.
  14. Disconnect the tachometer.
  15. Install the plug over the IAC duty adjusting screw .
  16. Check that the specified idle speed is obtained with the A/C ON (If equipped with A/C). Refer to the Idle Speed Settings table.

Important: In the table below the battery voltage represents battery voltage when the vehicle is running.

IAC Duty to Voltage Relation

IAC Duty ON Time Indicated on DMM

IAC Duty OFF Time Indicated on DMM

Voltage Indicated on DMM

0%

100%

0 volts

50%

50%

0.5 x Battery Voltage

100%

0%

Battery Voltage

Idle Speed Settings

Transmission

A/C OFF

A/C ON

Manual

750 - 850 RPM

950 - 1050 RPM

Automatic

P or N

750 - 850 RPM

950 -1050 RPM

Automatic

R, D, 2, or L

750 - 850 RPM

750 - 850 RPM