GM Service Manual Online
For 1990-2009 cars only

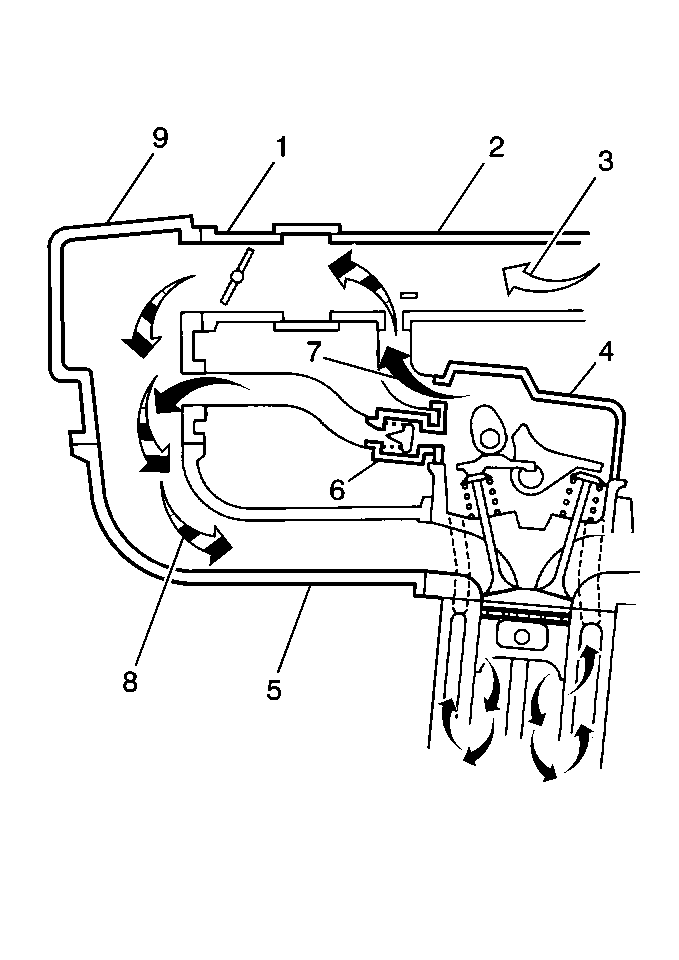
Object Number: 55682  Size: MH
(1)Throttle Body
(2)Air Intake Pipe
(3)Fresh Air
(4)Cylinder Head
(5)Intake Manifold
(6)PCV Valve
(7)Blow-By Gas
(8)Blow-by Gas and Fresh Air Mixure
(9)Intake Surge Tank

The compressed combustion gas which escapes past the piston rings into the crankcase is known as blow-by gas. Blow-by gas contains large amounts of CO and HC. The Positive Crankcase Ventilation (PCV) system prevents the blow-by gas from being emitted into the atmosphere. The Positive Crankcase Ventilation (PCV) system consists of the PCV valve, the air intake (breather) hoses or couplers and the air inlet filter or separator (If used).

Operation of the PCV System

The primary control of engine crankcase blow-by gas is through the PCV valve which meters the flow at a rate depending on manifold vacuum. The Positive Crankcase Ventilation (PCV) system operates as follows:

    • When the vacuum in the intake manifold is low (throttle valve open), the PCV valve is wide open due to its spring force. Thus a large amount of the blow-by gas is drawn into the intake manifold.
    • When the vacuum in the manifold is high, the PCV valve opening is limited due to the high vacuum. Thus the amount of the blow-by gas drawn into the intake manifold is small.

To maintain idle quality, the PCV valve restricts the flow of blow-by gas whenever intake manifold vacuum is high. When abnormally high crankcase (blow-by gas) pressure occurs, the system is designed to allow the excess quantity of blow-by gases to flow back through the crankcase vent tube into the air cleaner to be consumed by normal combustion.

Results Of Incorrect Operation of the PCV System

A plugged valve or hose may cause any of the following conditions:

    • A rough idle.
    • Stalling or slow idle speed.
    • High crankcase pressure
    • Oil leaks.
    • Oil in air cleaner.
    • Sludge in engine.
    • Oil consumption
    • Excessive exhaust emissions

A leaking valve or hose may cause any of the following conditions:

    • A rough idle.
    • Stalling.
    • High idle speed.
    • Incorrect crankcase pressure
    • Excessive exhaust emissions