GM Service Manual Online
For 1990-2009 cars only

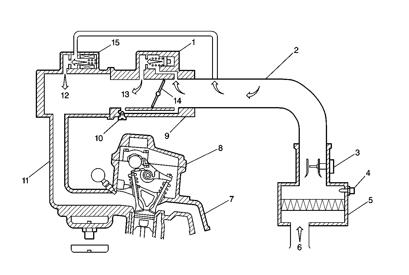
Air Induction System


Object Number: 55585  Size: MF
(1)Fast Idle Air Vavle
(2)Air Intake Pipe
(3)Mass Air Flow (MAF) Sensor
(4)Intake Air Temperature (IAT) Sensor
(5)Air Cleaner (ACL)
(6)Fresh Air
(7)Exhaust Manifold
(8)Cylinder Head
(9)Throttle Body
(10)Idle Speed Adjusting Screw
(11)Intake Manifold
(12)Air flow when engine is cold
(13)Air flow when IAC valve is open
(14)Throttle Valve
(15)Idle Air Control (IAC) Valve

The air induction system draws outside air through a forward mounted air cleaner (ACL) assembly (5). The intake air passes through the Mass Air Flow (MAF) (1) sensor, a resonator and the air inlet duct (2) to the throttle body. The air then flows into the intake manifold, through the cylinder head and into the combustion chamber. An air filter element is incorporated into the air cleaner assembly to keep dirt from entering the engine.