GM Service Manual Online
For 1990-2009 cars only

Clutch Assembly


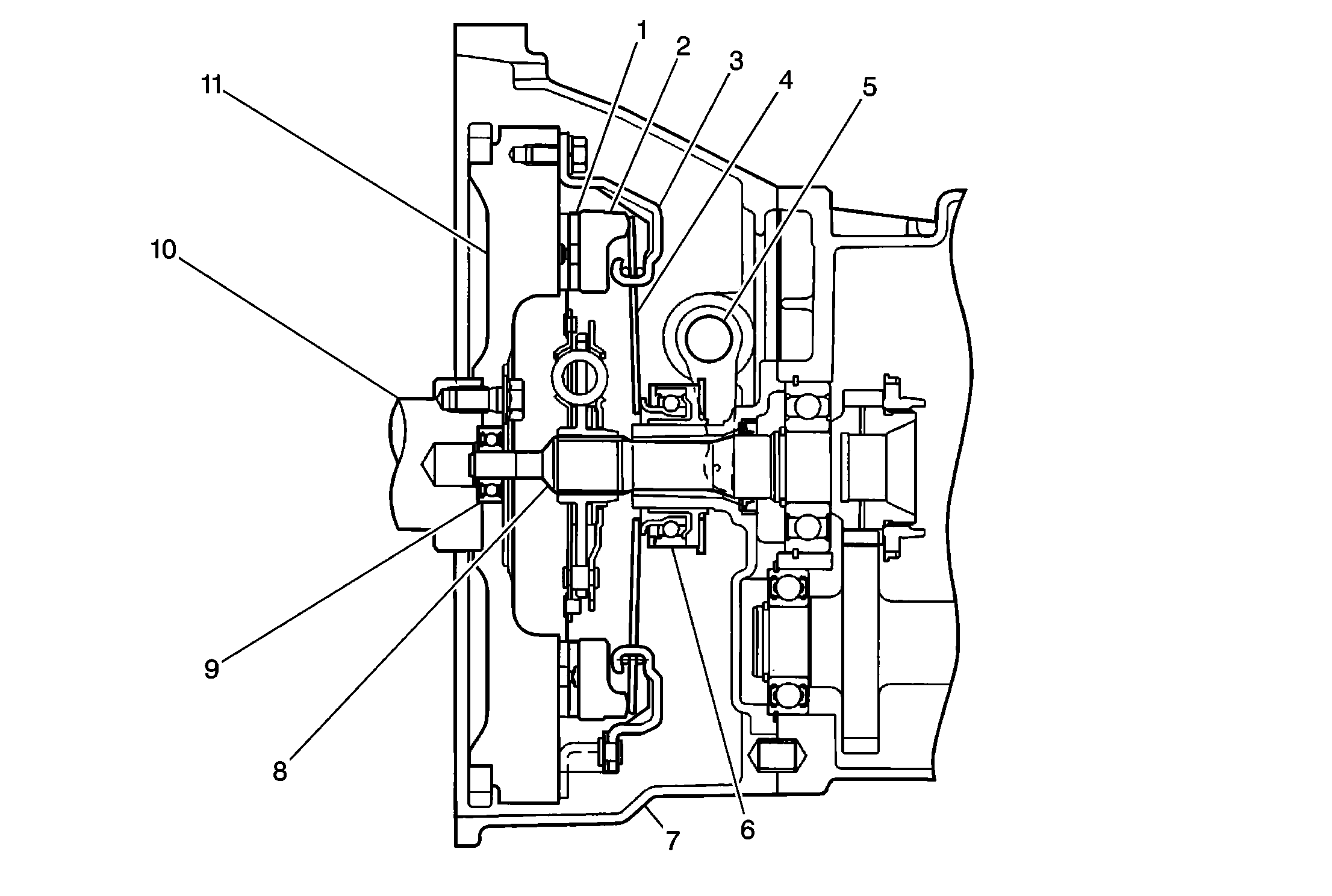
Object Number: 182880  Size: MF

The clutch assembly contains three major components: The clutch disc (1), the pressure plate (2) and the clutch release bearing (6). The clutch disc (1) is a single, dry disc fitted with four torsional coil springs which help to reduce shock upon engine engagement with the transmission, The hub of the clutch disc is splined to the transmission input shaft causing the transmission to turn when the clutch disc (1) is engaged. The pressure plate cover (3), which contains the pressure plate (2) and its diaphragm spring (4), is bolted to the engine flywheel. Pressure on the diaphragm spring (4) is controlled by a set of tapering levers which surround the diaphragm spring (4). The clutch release bearing (6) rests against the diaphragm spring levers. When the clutch is engaged (clutch pedal released), the pressure plate (2) presses the clutch disc (1) against the flywheel (11) causing the clutch disc (1) to turn and rotate the transmission input shaft.

When the clutch disc (1) is disengaged (clutch pedal depressed), the clutch release bearing (6) pushes in on the diaphragm spring levers, releasing pressure against the clutch disc (1) and disengaging engine torque to the transmission input shaft.

The clutch assembly is engaged and disengaged by a release shaft. This release shaft is connected to the clutch cable by the clutch release lever.

The clutch cable is connected to the clutch pedal. When the clutch pedal is depressed, the clutch cable pulls the release lever and turns the release shaft. The release shaft pushes the release bearing into the diaphragm spring levers--releasing pressure against the clutch disc (1) and disengaging it.