GM Service Manual Online
For 1990-2009 cars only

Tools Required

    • J 23084 Seal Protector
    • J 23075 Third Clutch Spring Compressor
    • J 23075-12 Adapter
    • J 36850 Transjel®

    Object Number: 180762  Size: SH
  1. Lubricate the third clutch piston inner seal (321) with DEXRON® III automatic transmission fluid.
  2. Install the third clutch piston inner seal (321). The seal lip faces the bottom of the housing.

  3. Object Number: 180763  Size: SH
  4. Lubricate the third clutch piston outer seal (320) with DEXRON® III automatic transmission fluid.
  5. Install the third clutch piston outer seal (320). The seal lip faces away from the spring seat.

  6. Object Number: 180764  Size: SH
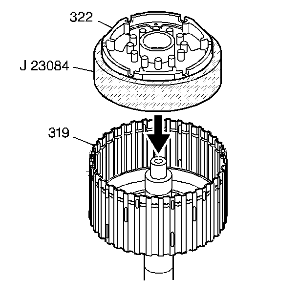
  7. Install J 23084 onto the third clutch piston (322).
  8. Install the third clutch piston into the clutch drum (319).
  9. Remove J 23084 .

  10. Object Number: 180766  Size: SH
  11. Install the third clutch piston return springs (229).
  12. Install the spring seat (324).
  13. Place the retaining ring (325) onto the housing.

  14. Object Number: 180760  Size: SH
  15. Place the third clutch housing and input shaft assembly (319) in a press with the turbine shaft facing down.
  16. Compress the third clutch piston springs using J 23075 and J 23075-12 . Do not over stress the springs and seat. This will cause damage to the spring seat.
  17. Install the spring seat retainer ring (325).
  18. Remove the tools.

  19. Object Number: 180774  Size: SH
  20. Place the third clutch housing and input shaft assembly (319) upright into a soft jawed vise.
  21. Install the third clutch cushion plate (338) into the third clutch housing. The bevel faces toward the third clutch housing (convex).
  22. Install the third clutch plates into the third clutch housing beginning with a steel plate (326) and alternating with a composite plate (327).
  23. Align the third clutch plates inner tangs.

  24. Object Number: 180775  Size: SH
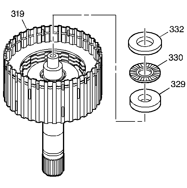
  25. Install the turbine shaft to sun gear bearing (330) and thrust washers (329, 332).