GM Service Manual Online
For 1990-2009 cars only

Tools Required

    • J 21359-A Seal Installer
    • J 23082-A Converter Housing to Pump Alignment Tool

    Object Number: 181645  Size: SH
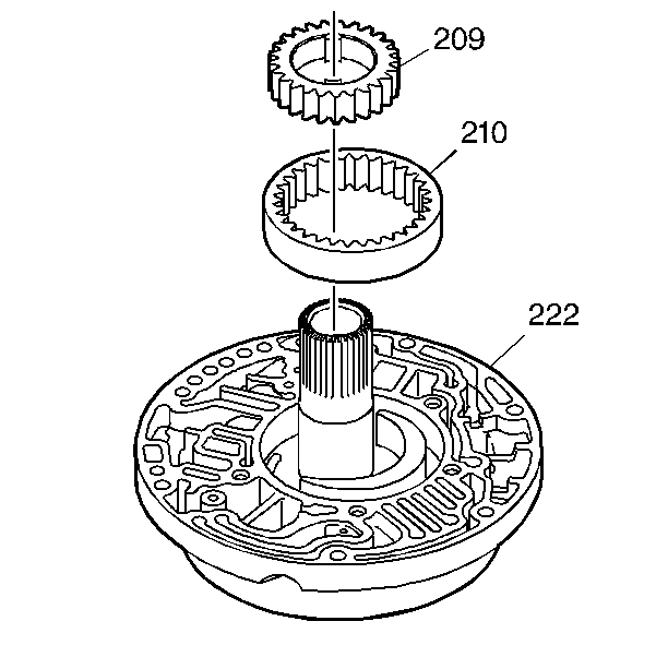
  1. Install the transmission oil pump drive (209) and driven gears (210) with the identification marks facing up.

  2. Object Number: 181646  Size: SH
  3. Install the oil pump wear plate (208) onto the oil pump assembly (222).

  4. Object Number: 181647  Size: SH
  5. Install the converter housing oil seal (204) using J 21359-A .

  6. Object Number: 181648  Size: SH
  7. Place the converter housing (205) onto the oil pump assembly (222).
  8. Loosely install the converter housing to oil pump bolts (202).

  9. Object Number: 181649  Size: SH

    Important:: Failure to use J 23082-A will cause damage to the transmission oil pump when the transmission is operated after assembly.

  10. Install J 23082-A . J 23082-A should rest on the oil pump drive gear.
  11. Tighten all of the converter housing to oil pump bolts to half torque.
  12. Complete tightening the bolts.
  13. Tighten
    Tighten to 19 N·m (14 lb ft).

    Refer to Fastener Notice .

  14. Remove J 23082-A .