GM Service Manual Online
For 1990-2009 cars only

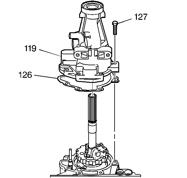
    Object Number: 204136  Size: SH
  1. Install the extension housing to case gasket (126).
  2. Install the extension housing (119). Align the parking pawl actuator rod into the opening in the extension housing.
  3. Install the extension housing bolts (127).
  4. Tighten
    Tighten the bolts to 31 N·m (23 lb ft).

    Refer to Fastener Notice .

Tools Required

    • J 21426 Extension Housing Seal Installer
    • J 36850 Transmission Assembly Lubricant
    • J 23062-14 Extension Housing Bushing Remover and Installer
    • J 8092 Driver Handle

    Object Number: 166302  Size: SH
  1. Use the J 23062-14 and a J 8092 in order to install the extension bearing into the extension housing (1).

  2. Object Number: 166269  Size: SH
  3. Use the J 21426 in order to install the extension housing seal into the extension housing (1).

  4. Object Number: 166300  Size: SH
  5. Install the following items into the extension housing (1):
  6. • The parking lock pawl return spring (4)
    • The parking lock pawl shaft (3)
    • The parking lock pawl (2)
  7. Install a new extension housing gasket and extension housing to the transmission case.
  8. Notice: Use the correct fastener in the correct location. Replacement fasteners must be the correct part number for that application. Fasteners requiring replacement or fasteners requiring the use of thread locking compound or sealant are identified in the service procedure. Do not use paints, lubricants, or corrosion inhibitors on fasteners or fastener joint surfaces unless specified. These coatings affect fastener torque and joint clamping force and may damage the fastener. Use the correct tightening sequence and specifications when installing fasteners in order to avoid damage to parts and systems.


    Object Number: 166297  Size: SH
  9. Install the 7 extension housing bolts (2).
  10. Tighten
    Tighten the bolts (2) to 31 N·m (23 lb ft).

  11. Connect the rear transmission crossmember to the undercarriage using the 4 crossmember bolts.
  12. Tighten
    Tighten the crossmember bolts to 60 N·m (44 lb ft).

  13. Install the 2 rear transmission mount bolts.
  14. Tighten
    Tighten the transmission mount bolts to 60 N·m (44 lb ft).

  15. Remove the hydraulic jack from under the transmission.
  16. Install the exhaust pipe bracket to the extension housing and the catalytic converter.
  17. Use the 2 exhaust pipe bracket bolts and nuts in order to secure the exhaust pipe bracket.

    Tighten
    Tighten the bolts and nuts to 23 N·m (17 lb ft).

  18. Apply J 36850 to the speedometer driven gear case O-ring.
  19. Install the speedometer driven gear case into the extension housing.

  20. Object Number: 166253  Size: SH
  21. Install the speedometer guide bracket to the extension housing.
  22. Use the speedometer guide bracket bolt (1) in order to secure the speedometer guide bracket.

    Tighten
    Tighten the speedometer guide bracket bolt (1) to 9 N·m (80 lb in).

  23. Connect the speedometer cable (2) to the speedometer driven gear case.
  24. Install the new transmission fluid pan gasket and the fluid pan onto the transmission. Refer to Transmission Fluid Pan Removal .
  25. Install the rear propeller shaft into the vehicle. Refer to Propeller Shaft Replacement in Propeller Shaft.
  26. Align the reference marks on the pinion flange yoke and the differential pinion flange made during rear propeller shaft removal.
  27. Install the four pinion flange bolts and nuts.
  28. Tighten
    Tighten the pinion flange bolts and nuts to 50 N·m (37 lb ft).

  29. Lower the vehicle.
  30. Refill the transmission as necessary.