GM Service Manual Online
For 1990-2009 cars only
Makes
🢒
Pontiac
🢒
1997
🢒
Sun Runner - 4WD (Canada)
🢒
Transmission/Transaxle
🢒
Automatic Transmission - 3L30
🢒 Governor Hub Installation
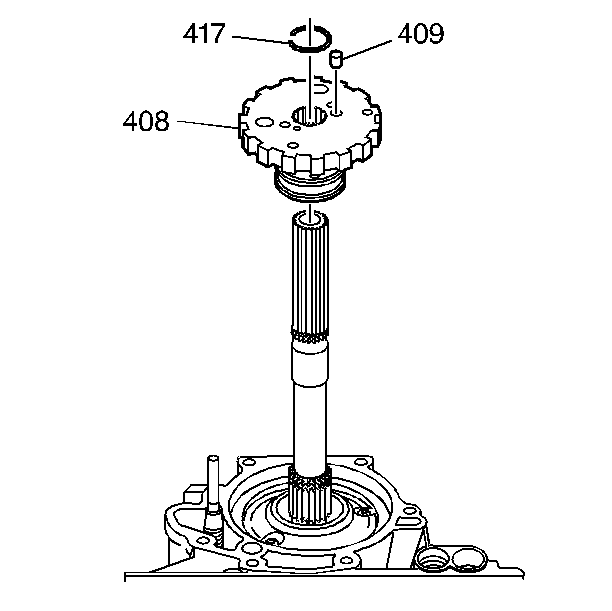
Install the governor hub oil seals (406).
Install the governor hub oil screen (409) flush with the governor hub (408).
Install the governor hub assembly (408).
Install the governor hub retainer ring (417).