GM Service Manual Online
For 1990-2009 cars only

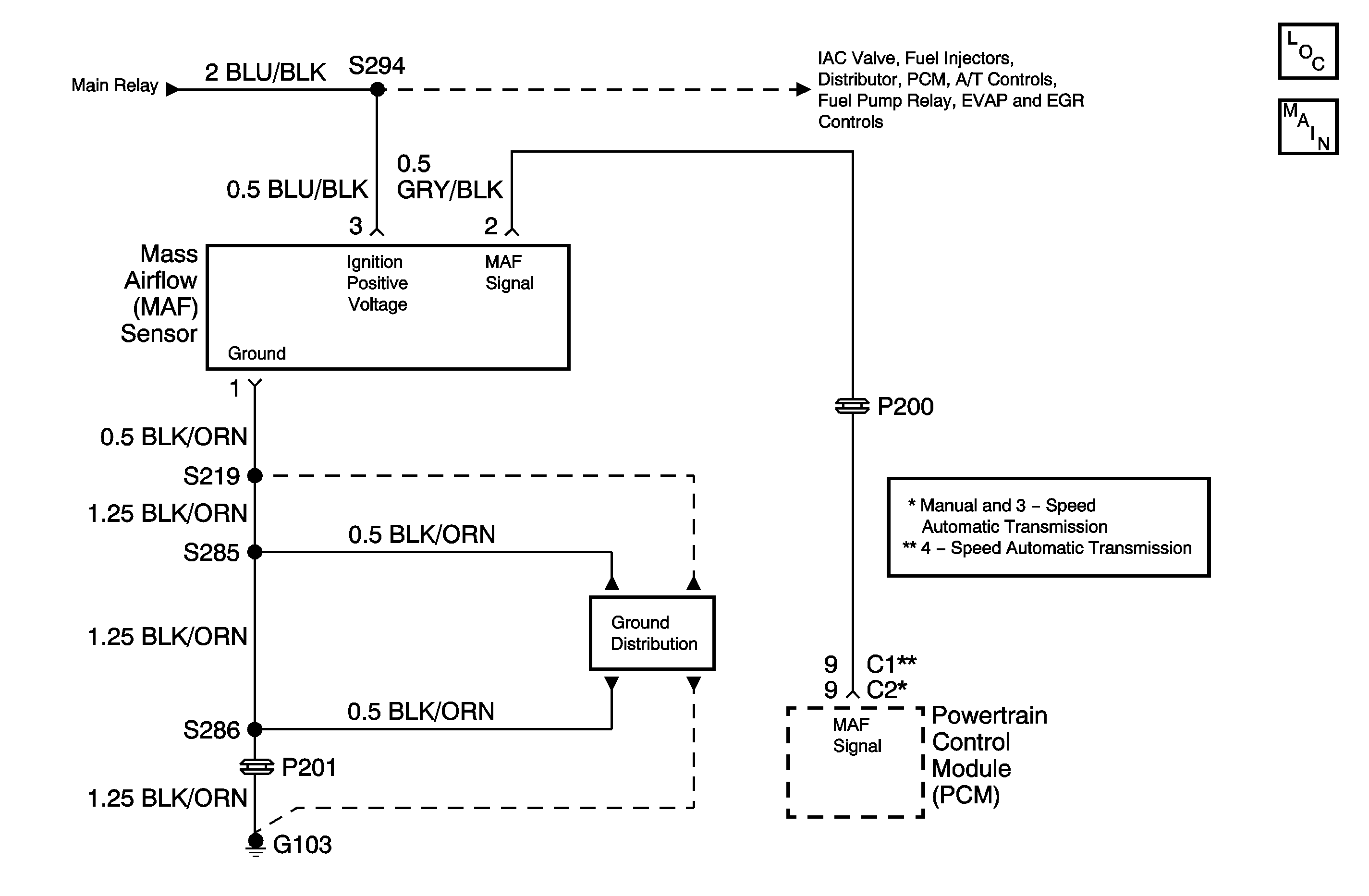
Object Number: 1557787  Size: MF
Engine Controls Schematics

Circuit Description

The mass air flow (MAF) sensor measures the amount of air which passes through it in a given amount of time. The powertrain control module (PCM) uses this information to determine the operating requirements of the engine in order to control fuel delivery. The PCM calculates the engine's fuel requirements by monitoring the current flow on the signal wire from the MAF sensor. When the volume of air entering the MAF sensor increases, the current flow seen by the PCM from the MAF sensor also increases. When the air flow decreases, the current seen by the PCM also decreases. The MAF sensor is located between the air intake tube and the air cleaner in the LH front area of the engine compartment.

Conditions for Running the DTC

    • Engine speed greater than 2000 RPM.
    • Throttle Position (TP) sensor less than 20 degrees.

Conditions for Setting the DTC

    • Maximum flow rate - Minimum flow rate less than 0.1 g/sec.
    • Condition present for at least 20 seconds.

Action Taken When the DTC Sets

    • The malfunction indicator lamp (MIL) will illuminate after two consecutive ignition cycles in which the diagnostic runs with the fault active.
    • The PCM will record operating conditions at the time the diagnostic fails. This information will be stored in the Freeze Frame buffer.

Conditions for Clearing the MIL/DTC

    • The MIL will turn off after three consecutively passing cycles without a fault present.
    • A History DTC will clear after 40 consecutive warm-up cycles without a fault.
    • DTC(s) can be cleared by using a scan tool or by disconnecting the PCM battery feed.

Diagnostic Aids

Check for any of the following conditions:

    • A skewed or stuck TP sensor. A faulty TP sensor or TP sensor circuit can cause the PCM to incorrectly calculate the predicted mass air flow value. On a scan tool observe the throttle angle with the throttle closed. If the throttle angle reading is not 0 to 13%, check for the following conditions and repair as necessary:
    • The throttle plate sticking or excessive deposits on the throttle plate or throttle bore.
    • The TP sensor signal circuit shorted to voltage.
    • A poor connection or high resistance in the TP sensor ground circuit.
    • A misrouted wiring harness. Inspect the MAF sensor harness to ensure that it is not routed too close to high voltage wires such as spark plug leads.
    • A damaged wiring harness. Inspect the wiring harness for damage. If the harness appears to be OK, observe the scan tool while moving connectors and wiring harnesses related to the MAF sensor. A change in the display will indicate the location of the fault.
    • A plugged intake air duct or a dirty air filter element. A wide-open throttle acceleration from a stop should cause the mass air flow parameter displayed on a scan tool to increase from about 2 to 3.5 g/s at idle to about 100 g/s or greater at the time of the 1-2 shift. If not, check for a restriction.

An intermittent malfunction may be caused by a fault in the MAF sensor circuit. Inspect the wiring harness and components for any of the following conditions:

    • Backed out terminals.
    • Improper mating of terminals.
    • Broken electrical connector locks.
    • Improperly formed or damaged terminals.
    • Faulty terminal to wire connections.
    • Physical damage to the wiring harness.
    • A broken wire inside the insulation.
    • Corrosion of electrical connections, splices, or terminals.

If the DTC P0101 cannot be duplicated, the information included in the Freeze Frame data can be useful in determining vehicle operating conditions when the DTC was first set.

If any wiring repairs need to be made, Refer to the repair procedures in Wiring Systems.

Test Description

The numbers below refer to the step numbers in the Diagnostic Table.

  1. The Powertrain OBD System Check prompts the technician to complete some basic checks and store the freeze frame data on the scan tool if applicable. This creates an electronic copy of the data taken when the fault occurred. The information is then stored in the scan tool for later reference.

  2. This step verifies that the malfunction is present.

  3. This step checks that the ignition feed voltage is reaching the MAF sensor.

  4. This step checks that the MAF sensor has a good ground.

  5. This step verifies that the MAF signal circuit is within range.

  6. Before replacing the MAF sensor check Diagnostic Aids above for any conditions that might apply.

  7. Before replacing the PCM check Diagnostic Aids above for any conditions that might apply.

Step

Action

Value(s)

Yes

No

1

Did you perform the Powertrain On-Board Diagnostic (OBD) System Check?

--

Go to Step 2

Go to Powertrain On Board Diagnostic (OBD) System Check

2

  1. Check for any of the following conditions:
  2. • Objects blocking the MAF sensor inlet screen.
    • Intake manifold vacuum leaks.
    • Throttle body vacuum leaks.
    • EGR valve vacuum leaks.
    • A faulty, missing, or incorrectly installed PCV valve.
  3. Repair as necessary.

Was a repair necessary?

--

Go to Step 13

Go to Step 3

3

  1. Turn ON the ignition, leaving the engine OFF.
  2. Use the scan tool clear information function.
  3. Operate the vehicle within the Freeze Frame conditions as noted.

Is the DTC P0101 set?

--

Go to Step 4

Go to Diagnostic Aids

4

  1. Turn OFF the ignition.
  2. Disconnect the MAF sensor connector.
  3. Turn ON the ignition, leaving the engine OFF.
  4. Probe the MAF sensor ignition feed circuit at the MAF sensor harness connector, using a test light connected to ground.

Is the test light ON?

--

Go to Step 5

Go to Step 9

5

Connect the test light between the MAF sensor ignition feed circuit and the ground circuit at the MAF sensor harness connector.

Is the test light ON?

--

Go to Step 6

Go to Step 10

6

  1. Turn OFF the ignition.
  2. Reconnect the MAF sensor connector.
  3. Turn ON the ignition, leaving the engine OFF.
  4. Backprobe the MAF sensor signal circuit at PCM using a DMM.
  5. Measure the voltage.

Is the voltage near the specified value?

1.0 to 1.6 volts

Go to Step 7

Go to Step 8

7

  1. Check for a poor connection at the MAF sensor and at the PCM connectors.
  2. If a poor connection is found, repair as necessary.

Was a poor connection found?

--

Go to Step 13

Go to Step 12

8

  1. Check the MAF sensor signal circuit for the following conditions:
  2. • An open between the PCM and the MAF sensor.
    • A short between the PCM and the MAF sensor.
    • A poor connection at the MAF sensor.
  3. Repair as necessary.

Was a repair necessary?

--

Go to Step 13

Go to Step 11

9

Locate and repair the open circuit in the ignition feed circuit to the MAF sensor. Refer to Wiring Repairs in Wiring Systems.

Is the action complete?

--

Go to Step 13

--

10

Locate and repair the open circuit in the ground circuit to the MAF sensor. Refer to Wiring Repairs in Wiring Systems.

Is the action complete?

--

Go to Step 13

--

11

Replace the MAF sensor. Refer to Mass Airflow Sensor Replacement .

Is the action complete?

--

Go to Step 13

--

12

Replace the PCM. Refer to Powertrain Control Module Replacement .

Is the action complete?

--

Go to Step 13

--

13

  1. Perform the scan tool Clear DTC Information function and road test vehicle within Freeze Frame conditions that set the DTC.
  2. Review the scan tool data and check for DTCs. The repair is complete if no DTCs are stored.

Are any DTCs displayed on the scan tool?

--

Go to the Applicable DTC Table

System OK