GM Service Manual Online
For 1990-2009 cars only

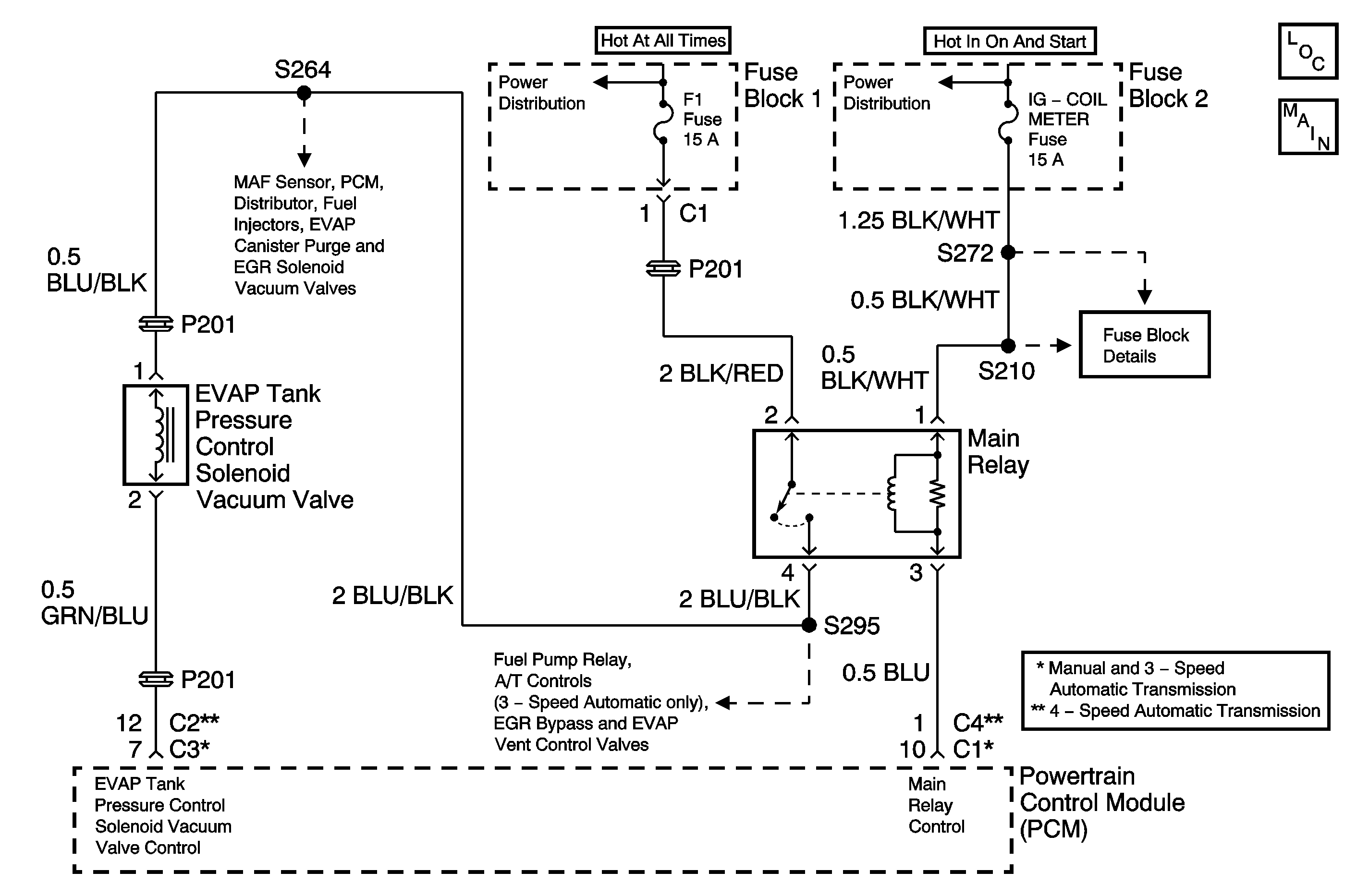
Object Number: 1558167  Size: MF

Circuit Description

Under the conditions that the engine is running and the fuel level is lower than a specified value, the EVAP tank pressure control solenoid vacuum valve is turned on by the powertrain control module (PCM) and vacuum is applied to the diaphragm of the tank pressure control valve. Thus, the vapor passage of the tank pressure control valve opens to allow continuity between the fuel tank and the EVAP canister. As a result, under the above conditions, the vapors in the fuel tank flows into the EVAP canister without being stopped by the tank pressure control valve.

Conditions for Running the DTC

    • Engine is running at a steady speed.
    • Engine is operating in Closed Loop.

Conditions for Setting the DTC

Low voltage indicated in the solenoid control circuit, with the fuel level higher than a specified value, when the diagnostic runs.

Action Taken When the DTC Sets

    • The malfunction indicator lamp (MIL) will illuminate after two consecutive ignition cycles in which the diagnostic runs with the fault active.
    • The PCM will record operating conditions at the time the diagnostic fails. This information will be stored in the Freeze Frame buffer.

Conditions for Clearing the MIL/DTC

    • The MIL will turn off after three consecutive drive cycles without a fault present.
    • A DTC will clear after 40 consecutive warm-up cycles without a fault.
    • The DTCs can be cleared by using a scan tool or by disconnecting the PCM battery feed.

Diagnostic Aids

Check for the following conditions:

    • An incorrect fuel sensor level reading may cause this DTC to set.
    • After all the checks have been completed and a malfunction continues to occur, refer to DTC P0450 and follow that table for diagnoses.

An intermittent malfunction may be caused by a fault in the fuel tank pressure sensor circuit. Inspect the wiring harness and components for any of the following conditions:

    • Backed out terminals.
    • Improper mating of terminals.
    • Broken electrical connector locks.
    • Improperly formed or damaged terminals.
    • Faulty terminal to wire connections.
    • Physical damage to the wiring harness.
    • A broken wire inside the insulation.
    • Corrosion of electrical connections, splices, or terminals.
    • An incorrectly adjusted TP sensor could cause a DTC P0510 to set. Refer to Throttle Position Sensor Adjustment

If a DTC P1410 cannot be duplicated, the information included in the Freeze Frame data can be useful in determining vehicle operating conditions when the DTC was first set.

Test Description

The numbers below refer to the step numbers in the Diagnostic Table.

  1. The Powertrain OBD System Check prompts the technician to complete some basic checks and store the Freeze Frame data on the scan tool if applicable. This creates an electronic copy of the data taken when the fault occurred. The information is then stored in the scan tool for later reference.

  2. This step determines if the fault is present.

  3. This step checks the power feed to the EVAP Tank Pressure Control Solenoid Vacuum Valve.

  4. This step checks for a short to ground in the solenoid control feed.

  5. This step checks for a short to open in the solenoid control feed.

  6. This step checks the operation of the EVAP tank pressure control solenoid vacuum valve.

Step

Action

Value(s)

Yes

No

1

Was the Powertrain On-Board Diagnostic (OBD) System Check performed?

--

Go to Step 2

Go to Powertrain On Board Diagnostic (OBD) System Check

2

  1. Turn the ignition ON, leaving the ignition OFF.
  2. Use the scan tool clear information function.
  3. Operate the vehicle within the Freeze Frame conditions as noted.

Is DTC P1410 set?

--

Go to Step 3

Go To Diagnostic Aids

3

  1. Turn the ignition ON, leaving the engine OFF.
  2. Disconnect the EVAP Tank Pressure Control Solenoid Vacuum Valve electrical connector.
  3. Probe the ignition B+ feed circuit connector terminal, using a test light connected to ground,

Is the test light ON?

--

Go to Step 4

Go to Step 10

4

Probe the EVAP tank pressure control solenoid vacuum valve control circuit connector terminal, using a test light connected to battery positive voltage.

Does the test light illuminate?

Go to Step 8

Go to Step 5

5

  1. Probe the EVAP tank pressure control solenoid vacuum valve control circuit connector terminal, using a test light connected to battery positive voltage.
  2. Command the EVAP tank pressure control solenoid vacuum valve ON, using the scan tool.
  3. Observe the test light.

Does the test light illuminate when the EVAP tank pressure control solenoid vacuum valve is commanded ON?

Go to Step 6

Go to Step 9

6

Use a DMM in order to measure the resistance of the EVAP tank pressure control solenoid vacuum valve.

Is the resistance within the specified value?

28 to 36 ohms at 20°C (68°F)

Go to Step 7

Go to Step 11

7

  1. Disconnect the EVAP tank pressure control solenoid vacuum valve vacuum hoses from the intake manifold and from the vacuum pipe.
  2. Blow air into the EVAP tank pressure control solenoid vacuum valve vacuum hose that was disconnected from the vacuum pipe. Air should not pass through the EVAP tank pressure control solenoid vacuum valve and exit from the intake manifold hose.
  3. Use a scan tool in order to command the EVAP tank pressure control solenoid valve ON.
  4. Blow air into the EVAP tank pressure control solenoid vacuum valve vacuum hose that was disconnected from the vacuum pipe. Air should pass through the EVAP tank pressure control solenoid vacuum valve and exit from the intake manifold hose.

Did the EVAP tank pressure control solenoid vacuum valve pass both inspections?

--

Go to Diagnostic Aids

Go to Step 11

8

  1. Check the EVAP tank pressure control solenoid vacuum valve control circuit for short circuit.
  2. Repair as necessary. Refer to Wiring Repairs in Wiring Systems.

Was a repair necessary?

--

Go to Step 13

Go to Step 12

9

  1. Check the EVAP tank pressure control solenoid vacuum valve control circuit for an open circuit.
  2. Repair as necessary. Refer to Wiring Repairs in Wiring Systems.

Was a repair necessary?

Go to Step 13

Go to Step 12

10

Repair the open in the ignition B+ feed circuit to the EVAP tank pressure control solenoid vacuum valve. Refer to Wiring Repairs in Wiring Systems.

Is the action complete?

--

Go to Step 13

--

11

Replace the EVAP tank pressure control solenoid vacuum valve. Refer to Evaporative Emission Tank Pressure Control Solenoid Valve Replace .

Is the action complete?

--

Go to Step 13

--

12

Replace the PCM. Refer to Powertrain Control Module Replacement .

Is the action complete?

--

Go to Step 13

--

13

  1. Perform the scan tool DTC Information function and road test the vehicle within the Freeze Frame conditions that set the DTC.
  2. Review scan tool data and check for DTCs. The repair is complete if no DTCs are stored.

Are any DTCs displayed on the scan tool?

--

Go to the Applicable DTC Table

System OK