GM Service Manual Online
For 1990-2009 cars only

SMU - SECTION 5E - REVISED SCHEMATICS

REVISION: 06/26/95

THIS BULLETIN IS BEING REVISED TO CORRECT THE ARTWORK. PLEASE DISCARD #53-50-04 (SECTION 5 - BRAKES). ********************************************************************

SUBJECT: SERVICE MANUAL UPDATE - SECTION 5E - REVISED SCHEMATICS USED WITH DIAGNOSTIC TROUBLE CODES (DTC'S) 23, 27, 34, 38, 44, 67, AND 68

MODELS: 1995 CHEVROLET CAVALIER 1995 PONTIAC SUNFIRE

THE SCHEMATICS USED WITH DIAGNOSTIC TROUBLE CODES (DTC'S) 23, 27 AND 34 IN SECTIONS 5E1 AND 5E2 OF THE SERVICE MANUAL HAVE THE INCORRECT WIRE COLOR FOR CIRCUITS 884 AND 885.

PLEASE REFER TO THE ATTACHED SCHEMATICS (ATTACHMENT 1 - SECTION 5E1; ATTACHMENT 2 - SECTION 5E2), WHEN USING DIAGNOSTIC TROUBLE TREES FOR DTC'S 23, 27 AND 34.

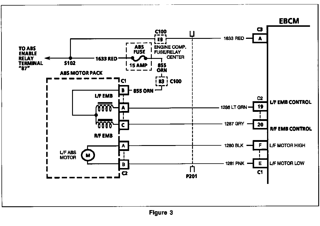
ALSO, THE SCHEMATIC USED WITH DTC'S 38, 44, 67 AND 68 HAS THE INCORRECT ABS MOTOR PACK PINOUT NUMBERING FOR CIRCUITS 1280 AND 1281.

PLEASE REFER TO THE ATTACHED SCHEMATIC (ATTACHMENT 3) WHEN USING DIAGNOSTIC TROUBLE TREES FOR DTC'S 38, 44, 67 AND 68.

FIGURES: 0 ATTACHMENTS: 3


Object Number: 82780  Size: FS


Object Number: 82779  Size: FS


Object Number: 82778  Size: FS

GENERAL MOTORS BULLETINS ARE INTENDED FOR USE BY PROFESSIONAL TECHNICIANS, NOT A "DO-IT-YOURSELFER". THEY ARE WRITTEN TO INFORM THOSE TECHNICIANS OF CONDITIONS THAT MAY OCCUR ON SOME VEHICLES, OR TO PROVIDE INFORMATION THAT COULD ASSIST IN THE PROPER SERVICE OF A VEHICLE. PROPERLY TRAINED TECHNICIANS HAVE THE EQUIPMENT, TOOLS, SAFETY INSTRUCTIONS AND KNOW-HOW TO DO A JOB PROPERLY AND SAFELY. IF A CONDITION IS DESCRIBED, DO NOT ASSUME THAT THE BULLETIN APPLIES TO YOUR VEHICLE, OR THAT YOUR VEHICLE WILL HAVE THAT CONDITION. SEE A GENERAL MOTORS DEALER SERVICING YOUR BRAND OF GENERAL MOTORS VEHICLE FOR INFORMATION ON WHETHER YOUR VEHICLE MAY BENEFIT FROM THE INFORMATION.

COPYRIGHT 1995 GENERAL MOTORS CORPORATION. ALL RIGHTS RESERVED.