GM Service Manual Online
For 1990-2009 cars only

RATTLE/CLUNK AND/OR VIBRATION ON DURING ACCELERATION

SUBJECT: RATTLE/CLUNK AND/OR VIBRATION DURING ACCELERATION/ DECELERATION, CORNERING OR ROUGH ROAD SURFACES (RE-WELD ENGINE/TRANSAXLE MOUNT BRACKETS)

MODELS: 1995-96 CHEVROLET CAVALIER 1995-96 PONTIAC SUNFIRE WITH 2.2L OR 2.4L ENGINE (VINS 4, T - RPOS LN2, LD9)

CONDITION:

SOME OWNERS MAY COMMENT ON A RATTLE/CLUNK AND/OR VIBRATION NORMALLY DURING ACCELERATION/DECELERATION, CORNERING OR ROUGH ROAD SURFACES.

CAUSE:

THIS CONDITION MAY BE DUE TO BROKEN WELDS ON THE ENGINE/TRANSAXLE ASSEMBLY MOUNT BRACKETS.

CORRECTION:

PRY ENGINE/TRANSAXLE ASSEMBLY FORE AND AFT ATTEMPTING DUPLICATION OF NOISE OR EXCESSIVE MOVEMENT OF ASSEMBLY. REPEAT PROCEDURE PRYING ENGINE/TRANSAXLE ASSEMBLY SIDE TO SIDE. IF PROBLEM AREA IS NOT LOCATED, ACCESS EACH MOUNT ASSEMBLY FOR VISUAL INSPECTION OF BRACKET AND/OR TEST WITH PRY BAR. WHEN THE PROBLEM AREA IS FOUND, REFER TO THE FOLLOWING RESPECTIVE REPAIR PROCEDURES.

IMPORTANT:

WHEN MIG WELD IS USED IN THE FOLLOWING PROCEDURES, USE ONE OF THE FOLLOWING SPECIFICATIONS:

O 0.035" E70S-6 SOLID WELDING WIRE WITH 100% CO2 OR 75% AR/25% CO2.

O 0.068 E71T-GS FLUX CORED SELF SHIELDED WELDING WIRE.

2.2L AND 2.4L WITH MANUAL TRANSAXLE ===================================

REMOVE OR DISCONNECT

1. DISCONNECT BATTERY CABLES AND REMOVE BATTERY.

2. REMOVE AIR CLEANER ASSEMBLY.

3. DISCONNECT ENGINE WIRING HARNESS AT C100.

4. REMOVE COOLANT RESERVOIR.

5. SECURE COOLANT RESERVOIR OUT OF WORK AREA.

IMPORTANT: DO NOT OPEN SYSTEM BY DISCONNECTING HOSES.

6. INSTALL ENGINE SUPPORT FIXTURE #J28467-360.

7. REMOVE ENGINE MOUNT.

IMPORTANT: DO NOT DISCONNECT AC LINE TO PERFORM REPAIRS.

8. REMOVE FRONT TIRES.

9. REMOVE FRONT LEFT AND RIGHT SPLASH SHIELDS.

10. REMOVE RH FENDER BRACE (2 BOLTS).

11. REMOVE LEFT FRONT TRANSAXLE MOUNT ASSEMBLY.

12. REMOVE LEFT REAR TRANSAXLE MOUNT ASSEMBLY.

13. FROM TOP OF VEHICLE, SHIFT ENGINE ASSEMBLY, SHIM OR BLOCK IN PLACE TO GAIN ACCESS TO MOUNT NEEDING REPAIR (USE FRICTION JACK OR EQUIVALENT).

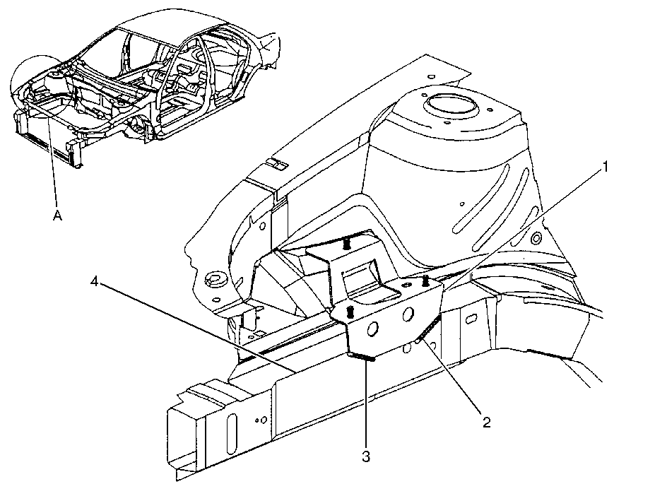
RIGHT ENGINE MOUNT BRACKET REPAIR (AUTOMATIC OR MANUAL)

FIGURES 1 AND 2

1. PROTECT ANY ADJACENT COMPONENTS: FUEL LINES, WINDSHIELD, AND PLASTICS WITH WELD RESISTANT BLANKET.

2. LOCATE AND GRIND OUT EXISTING WELDS THAT SECURE MOUNTING BRACKET TO THE WHEELHOUSE. SEE FIGURES 1 AND 2.

IMPORTANT:

THERE ARE TWO DESIGN VARIATIONS FOR THE RIGHT ENGINE MOUNTING BRACKET. DESIGN "A" IS PICTURED IN FIGURE 1; IT HAS ONE CONTINUOUS WELD ALONG THE LOWER EDGE WHERE THE BRACKET ATTACHES TO THE RAIL.

IMPORTANT:

WHEN REPAIRING THIS WELD, GRIND OUT WELD ONLY, USING A SUITABLE TOOL SUCH AS A BURR MANDREL, CUTOFF WHEEL OR EQUIVALENT. RE-WELD THE ENTIRE LENGTH OF THE LOWER EDGE OF THE BRACKET.

3. FROM TOP, WELD TOP EDGE OF BRACKET TO WHEELHOUSE, APPLY ONE CONTINUOUS MIG WELD EXTENDING THE FULL LENGTH OF BRACKET.

4. RAISE VEHICLE AND PROTECT ADJACENT COMPONENTS WITH WELD RESISTANT BLANKET TO PREVENT DAMAGE TO CV BOOTS AND BRAKE LINES.

5. A) (FIGURE 1) - FROM BELOW, GRIND OUT WELD THAT SECURES ENGINE MOUNT BRACKET TO RAILS, OR

B) (FIGURE 2) - FROM BELOW, GRIND OUT TWO WELDS THAT SECURE ENGINE MOUNT BRACKET TO RAIL.

6. A) MIG WELD ONE CONTINUOUS BEAD ALONG ENTIRE LOWER EDGE OF BRACKET TO RAIL, OR

B) MIG WELD TWO CONTINUOUS BEADS (63MM) ALONG THE BEVELED CORNERS OF MOUNTING BRACKET TO THE RAIL.

7. CLEAN AND PREPARE ALL WELDED SURFACES FOR PAINTING.

8. PRIMER AND TOP COAT WELDED SURFACES.

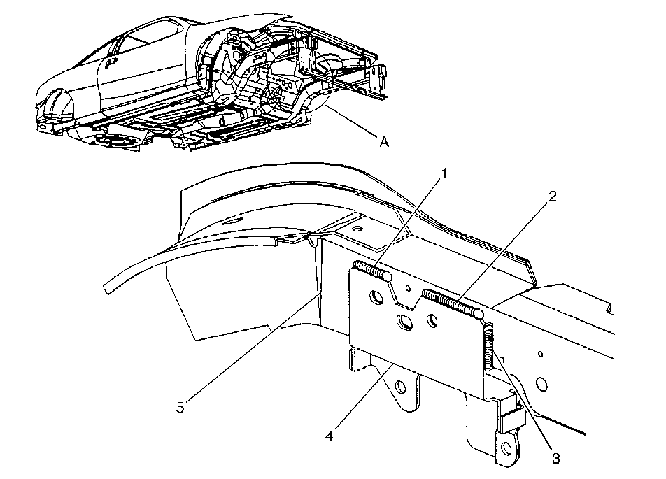
LH REAR TRANSAXLE MOUNT (MANUAL TRANSAXLE)

FIGURE 3

1. PROTECT ADJACENT COMPONENTS USING A WELD RESISTANT BLANKET.

2. FROM ABOVE, LOCATE AND GRIND OUT EXISTING WELDS ON TOP EDGE OF LEFT REAR BRACKET.

3. MIG WELD TOP EDGE OF LEFT REAR BRACKET TO THE SURFACE OF THE RAIL.

4. RAISE VEHICLE AND WELD REMAINING AREAS FROM BELOW.

5. PROTECT COMPONENTS WITH A WELD RESISTANT BLANKET: CV BOOTS AND BRAKE LINES.

IMPORTANT:

THE LEFT REAR MOUNT IS A TWO-PIECE ASSEMBLY. IF REPAIRS ARE NECESSARY, GRIND OUT EXISTING WELDS WITH A BURR WHEEL/CUTTER OR EQUIVALENT. GRIND OUT WELD ONLY AND RE-WELD ENTIRE PERIMETER.

6. PREPARE WELDS FOR REPLACEMENT AS INDICATED ABOVE.

7. MIG WELD EDGE OF BRACKET CONTINUOUSLY TO EXTENSION AS SHOWN IN FIGURE 3.

8. CLEAN AND PREPARE ALL WELDED SURFACES FOR PAINTING.

9. PRIMER AND TOPCOAT WELDED SURFACES.

LH FRONT TRANSAXLE MOUNT (MANUAL TRANSAXLE)

FIGURE 4

1. LOCATE AND GRIND OUT EXISTING WELDS THAT SECURE BRACKET TO RAIL AND BRACKET TO EXTENSION.

2. MIG WELD ALL MATING SURFACES THAT WERE PREVIOUSLY PREPPED.

3. INSTALL AN ADDITIONAL WELD, SEE BOTTOM HALF OF FIGURE 4. THIS WELD WILL EXTEND THE FULL LENGTH OF THE BRACKET. USE A CLAMP TO ENSURE THAT BRACKET IS POSITIONED FLUSH WITH THE RAIL.

4. FROM THE WHEELHOUSE AREA, PREPARE JOINT FOR WELDING.

5. FROM THE WHEELHOUSE AREA, APPLY THE ADDITIONAL WELD TO BRACKET AS SHOWN IN FIGURE 4.

6. CLEAN AND PREPARE ALL WELDED SURFACES FOR PAINTING.

7. PRIMER AND TOPCOAT WELDED SURFACES.

INSTALL OR CONNECT

1. REMOVE BLOCKS AND SHIFT MOTOR TO CORRECT POSITION.

2. INSTALL MOUNT ON RIGHT SIDE OF MOTOR (3 BOLTS), TORQUE TO SERVICE MANUAL SPECS. USE GOODWRENCH THREADLOCKER ON MOUNT BOLTS.

3. INSTALL LEFT MOTOR MOUNT ASSEMBLY.

4. INSTALL RIGHT MOTOR MOUNT ASSEMBLY.

5. INSTALL OVERFLOW RESERVOIR.

6. CONNECT C100 OF ENGINE WIRING HARNESS.

7. INSTALL AIR CLEANER ASSEMBLY, RELAY CENTER, AND POSITIVE FEED WIRE.

8. INSTALL BATTERY AND ATTACH CABLES.

9. INSTALL AIR CLEANER INTAKE DUCT.

10. INSTALL SPLASH SHIELD AND ENGINE SIDE COVERS (LEFT AND RIGHT).

11. INSTALL FRONT TIRES.

2.2L AND 2.4L WITH AUTOMATIC TRANSAXLE ======================================

REMOVE OR DISCONNECT

1. REMOVE AIR CLEANER DUCT.

2. DISCONNECT BATTERY CABLES AND REMOVE BATTERY.

3. REMOVE AIR CLEANER ASSEMBLY.

4. DISCONNECT ENGINE WIRING HARNESS AT C100.

5. REMOVE COOLANT RESERVOIR.

6. SECURE COOLANT RESERVOIR OUT OF WORK AREA.

IMPORTANT: DO NOT OPEN SYSTEM BY DISCONNECTING HOSES.

7. INSTALL ENGINE SUPPORT FIXTURE #J28467-360.

8. REMOVE RIGHT MOTOR MOUNT.

IMPORTANT: DO NOT DISCONNECT AC LINE TO PERFORM REPAIRS.

9. RAISE VEHICLE AND REMOVE FRONT TIRES.

10. REMOVE LEFT AND RIGHT SPLASH SHIELDS.

11. REMOVE RH FENDER BRACE (2 BOLTS).

12. REMOVE TRANSAXLE MOUNT.

13. FROM TOP OF VEHICLE, SHIFT ENGINE ASSEMBLY SHIM OR BLOCK IN PLACE TO GAIN ACCESS TO MOUNT NEEDING REPAIR (USE FRICTION JACK OR EQUIVALENT).

RIGHT ENGINE MOUNT BRACKET REPAIR (AUTOMATIC OR MANUAL)

FIGURES 1 AND 2

1. PROTECT ANY ADJACENT COMPONENTS: FUEL LINES, WINDSHIELD, AND PLASTICS WITH WELD RESISTANT BLANKET.

2. LOCATE AND GRIND OUT EXISTING WELDS THAT SECURE MOUNTING BRACKET TO THE WHEELHOUSE. SEE FIGURES 1 AND 2.

IMPORTANT:

THERE ARE TWO DESIGN VARIATIONS FOR THE RIGHT ENGINE MOUNTING BRACKET. DESIGN "A" IS PICTURED IN FIGURE 1; IT HAS ONE CONTINUOUS WELD ALONG THE LOWER EDGE WHERE THE BRACKET ATTACHES TO THE RAIL.

IMPORTANT:

WHEN REPAIRING THIS WELD, GRIND OUT WELD ONLY, USING A SUITABLE TOOL SUCH AS A BURR MANDREL, CUTOFF WHEEL OR EQUIVALENT. RE-WELD THE ENTIRE LENGTH OF THE LOWER EDGE OF THE BRACKET.

3. FROM TOP, WELD TOP EDGE OF BRACKET TO WHEELHOUSE, APPLY ONE CONTINUOUS MIG WELD EXTENDING THE FULL LENGTH OF BRACKET.

4. RAISE VEHICLE AND PROTECT ADJACENT COMPONENTS WITH WELD RESISTANT BLANKET TO PREVENT DAMAGE TO CV BOOTS AND BRAKE LINES.

5. A) (FIGURE 1) - FROM BELOW, GRIND OUT WELD THAT SECURES ENGINE MOUNT BRACKET TO RAILS, OR

B) (FIGURE 2) - FROM BELOW, GRIND OUT TWO WELDS THAT SECURE ENGINE MOUNT BRACKET TO RAIL.

6. A) MIG WELD ONE CONTINUOUS BEAD ALONG ENTIRE LOWER EDGE OF BRACKET TO RAIL, OR

B) MIG WELD TWO CONTINUOUS BEADS (63MM) ALONG THE BEVELED CORNERS OF MOUNTING BRACKET TO THE RAIL.

7. CLEAN AND PREPARE ALL WELDED SURFACES FOR PAINTING.

8. PRIMER AND TOP COAT WELDED SURFACES.

LH TRANSAXLE MOUNT (AUTOMATIC)

FIGURES 5 AND 6

1. PROTECT ANY ADJACENT COMPONENTS: FUEL LINES, WINDSHIELD, WIRING HARNESS.

2. CV BOOTS AND BRAKE LINES WITH WELD RESISTANT BLANKET.

3. LOCATE AND GRIND OUT EXISTING WELDS THAT SECURE MOUNTING BRACKET TO LEFT FRAME RAIL. SEE FIGURE 5.

4. FROM TOP, MIG WELD TOP AND LEADING EDGE OF BRACKET TO RAIL IN THREE LOCATIONS INDICATED IN FIGURE 5.

5. CLEAN AND PREPARE WELDED SURFACES.

IMPORTANT:

MOVE TO OUTER SURFACE OF RAIL TO PERFORM ADDITIONAL WELDING IN WHEELHOUSE AREA, SEE FIGURE 6.

6. ADD TWO ADDITIONAL MIG STITCH WELDS TO THE AUTOMATIC TRANSMISSION BRACKET IN THE AREA DEPICTED IN FIGURE 6.

IMPORTANT:

USE A CLAMP TO ENSURE THAT BRACKET IS POSITIONED FLUSH WITH THE RAIL.

7. FROM THE WHEELHOUSE AREA, PREPARE JOINT FOR WELDING.

8. FROM THE WHEELHOUSE AREA, APPLY THE ADDITIONAL WELDS TO BRACKET AS SHOWN IN FIGURE 6.

9. CLEAN AND PREPARE WELDED SURFACES.

10. PRIMER AND TOPCOAT WELDED SURFACES.

INSTALL OR CONNECT

1. REMOVE BLOCKS AND SHIFT MOTOR TO CORRECT POSITION.

2. INSTALL MOUNT ON RIGHT SIDE OF MOTOR (3 BOLTS), TORQUE TO SERVICE MANUAL SPECS. USE GOODWRENCH THREADLOCKER ON MOUNT BOLTS.

3. INSTALL LEFT MOTOR MOUNT ASSEMBLY.

4. INSTALL RIGHT MOTOR MOUNT ASSEMBLY.

5. INSTALL OVERFLOW RESERVOIR.

6. CONNECT C100 OF ENGINE WIRING HARNESS.

7. INSTALL AIR CLEANER ASSEMBLY, RELAY CENTER, AND POSITIVE FEED WIRE.

8. INSTALL BATTERY AND ATTACH CABLES.

9. INSTALL AIR CLEANER INTAKE DUCT.

10. INSTALL SPLASH SHIELD AND ENGINE SIDE COVERS (LEFT AND RIGHT).

11. INSTALL FRONT TIRES.

WARRANTY INFORMATION:

FOR VEHICLES REPAIRED UNDER WARRANTY, USE:

LABOR LABOR OPERATION OPERATION MATERIAL NUMBER DESCRIPTION TIME ALLOWANCE ========= =========== ========== =========

AUTOMATIC TRANSAXLE: ==========

T2740 RH ENGINE MOUNT 3.1 HR

T2741 LH TRANSAXLE MOUNT 3.4 HR

VEHICLE WITH AUTOMATIC .5GB TRANSAXLE (2 MOUNTS)

ADD: FOR PAINT MIX .2 HR

MANUAL TRANSAXLE: ==========

T2742 RH ENGINE MOUNT 2.7 HR

T2743 LH FRONT TRANSAXLE 2.7 HR MOUNT

T2744 LH REAR TRANSAXLE 2.3 HR MOUNT

VEHICLE WITH MANUAL TRANSAXLE (3 MOUNTS) .7GC

ADD: FOR PAINT MIX .2 HR

FIGURES: 06 ATTACHMENTS: 00

FIGURE 1 - 1. ENGINE MOUNT BRACKET 2. MIG WELD 3. MIG WELD 4. SIDE RAIL

FIGURE 2 - 1. ENGINE MOUNT BRACKET 2. MIG WELD 3. MIG WELD 4. SIDE RAIL

FIGURE 3 - 1. MIG WELD 2. MIG WELD 3. MIG WELD 4. MIG WELD 5. REAR TRANSAXLE MOUNT BRACKET (MANUAL) 6. SIDE RAIL

FIGURE 4 - 1. MIG WELD 2. MIG WELD 3. MIG WELD 4. MIG WELD 5. FRONT TRANSAXLE MOUNT BRACKET (MANUAL) 6. MIG WELD 7. SIDE RAIL

FIGURE 5 - 1. MIG WELD 2. MIG WELD 3. MIG WELD 4. TRANSAXLE MOUNT BRACKET (AUTOMATIC) 5. SIDE RAIL

FIGURE 6 1. MIG WELD 2. TRANSAXLE MOUNT BRACKET (AUTOMATIC) 3. MIG WELD 4. SIDE RAIL


Object Number: 96588  Size: MF


Object Number: 96589  Size: MF


Object Number: 96590  Size: MF


Object Number: 96591  Size: MF


Object Number: 96592  Size: MF


Object Number: 96593  Size: MF

GENERAL MOTORS BULLETINS ARE INTENDED FOR USE BY PROFESSIONAL TECHNICIANS, NOT A "DO-IT-YOURSELFER". THEY ARE WRITTEN TO INFORM THOSE TECHNICIANS OF CONDITIONS THAT MAY OCCUR ON SOME VEHICLES, OR TO PROVIDE INFORMATION THAT COULD ASSIST IN THE PROPER SERVICE OF A VEHICLE. PROPERLY TRAINED TECHNICIANS HAVE THE EQUIPMENT, TOOLS, SAFETY INSTRUCTIONS AND KNOW-HOW TO DO A JOB PROPERLY AND SAFELY. IF A CONDITION IS DESCRIBED, DO NOT ASSUME THAT THE BULLETIN APPLIES TO YOUR VEHICLE, OR THAT YOUR VEHICLE WILL HAVE THAT CONDITION. SEE A GENERAL MOTORS DEALER SERVICING YOUR BRAND OF GENERAL MOTORS VEHICLE FOR INFORMATION ON WHETHER YOUR VEHICLE MAY BENEFIT FROM THE INFORMATION.

COPYRIGHT 1996 GENERAL MOTORS CORPORATION. ALL RIGHTS RESERVED.