GM Service Manual Online
For 1990-2009 cars only
Figure 1:

Cell 10: Cooling Fan, BATT1, BATT2, IGN, and ABS Fuses


Object Number: 472491  Size: FS
Power and Grounding Component Views
Cell 10: RR DEFOG, PWR ACC and STOP/HAZ Fuses
Cell 10: PCM, BLO, A/C and ABS Fuses
Cell 10: PCM, BLO, A/C and ABS Fuses
Cell 10: CLS/PCM, F/P INJ, AIR BAG and CRUISE Fuses
Cell 10: RR DEFOG, PWR ACC and STOP/HAZ Fuses
Ground Distribution Schematics
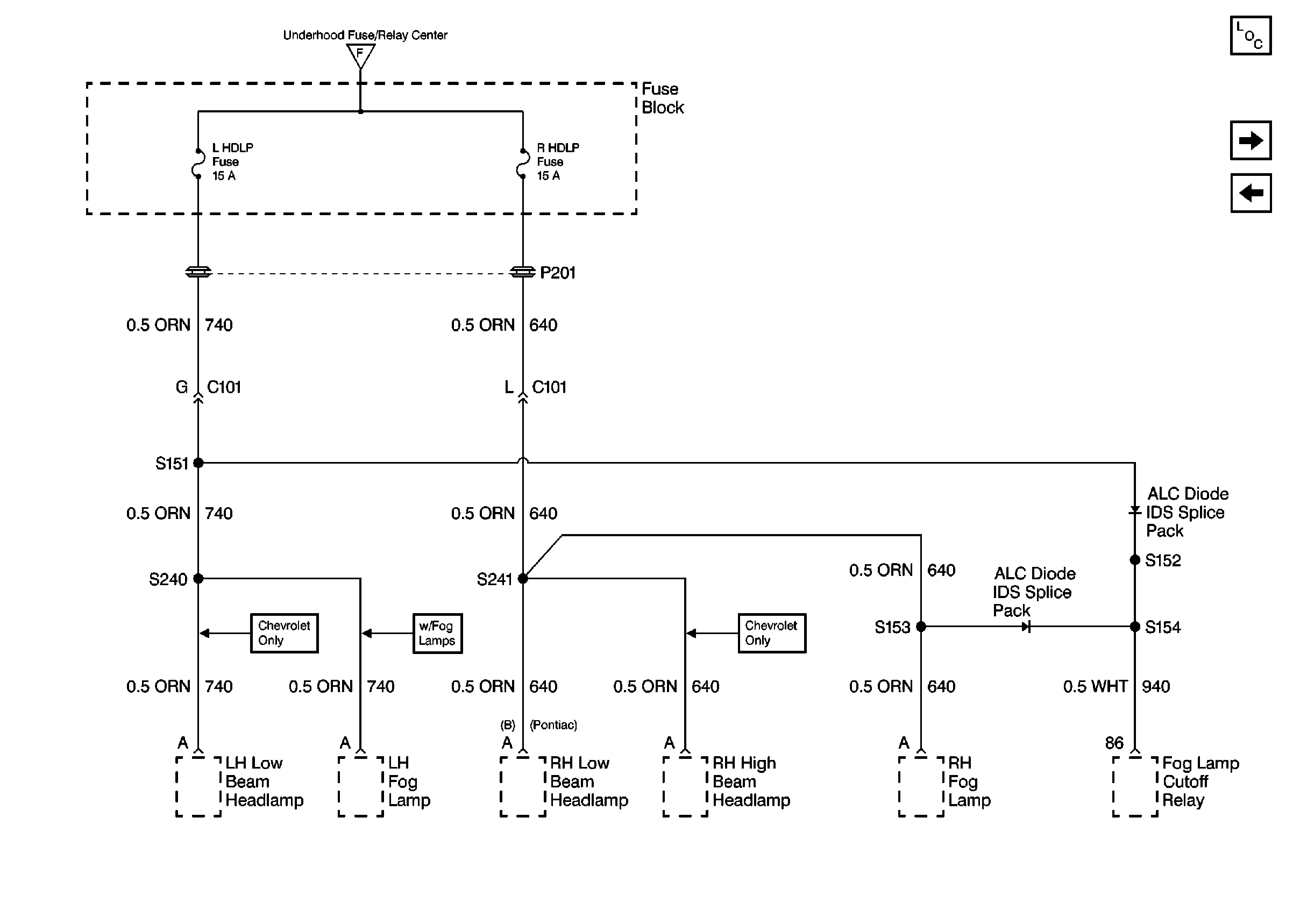
Cell 10: L HDLP and R HDLP Fuses
Power Distribution Schematics (Cell 10: CIG, Horn, Cluster, EXT Lamp and INT Lamp Fuses)
Handling ESD Sensitive Parts Notice
Figure 2:

Cell 10: RR DEFOG, PWR ACC and STOP/HAZ Fuses


Object Number: 472492  Size: FS
Power and Grounding Component Views
Cell 10: PCM, BLO, A/C and ABS Fuses
Cell 10: Cooling Fan, BATT1, BATT2, IGN, and ABS Fuses
Cell 10: Cooling Fan, BATT1, BATT2, IGN, and ABS Fuses
Figure 3:

Cell 10: PCM, BLO, A/C and ABS Fuses


Object Number: 472495  Size: FS
Power and Grounding Component Views
Cell 10: L HDLP and R HDLP Fuses
Cell 10: RR DEFOG, PWR ACC and STOP/HAZ Fuses
OBD II Symbol Description Notice
Cell 10: Cooling Fan, BATT1, BATT2, IGN, and ABS Fuses
Cell 10: Cooling Fan, BATT1, BATT2, IGN, and ABS Fuses
Handling ESD Sensitive Parts Notice
Figure 4:

Cell 10: L HDLP and R HDLP Fuses


Object Number: 472497  Size: FS
Power and Grounding Component Views
Cell 10: CLS/PCM, F/P INJ, AIR BAG and CRUISE Fuses
Cell 10: PCM, BLO, A/C and ABS Fuses
Cell 10: Cooling Fan, BATT1, BATT2, IGN, and ABS Fuses
Figure 5:

Cell 10: CLS/PCM, F/P INJ, AIR BAG and CRUISE Fuses


Object Number: 472499  Size: FS
Power and Grounding Component Views
Cell 10: Wiper and Radio Fuses
Cell 10: L HDLP and R HDLP Fuses
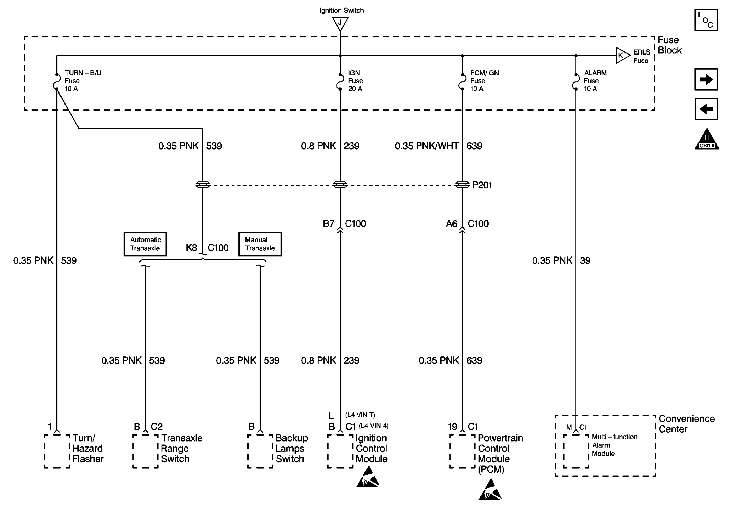
Cell 10: Turn B/U, IGN, PCM/IGN and Alarm Fuses
Handling ESD Sensitive Parts Notice
SIR Handling Caution
Cell 10: HVAC, O2 HTR and PWR Window Fuses
Handling ESD Sensitive Parts Notice
Cell 10: Cooling Fan, BATT1, BATT2, IGN, and ABS Fuses
Handling ESD Sensitive Parts Notice
Cell 10: Wiper and Radio Fuses
Figure 6:

Cell 10: Wiper and Radio Fuses


Object Number: 472500  Size: FS
Power and Grounding Component Views
Cell 10: Turn B/U, IGN, PCM/IGN and Alarm Fuses
Cell 10: CLS/PCM, F/P INJ, AIR BAG and CRUISE Fuses
Cell 10: CLS/PCM, F/P INJ, AIR BAG and CRUISE Fuses
Figure 7:

Cell 10: Turn B/U, IGN, PCM/IGN and Alarm Fuses


Object Number: 472504  Size: FS
Power and Grounding Component Views
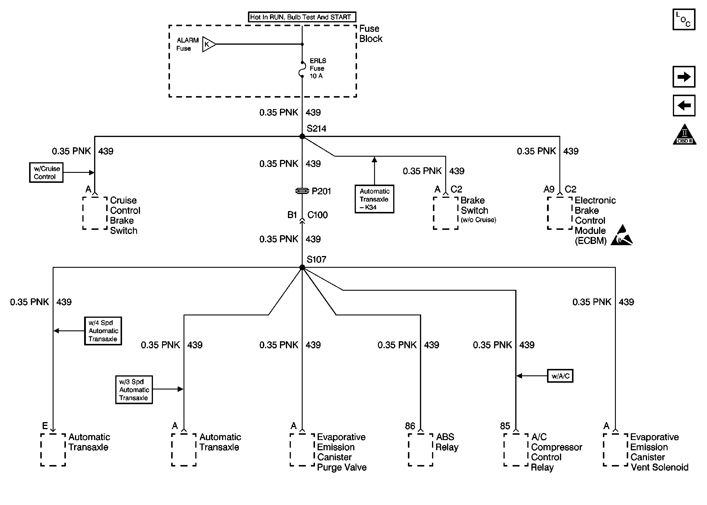
Cell 10: ERLS Fuse
Cell 10: Wiper and Radio Fuses
OBD II Symbol Description Notice
Cell 10: ERLS Fuse
Handling ESD Sensitive Parts Notice
Cell 10: CLS/PCM, F/P INJ, AIR BAG and CRUISE Fuses
Handling ESD Sensitive Parts Notice
Figure 8:

Cell 10: ERLS Fuse


Object Number: 472506  Size: FS
Power and Grounding Component Views
Power Distribution Schematics (Cell 10: INST/LPS Fuse)
Cell 10: Turn B/U, IGN, PCM/IGN and Alarm Fuses
OBD II Symbol Description Notice
Handling ESD Sensitive Parts Notice
Cell 10: Turn B/U, IGN, PCM/IGN and Alarm Fuses
Figure 9:

Power Distribution Schematics (Cell 10: INST/LPS Fuse)


Object Number: 472508  Size: FS
Power and Grounding Component Views
Power Distribution Schematics (Cell 10: CIG, Horn, Cluster, EXT Lamp and INT Lamp Fuses)
Cell 10: ERLS Fuse
Handling ESD Sensitive Parts Notice
Figure 10:

Power Distribution Schematics (Cell 10: CIG, Horn, Cluster, EXT Lamp and INT Lamp Fuses)


Object Number: 472510  Size: FS
Power and Grounding Component Views
Cell 10: HVAC, O2 HTR and PWR Window Fuses
Power Distribution Schematics (Cell 10: INST/LPS Fuse)
Handling ESD Sensitive Parts Notice
Cell 10: Cooling Fan, BATT1, BATT2, IGN, and ABS Fuses
Handling ESD Sensitive Parts Notice
Handling ESD Sensitive Parts Notice
Handling ESD Sensitive Parts Notice
Figure 11:

Cell 10: HVAC, O2 HTR and PWR Window Fuses


Object Number: 472511  Size: FS
Power and Grounding Component Views
Power Distribution Schematics (Cell 10: CIG, Horn, Cluster, EXT Lamp and INT Lamp Fuses)
Cell 10: CLS/PCM, F/P INJ, AIR BAG and CRUISE Fuses