GM Service Manual Online
For 1990-2009 cars only
Figure 1:

Cell 11: Cooling Fan, PCM, BLO, A/C, and ABS Fuses


Object Number: 288211  Size: FS
Cell 11: CIG, Cluster, EXT Lamp, and INT Lamp Fuses
OBD II Symbol Description Notice
Handling ESD Sensitive Parts Notice
Figure 2:

Cell 11: CIG, Cluster, EXT Lamp, and INT Lamp Fuses


Object Number: 288215  Size: FS
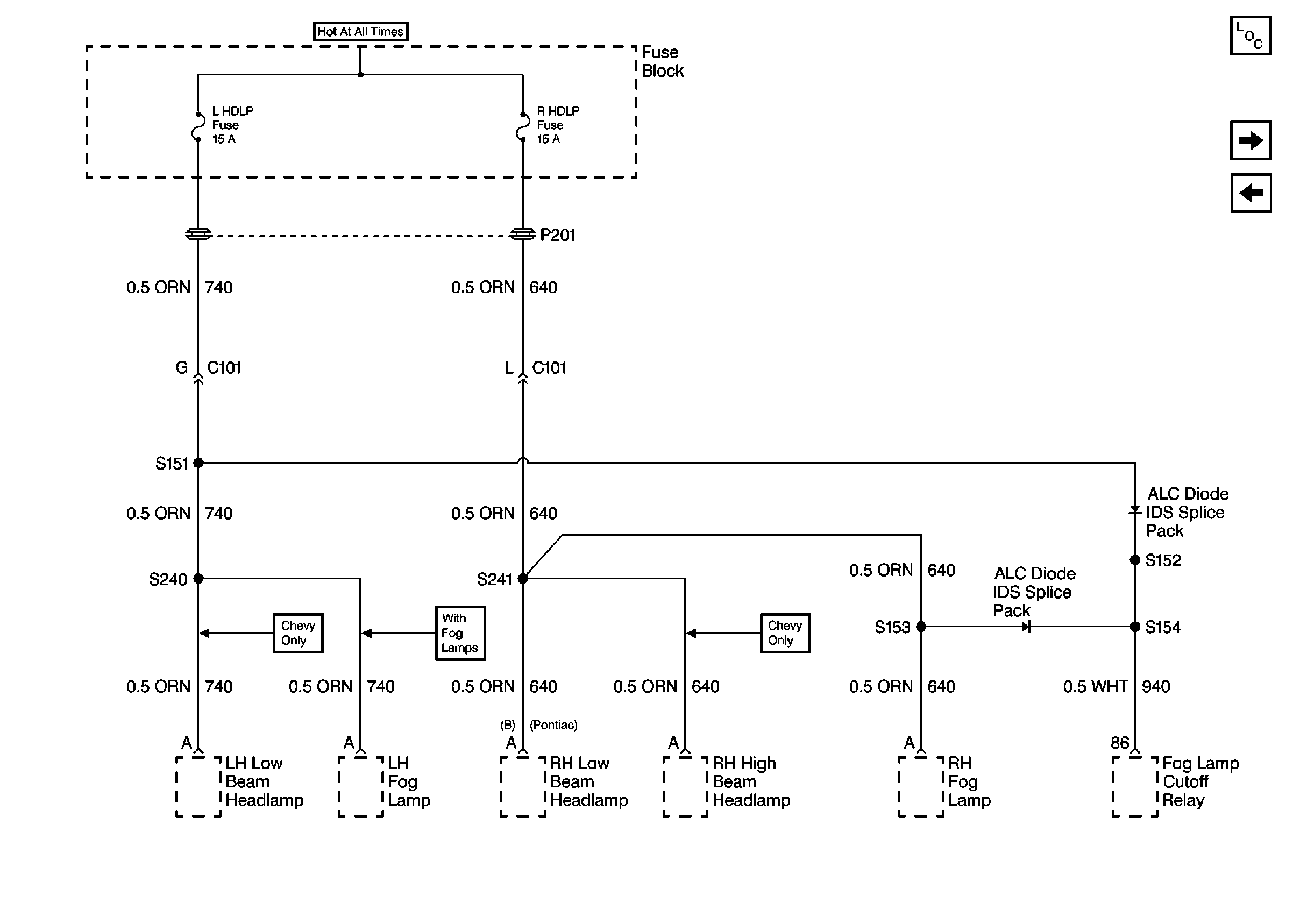
Cell 11: Left Headlamp and Right Headlamp Fuses
Cell 11: Cooling Fan, PCM, BLO, A/C, and ABS Fuses
Handling ESD Sensitive Parts Notice
Handling ESD Sensitive Parts Notice
Handling ESD Sensitive Parts Notice
Handling ESD Sensitive Parts Notice
Figure 3:

Cell 11: Left Headlamp and Right Headlamp Fuses


Object Number: 288217  Size: FS
Cell 11: Rear Defog, PWR ACC, and Stop Hazard Fuses
Cell 11: CIG, Cluster, EXT Lamp, and INT Lamp Fuses
Figure 4:

Cell 11: Rear Defog, PWR ACC, and Stop Hazard Fuses


Object Number: 288219  Size: FS
Cell 11: CLS/PCM, F/P-BU, Air Bag, and Cruise Fuses
Cell 11: Left Headlamp and Right Headlamp Fuses
Figure 5:

Cell 11: CLS/PCM, F/P-BU, Air Bag, and Cruise Fuses


Object Number: 288222  Size: FS
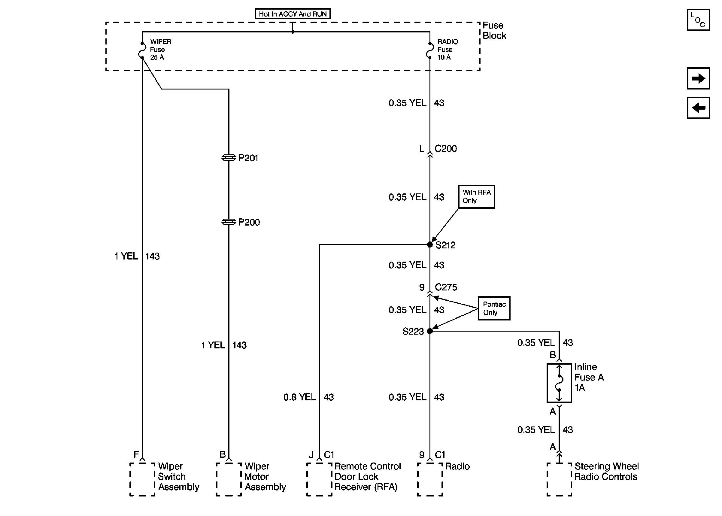
Cell 11: Wiper, Radio, and Inline Fuse A Fuses
Cell 11: Rear Defog, PWR ACC, and Stop Hazard Fuses
OBD II Symbol Description Notice
Handling ESD Sensitive Parts Notice
Handling ESD Sensitive Parts Notice
SIR Handling Caution
Handling ESD Sensitive Parts Notice
Figure 6:

Cell 11: Wiper, Radio, and Inline Fuse A Fuses


Object Number: 288225  Size: FS
Cell 11: Turn-B/U, IGN, PCM/IGN, and Alarm Fuses
Cell 11: CLS/PCM, F/P-BU, Air Bag, and Cruise Fuses
Figure 7:

Cell 11: Turn-B/U, IGN, PCM/IGN, and Alarm Fuses


Object Number: 288228  Size: FS
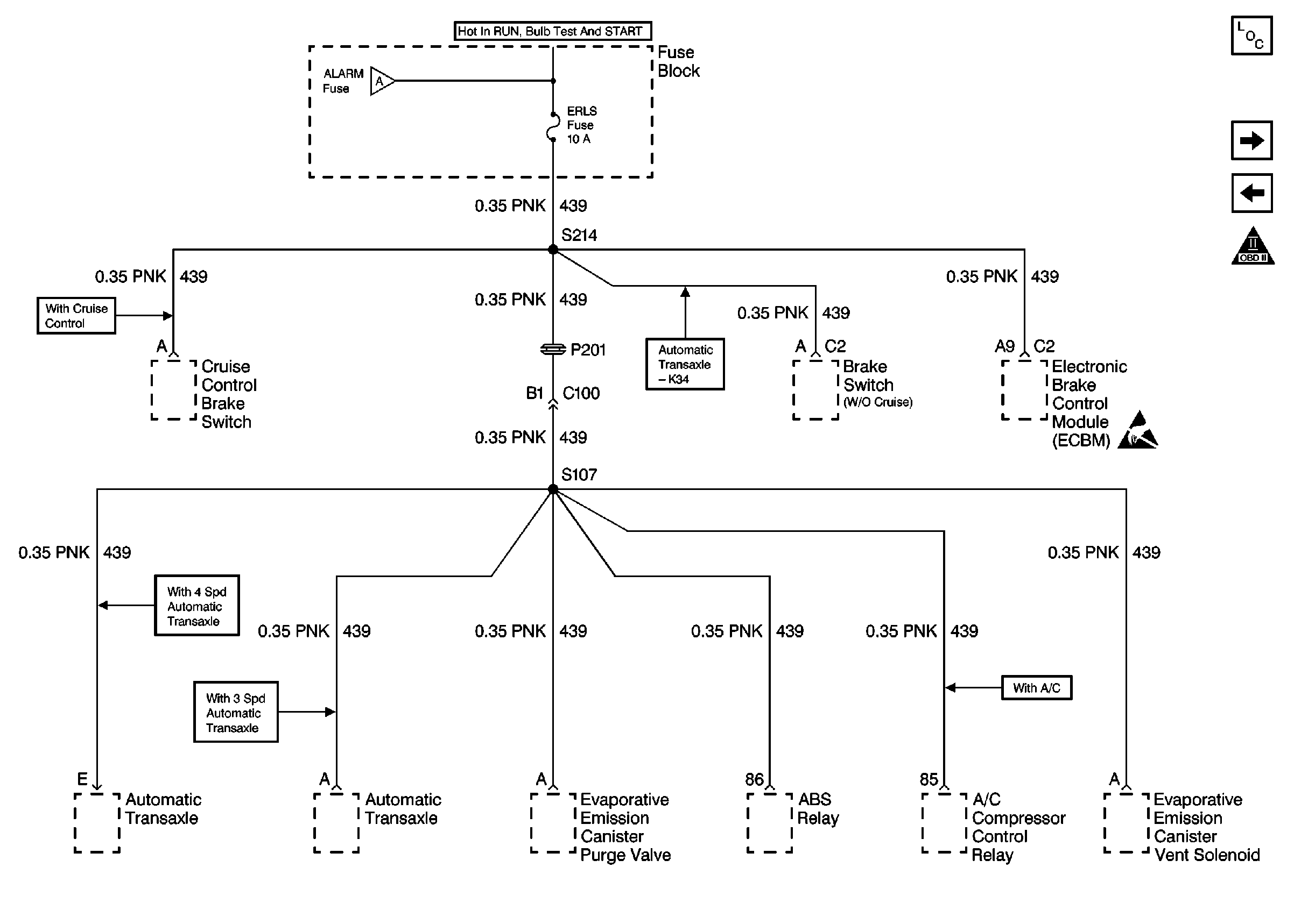
Cell 11: ERLS Fuse
Cell 11: Wiper, Radio, and Inline Fuse A Fuses
OBD II Symbol Description Notice
Handling ESD Sensitive Parts Notice
Handling ESD Sensitive Parts Notice
Cell 11: ERLS Fuse
Figure 8:

Cell 11: ERLS Fuse


Object Number: 288238  Size: FS
Cell 11: HVAC and O2 HTR Fuses
Cell 11: Turn-B/U, IGN, PCM/IGN, and Alarm Fuses
OBD II Symbol Description Notice
Handling ESD Sensitive Parts Notice
Cell 11: Turn-B/U, IGN, PCM/IGN, and Alarm Fuses
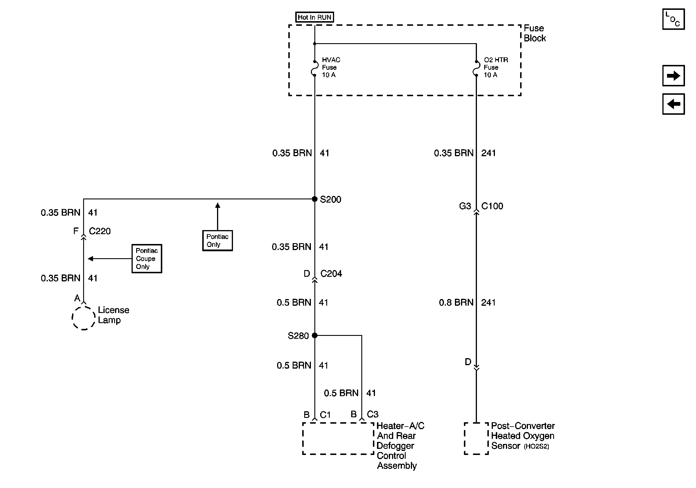
Figure 9:

Cell 11: HVAC and O2 HTR Fuses


Object Number: 288279  Size: FS
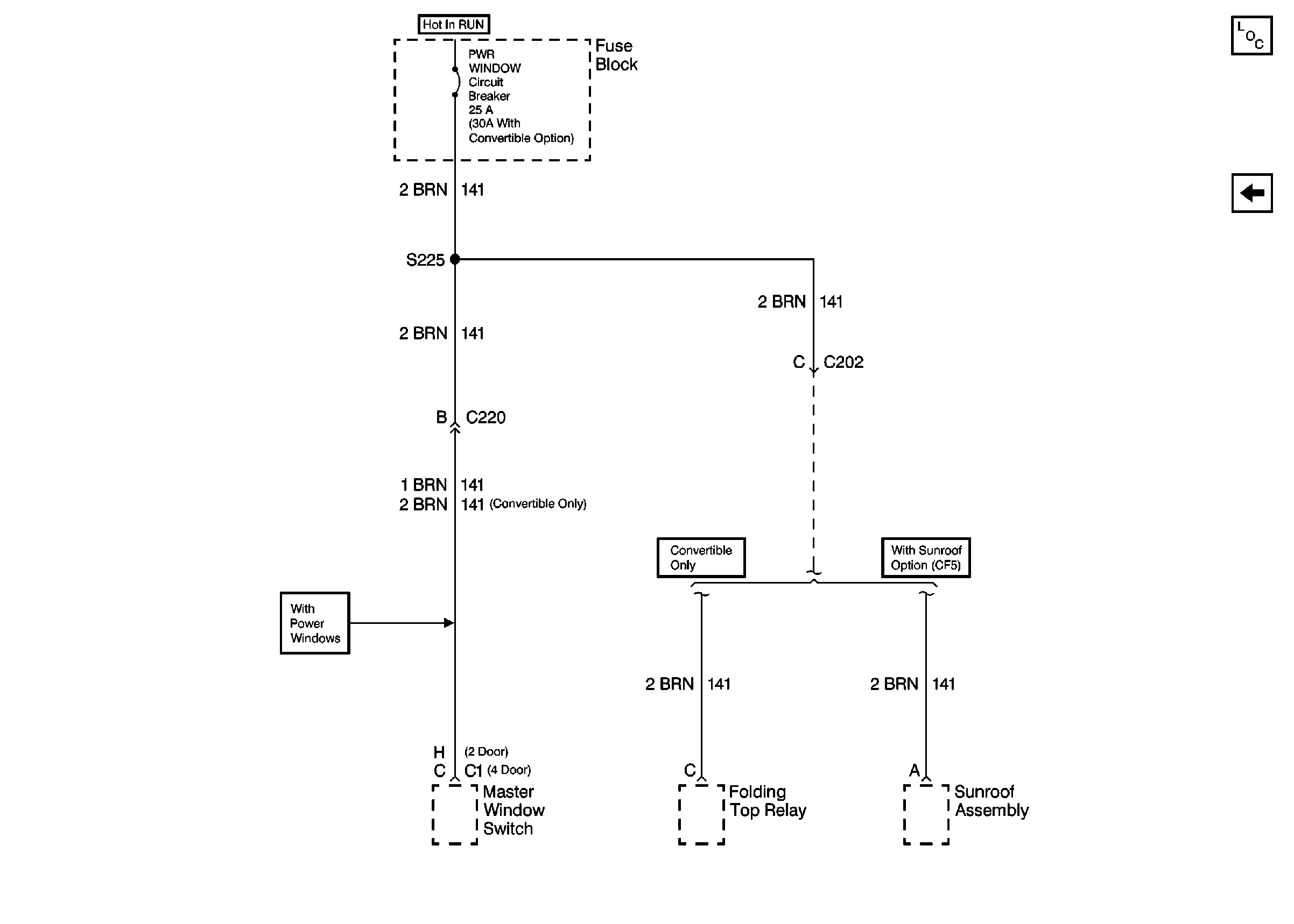
Cell 11: Power Window Circuit Breaker
Cell 11: ERLS Fuse
Figure 10:

Cell 11: Power Window Circuit Breaker


Object Number: 288283  Size: FS
Cell 11: HVAC and O2 HTR Fuses