GM Service Manual Online
For 1990-2009 cars only

FRONT OUTSIDE HANDLE STICKS (REMOVE CORNER OF DOOR HANDLE)

REVISION: 11/06/98 DIVS INVL 1 2 7

THIS BULLETIN IS BEING REVISED TO ADD THE 1998 PONTIAC SUNFIRE. PLEASE DISCARD CORPORATE BULLETIN NUMBER 83-15-18 (SECTION 10 - BODY) ______________________________________________________________________

SUBJECT: FRONT OUTSIDE DOOR HANDLE STICKS (REMOVE CORNER OF DOOR HANDLE)

MODELS: 1998 CHEVROLET CAVALIER (SEDAN ONLY) 1998 PONTIAC SUNFIRE (SEDAN ONLY) 1998 TOYOTA CAVALIER (SEDAN ONLY)

SOME CUSTOMERS MAY COMMENT THAT THE FRONT OUTSIDE DOOR HANDLE STICKS OR HITS SOMETHING WHEN OPENING THE DOOR WITH THE DOOR GLASS IN THE FULL UP POSITION.

CAUSE:

THIS CONDITION MAY BE CAUSED BY A CORNER PORTION OF THE OUTSIDE DOOR HANDLE COMING IN CONTACT WITH THE GLASS SASH CHANNEL.

CORRECTION:

1. REMOVE DOOR TRIM AND PARTIAL WATER DEFLECTOR.

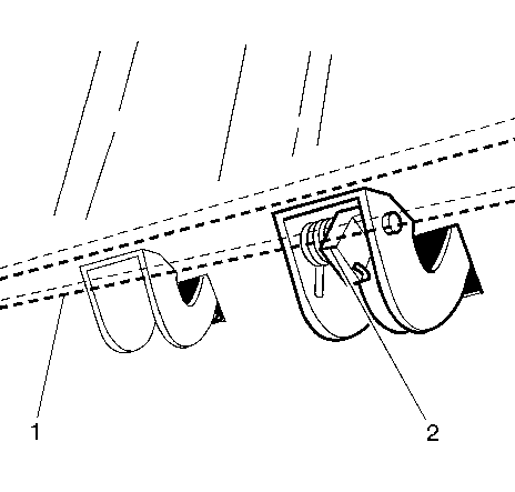
2. RAISE THE DOOR HANDLE TO THE FULL OPEN AND FILE APPROXIMATELY 3.5 MM (1/8 IN) OFF THE CORNER OF THE DOOR HANDLE (SEE FIGURE 1). CHECK FOR ADEQUATE CLEARANCE.

3. REINSTALL WATER DEFLECTOR AND DOOR TRIM.

WARRANTY INFORMATION:

FOR VEHICLES REPAIRED UNDER WARRANTY, USE:

LABOR OPERATION LABOR OPERATION NUMBER DESCRIPTION TIME =============== ================================== ===============

C3348 (RIGHT) TRIM ASSEMBLY, FRONT DOOR 0.4 HR C3358 (LEFT) R & R OR REPLACE

FIGURES: 01 ATTACHMENTS: 00

FIGURE 1 1. SASH CHANNEL 2. FILE THIS CORNER


Object Number: 484645  Size: SH

GENERAL MOTORS BULLETINS ARE INTENDED FOR USE BY PROFESSIONAL TECHNICIANS, NOT A "DO-IT-YOURSELFER". THEY ARE WRITTEN TO INFORM THOSE TECHNICIANS OF CONDITIONS THAT MAY OCCUR ON SOME VEHICLES, OR TO PROVIDE INFORMATION THAT COULD ASSIST IN THE PROPER SERVICE OF A VEHICLE. PROPERLY TRAINED TECHNICIANS HAVE THE EQUIPMENT, TOOLS, SAFETY INSTRUCTIONS AND KNOW-HOW TO DO A JOB PROPERLY AND SAFELY. IF A CONDITION IS DESCRIBED, DO NOT ASSUME THAT THE BULLETIN APPLIES TO YOUR VEHICLE, OR THAT YOUR VEHICLE WILL HAVE THAT CONDITION. SEE A GENERAL MOTORS DEALER SERVICING YOUR BRAND OF GENERAL MOTORS VEHICLE FOR INFORMATION ON WHETHER YOUR VEHICLE MAY BENEFIT FROM THE INFORMATION.

COPYRIGHT 1998 GENERAL MOTORS CORPORATION. ALL RIGHTS RESERVED.