GM Service Manual Online
For 1990-2009 cars only

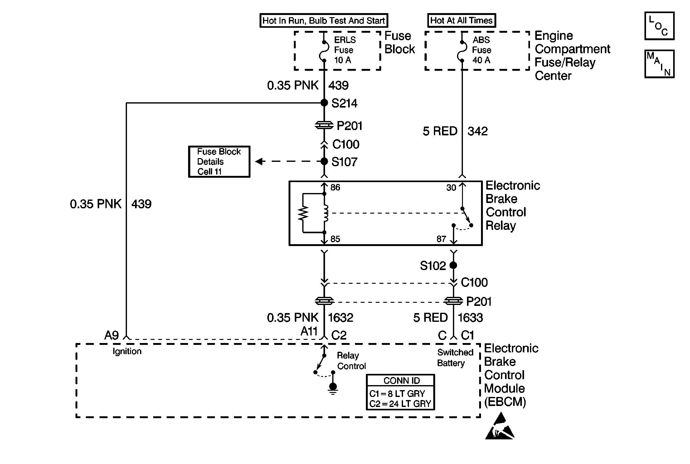
Object Number: 183224  Size: MF
ABS Components
ABS/ETS Schematics

Circuit Description

DTC C1237 detects high vehicle voltage levels prior to any required motor movement (initialization or ABS). Damage to the system may occur if excessive voltage exists.

Conditions for Setting the DTC

DTC C1237 can set only if the vehicle's speed is greater than 5 km/h (3 mph).

A malfunction exists if the switched battery voltage is greater than 17 volts.

Action Taken When the DTC Sets

    • A malfunction DTC stores.
    • The ABS disables.
    • The ABS warning indicator turns on.

Conditions for Clearing the DTC

    • The condition responsible for setting the DTC no longer exists and the Scan Tool Clear DTCs function is used.
    • 100 drive cycles pass with no DTC(s) detected. A drive cycle consists of starting the vehicle, driving the vehicle over 16 km/h (10 mph), stopping and then turning the ignition off.

Diagnostic Aids

The following conditions may cause an intermittent malfunction:

    • A poor connection
    • Rubbed-through wire insulation
    • A broken wire inside the insulation

Use the enhanced diagnostic function of the Scan Tool in order to measure the frequency of the malfunction.

Thoroughly inspect any circuitry that may be causing the intermittent complaint for the following conditions:

    • Backed out terminals
    • Improper mating
    • Broken locks
    • Improperly formed or damaged terminals
    • Poor terminal-to-wiring connections
    • Physical damage to the wiring harness

Step

Action

Value(s)

Yes

No

Important: Zero the J 39200 test leads before making any resistance measurements. Refer to the J 39200 user's manual.

1

Was the Diagnostic System Check performed?

--

Go to Step 2

Go to Diagnostic System Check

2

  1. Start the engine.
  2. Install a Scan Tool .
  3. Select Data List on the Scan Tool .
  4. Select Battery Voltage on the Scan Tool .
  5. Run the engine at approximately 2000 RPM and monitor the voltage.

Is the voltage less than or equal to the specified voltage?

16 V

Go to Step 6

Go to Step 3

3

  1. Turn the ignition switch to the OFF position.
  2. Disconnect the Electronic Brake Control Relay.
  3. Start the engine.
  4. Use the J 39200 in order to measure the voltage between the Electronic Brake Control Relay connector terminal 30 and ground.
  5. Run the engine at approximately 2000 RPM and monitor the voltage.

Is the voltage less than or equal to the specified range?

16 V

Go to Step 4

Go to Charging System Check in Engine Electrical

4

  1. Turn the ignition switch to the OFF position.
  2. Reconnect the Electronic Brake Control Relay.
  3. Drive the vehicle at a speed above 5 km/h (3 mph).
  4. Use the Scan Tool in order to look for DTCs.

Does DTC C1237 set as a current DTC?

--

Go to Step 5

Go to Step 6

5

Replace the EBCM. Refer to Electronic Brake Control Module Replacement .

Is the repair complete?

--

Go to Diagnostic System Check

--

6

The malfunction is intermittent or is not present at this time. Refer to Diagnostic Aids for more information.

Is the action complete?

--

System OK

--