GM Service Manual Online
For 1990-2009 cars only

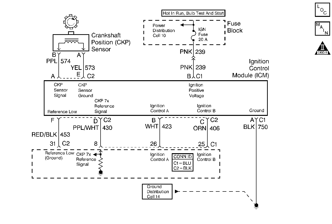
Object Number: 408265  Size: MF
Engine Controls Components
Ignition Controls
OBD II Symbol Description Notice
Powertrain Control Module Connector End Views

Circuit Description

In order to detect an engine misfire at higher engine speeds, the Powertrain Control Module (PCM) must know of any variation between the crankshaft sensor pulses. Most variations are due to the machining of the crankshaft reluctor wheel, however, other sources of variation are also possible. A crankshaft position system variation learn procedure must be performed any time that you perform the following service procedures, regardless of whether or not the DTC P1336 is set:

    • PCM replacement
    • Engine replacement
    • Crankshaft replacement
    • Crankshaft balancer replacement
    • Crankshaft position sensor replacement
    • Any engine repairs which disturb the crankshaft/harmonic balancer to the crankshaft position sensor relationship

The PCM measures the variations and then calculates compensation factors needed in order to enable the PCM to accurately detect an engine misfire at all speeds and loads. A scan tool must be used to command the PCM to learn these variations. If for any reason the PCM is unable to learn these variations or if the variations are out of an acceptable range, the PCM will set a DTC P1336. A DTC P1336 will also set if the PCM has not had the crankshaft position system variation learn procedure performed due to replacement or a reprogramming.

Conditions for Setting the DTC

    • There are no crank or cam sensor DTCs.
    • The PCM has not successfully learned the crankshaft position system variation.

Action Taken When the DTC Sets

    • The malfunction indicator lamp (MIL) will illuminate.
    • The PCM will record the operating conditions at the time during which the diagnostic fails. This information will store in the Freeze Frame and Failure Records buffers.
    • A history DTC stores.

Conditions for Clearing the MIL/DTC

    • The MIL will turn OFF after three consecutive ignition cycles in which the diagnostic runs without a fault.
    • A history DTC will clear after 40 consecutive warm-up cycles without a fault.
    • The MIL/DTCs can be cleared by using the scan tool.

Diagnostic Aids

Caution: Before performing the Crankshaft Position System Variation Learning Procedure always set the vehicle parking brake and block the drive wheels in order to prevent personal injury. Release the throttle immediately when the engine starts to decelerate in order to eliminate over revving the engine. Once the learn procedure is completed, the control module will return engine control to the operator and the engine will respond to the throttle position.

DTC P1336 will only set if the PCM has not learned the crankshaft position system variation. The PCM only needs to learn this variation once per life cycle of the vehicle unless the crank sensor to crankshaft relationship is disturbed. Removing a part for inspection and then reinstalling the same part is considered a disturbance.

The crankshaft position system variation learn procedure must be performed when replacing the PCM in order to clear the DTC P1336. The crankshaft position system variation learn procedure is also required when the following service procedures have been performed, regardless of whether or not DTC P1336 is set:

    • PCM replacement
    • Engine replacement
    • Crankshaft replacement
    • Crankshaft balancer replacement
    • Crankshaft position sensor replacement
    • Any engine repairs which disturbs the crankshaft/harmonic balancer to crankshaft position sensor relationship.

A fully warmed up engine is critical to learning the variation correctly. If a valid learn occurs, no other learns can be completed on that ignition cycle.

If the engine cuts out before the specified learn procedure engine speed or at normal fuel cut-off RPM, the PCM is not in the learn procedure mode. Review the crankshaft position system variation learn procedure and re-enable the learn procedure. Verify that the scan tool displays Test in Progress.

Excessive Crankshaft Variation Symptom

Scan Tool Display

Possible Causes

Factors out of range

The reluctor wheel-machining quality, a run out, or an incorrect air gap.

Opposing factors out of range

Disturbance-Noise on the crank sensor circuit. Reattempt the Learn Procedure.

Sum out of range

The engine is too cold. Reattempt the Learn Procedure.

Crank pulse count error.

Crank or Cam sensor DTCs is set. Repair the affected DTC first

Test Description

The number(s) below refer(s) to the step number(s) on the Diagnostic Table.

  1. The Powertrain OBD System Check prompts you to complete some of the basic checks and to store the freeze frame and failure records data on the scan tool if applicable. This creates an electronic copy of the data captured when this DTC sets. The scan tool stores this data for later reference.

  2. The engine temperature is critical in order to properly learn the crankshaft position system variation. Failure to properly warm the engine before performing this procedure will result in an inaccurate measurement of the crankshaft position system learn variation. The PCM learns this variation as the engine is decelerating and then allows the engine control to be returned to the operator. All accessories must be turned OFF when learn the crankshaft position system angle variation. If the A/C is not disabled when the learn procedure is enabled, the PCM will disable the A/C. When the PCM is ready to allow the learn procedure to run, the scan tool will display Test in Progress.

  3. If after the specified number attempts the PCM cannot learn the crankshaft position system learn variation, this indicates that the variation is too large and no further attempts should be made until you correct the variation problem.

  4. Being unable to learn the crankshaft position system learn variation indicates that the variation is out of range. Using the excessive crankshaft variation troubleshooting will help in order to diagnose the area where the problem lies.

DTC P1336 - Crankshaft Position System Angle Variation Not Learned

Step

Action

Value(s)

Yes

No

1

Did you perform the Powertrain On-Board Diagnostic (OBD) System Check?

--

Go to Step 2

Go to

Powertrain On Board Diagnostic (OBD) System Check

2.4L

or

Powertrain On Board Diagnostic (OBD) System Check

2.2L

2

Important: When performing the Crankshaft Position System Variation Learn Procedure, always set the vehicle parking brake and block the drive wheels. Release the throttle immediately when the engine starts to decelerate. Once the learn procedure is completed, the engine control will be returned to you and the engine will respond to the throttle position.

Perform the Crankshaft Position System Variation Learn Procedure by using the following steps:

  1. Close the engine compartment hood.
  2. Block the drive wheels and set the vehicle parking brake.
  3. Put the vehicle in Park or Neutral.
  4. Turn OFF all of the accessories.
  5. Install a scan tool.
  6. Start and run the engine until the engine is above the specified temperature.
  7. With the engine still running, enable the Crankshaft Position System Variation Learn Procedure with the scan tool.
  8. Press and hold the brake pedal firmly and raise the engine RPM to the specified value by releasing the throttle as soon as the engine cuts out.
  9. Verify with the scan tool that the crankshaft variation has been learned.

Does the scan tool indicate that the crankshaft position system variation has been learned?

85°C (185°F)

3,920 RPM

Go to Step 5

Go to Step 3

3

Attempt the crankshaft position system variation learn procedure as many times as the specified value.

Does the scan tool indicate that the crankshaft position system variation has been learned?

10

Go to Step 5

Go to Step 4

4

  1. Turn OFF the ignition switch.
  2. Check for a problem with the crank sensor to crankshaft relationship
  3. Repair the problem. Refer to the Excessive Crankshaft Variation Symptom Table.

Is the action complete?

--

Go to Step 2

--

5

  1. Using the scan tool, clear the DTCs.
  2. Start the engine.
  3. Idle the engine at the normal operating temperature.
  4. Operate the vehicle within the conditions for running this DTC as specified in the supporting text.

Does the scan tool indicate that this diagnostic ran and passed?

--

Go to Step 6

Go to Step 2

6

Check to see if any additional DTCs are set.

Does the scan tool display any DTCs that you have not diagnosed?

--

Go to the applicable DTC table

System OK