GM Service Manual Online
For 1990-2009 cars only

Removal Procedure


Object Number: 382423  Size: SH
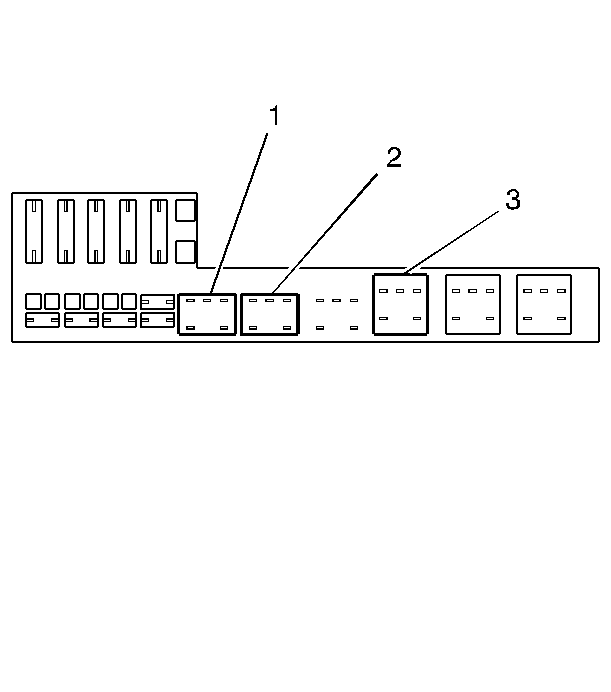
    • The A/C relay (1)
    • The fuel pump relay (2)
    • The cooling fan relay (3)

    Object Number: 382419  Size: SH
  1. Remove the underhood fuse block cover (1).

  2. Object Number: 382423  Size: SH
  3. Remove the appropriate relay.
  4. • The A/C relay (1)
    • The fuel pump relay (2)
    • The cooling fan relay (3)

Installation Procedure


    Object Number: 382423  Size: SH
  1. Install the following relays.
  2. • The A/C relay (1)
    • The fuel pump relay (2)
    • The cooling fan relay (3)

    Object Number: 382419  Size: SH
  3. Install the underhood fuse block cover (1).