GM Service Manual Online
For 1990-2009 cars only

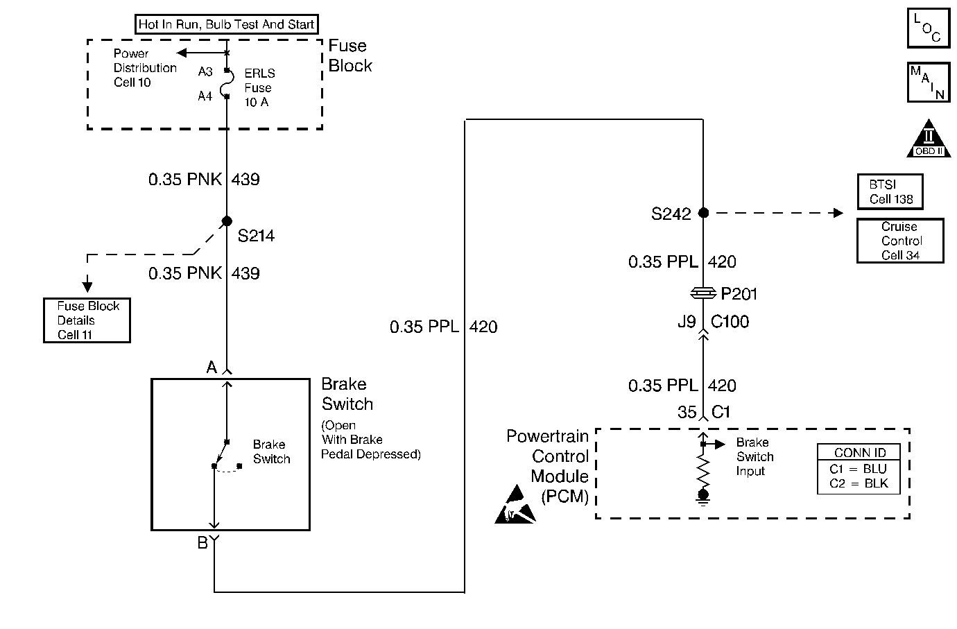
Object Number: 369573  Size: MF
Automatic Transmission Components
Automatic Transmission Controls Schematics
OBD II Symbol Description Notice
Handling ESD Sensitive Parts Notice

Circuit Description

The brake switch indicates brake pedal status to the powertrain control module (PCM). The normally-closed switch supplies battery voltage on circuit 420 to the PCM. Applying the brake pedal opens the brake switch, interrupting voltage to the PCM. While the brake pedal is not applied, the PCM receives constant voltage. If the PCM receives 0 volts at the brake switch input with the torque converter clutch (TCC) engaged, the PCM de-energizes the torque converter clutch solenoid valve (TCC solenoid valve).

When the PCM detects a closed brake switch circuit (12 volts, high input) during decelerations, then DTC P0724 sets. DTC P0724 is a type D DTC.

Conditions for Running the DTC

No Vehicle Speed Sensor Assembly DTCs P0502 or P0503.

Conditions for Setting the DTC

    • The vehicle speed is greater than 32 km/h (20 mph) for 6 seconds,
        then the vehicle speed is 8-32 km/h (5-20 mph) for 3 seconds,
        then the vehicle speed remains less than 8 km/h (5 mph).
    • The PCM detects a closed brake switch or circuit (12 volts) for 8 deceleration cycles.

Action Taken When the DTC Sets

    • The PCM does not illuminate the malfunction indicator lamp (MIL).
    • DTC P0724 stores in PCM history.

Conditions for Clearing the DTC

    • A scan tool clears the DTC from PCM history.
    • The PCM clears the DTC from PCM history if the vehicle completes 40 consecutive warm-up cycles without a non-emission related diagnostic fault occurring.

Diagnostic Aids

    • Inspect the brake switch for proper adjustment.
    • Inspect the wiring at the PCM, the brake switch connector, and all other circuit connecting points for the following conditions:
       - A backed out terminal
       - A damaged terminal
       - Reduced terminal tension
       - A chafed wire
       - A broken wire inside the insulation
       - Moisture intrusion
       - Corrosion
    • When diagnosing for an intermittent short or open condition, massage the wiring harness while watching the test equipment for a change.

Test Description

The numbers below refer to the step numbers on the diagnostic table.

  1. If you disconnect the brake switch connector and observe the scan tool brake switch status change, then a brake switch problem is the only possible cause of the DTC.

  2. If the brake switch is properly adjusted, then you must replace the brake switch.

  3. An unchanging brake switch status (Closed) in step 2 indicates a possible short to power in circuit 420.

  4. Replace the PCM only after you have completed the preceding diagnostic steps.

DTC P0724

Step

Action

Value(s)

Yes

No

1

Was the Powertrain On-Board Diagnostic (OBD) System Check performed?

--

Go to Step 2

Go to Powertrain On Board Diagnostic (OBD) System Check

2

  1. Install the Scan Tool .
  2. With the engine OFF, turn the ignition switch to the RUN position.
  3. Important: Before clearing the DTCs, use the scan tool in order to record the Failure Records. Using the Clear Info function erases the Failure Records from the PCM.

  4. Record the DTC Failure Records.
  5. Clear the DTC.
  6. Select scan tool brake switch.
  7. Disconnect the brake switch connector.

Did the Brake Switch status change from Closed to Open?

--

Go to Step 3

Go to Step 4

3

Replace the brake switch.

Refer to Stop Lamp Switch Replacement .

Is the replacement complete?

--

Go to Step 7

--

4

Inspect circuit 420 for a short to power.

Important:: The condition that affects this circuit may exist in other connecting branches of the circuit. Refer to Power Distribution Schematics for complete circuit distribution.

Refer to General Electrical Diagnosis in Wiring Systems.

Was the condition found?

--

Go to Step 5

Go to Step 6

5

Repair the wiring as necessary.

Refer to Wiring Repairs in Wiring Systems.

Is the repair complete?

--

Go to Step 7

--

6

Replace the PCM.

Refer to PCM Replacement/Programming in Engine Controls.

Is the replacement complete?

--

Go to Step 7

--

7

Perform the following procedure in order to verify the repair:

  1. Select DTC.
  2. Select Clear Info.
  3. Operate the vehicle under the following conditions:
  4. • Turn the ignition switch to the RUN position.
    • Apply the brake pedal for 3 seconds.
  5. Select Specific DTC.
  6. Enter DTC P0724.

Has the test run and passed?

--

System OK

Go to Step 1