GM Service Manual Online
For 1990-2009 cars only

Object Number: 350399  Size: MF
Automatic Transmission Components
Automatic Transmission Controls Schematics
OBD II Symbol Description Notice
Handling ESD Sensitive Parts Notice

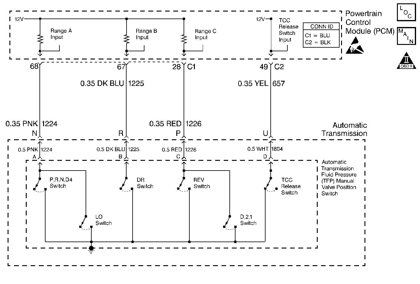
Circuit Description

The automatic transmission fluid pressure (TFP) manual valve position switch consists of six pressure switches. Five of the switches are normally-open, and determine gear range selection. The sixth switch is normally-closed, and detects torque converter clutch (TCC) release fluid pressure. The TFP manual valve position switch also contains the automatic transmission fluid temperature (TFT) sensor. These components are combined into one unit, mounted on the valve body.

The PCM provides battery voltage on the three range signal circuits. By grounding one or more of the switches with fluid pressure from the manual shift valve, the PCM detects the selected gear range. When you disconnect the transmission electrical connector and the ignition is ON, the ground potential for three range signals from the PCM will be removed, and an illegal gear will be indicated. Refer to the Transmission Fluid Pressure Manual Valve Position Switch Logic table.

When the PCM detects any of the following conditions, DTC P1810 sets.

    • An invalid gear state
    • A drive range after start up
    • An incorrect gear ratio

DTC P1810 is a type B DTC.

Conditions for Running the DTC

    • The engine is running.
    • The system voltage is 8-18 volts.

Conditions for Setting the DTC

One of the following three cases occurs:

Case 1

The gear range is illegal for 60 seconds (Refer to the Transmission Fluid Pressure Manual Valve Position Switch Logic table).

Case 2

    • No VSS DTCs P0502 or P0503.
    • The engine speed is in transition from 0 RPM to greater than 600 RPM.
    • The vehicle speed is less than 3 km/h (2 mph).
    • D2, D4 or Reverse gear is indicated after start-up for 2 seconds.

Case 3

    • No TP DTCs P0121, P0122, or P0123.
    • No VSS DTCs P0502 or P0503.
    • No A/T ISS DTCs P0716 or P0717.
    • No shift solenoid DTCs P0751, P0753, P0756 or P0758.
    • The vehicle speed is greater than 8 km/h (5 mph).
    • The TP is greater than 10%.
    • Engine torque is greater than 14 N·m (10 lb ft).
    • All of the above conditions are met and one of the following occurs for 5 seconds:
       - The TFP manual valve position switch indicates PARK/NEUTRAL when the gear ratio is less than 0.72:1 (4th gear).
       - The TFP manual valve position switch indicates REVERSE when the gear ratio is greater than 2.23:1, or less than 2.02:1.
       - The TFP manual valve position switch indicates D4, D3, D2 or D1 when the gear ratio indicates REVERSE.

Action Taken When the DTC Sets

    • The PCM illuminates the malfunction indicator lamp (MIL) during the second consecutive trip in which the Conditions for Setting the DTC are met.
    • The PCM elevates line pressure.
    • The PCM assumes a D4 shift pattern.
    • The PCM freezes shift adapts from being updated.
    • The PCM stores DTC P1810 in PCM history during the second consecutive trip in which the Conditions for Setting the DTC are met.

Conditions for Clearing the MIL/DTC

    • The PCM turns OFF the MIL during the third consecutive trip in which the diagnostic test runs and passes.
    • A scan tool clears the DTC from PCM history.
    • The PCM clears the DTC from PCM history if the vehicle completes 40 warm-up cycles without an emission-related diagnostic fault occurring.
    • The PCM cancels the DTC default actions when the fault no longer exists and the ignition switch is OFF long enough in order to power down the PCM.

Diagnostic Aids

    • A pressure regulator problem could set DTC P1810.
    • Inspect the wiring at the PCM, the transmission 20-way connector and the TFP manual valve position switch 6-way connector for the following conditions:
       - A backed out terminal
       - A damaged terminal
       - Reduced terminal tension
       - A chafed wire
       - A broken wire inside the insulation
       - Moisture intrusion
       - Corrosion
    • When diagnosing for an intermittent short or open condition, massage the wiring harness while watching the test equipment for a change.

Test Description

The numbers below refer to the step numbers on the diagnostic table.

  1. This step tests the indicated range signal to the manual valve range actually selected.

  2. This step tests for correct voltage from the PCM to the transmission 20-way connector.

  3. This step tests for a short together between circuits 1224, 1225 and 1226.

DTC P1810 TFP Manual Valve Position Switch Assembly Circuit Malfunction

Step

Action

Value(s)

Yes

No

1

Was the Powertrain On-Board Diagnostic (OBD) System Check performed?

--

Go to Step 2

Go to Powertrain On Board Diagnostic (OBD) System Check

2

Perform the following inspections:

    • Ensure the transmission linkage from the select lever to the manual valve is adjusted properly.
    • Perform the Transmission Fluid Check .

Are the inspections complete?

--

Go to Step 3

--

3

  1. Install the Scan Tool .
  2. Turn the ignition switch to the RUN position.
  3. Important: Before clearing the DTCs, use the scan tool in order to record the Freeze Frame and Failure Records. Using the Clear Info function erases the Freeze Frame and Failure Records from the PCM.

  4. Record the Freeze Frame and Failure Records.
  5. Clear the DTCs.
  6. While the engine is idling at the normal operating temperature, apply the brake pedal.
  7. Select each transmission range: P, R, N, D4, D3, D2 and D1.

Does each selected transmission range match the scan tool TFP Switch A/B/C display?

Refer to Transmission Fluid Pressure Manual Valve Position Switch Logic .

--

Go to Diagnostic Aids

Go to Step 4

4

  1. Turn the ignition switch OFF.
  2. Disconnect the transmission 20-way connector (additional DTCs may set).
  3. Install the J 39775 jumper harness on the engine side of the transmission 20-way connector.
  4. Turn the ignition switch to the RUN position.
  5. Using the J 35616-A connector test adapter kit and the J 39200 digital multimeter (DMM), inspect for voltage at connector terminals N, R and P.

Is B+ displayed on all three circuits?

--

Go to Step 6

Go to Step 5

5

Inspect the circuits that did not indicate B+ for an open or a short to ground.

Refer to General Electrical Diagnosis in Wiring Systems.

Was a condition found?

--

Go to Step 7

Go to Step 8

6

Verify that circuits 1224, 1225 and 1226 are not shorted together. Use a fused jumper wire to ground each circuit individually while monitoring the scan tool TFP Switch A/B/C display.

When a range signal circuit is grounded, are any other range signal circuits affected?

--

Go to Step 7

Go to Transmission Fluid Pressure (TFP) Manual Valve Position Switch Resistance Check

7

Repair the wiring as necessary.

Refer to Wiring Repairs in Wiring Systems.

Is the repair complete?

--

Go to Step 9

--

8

Replace the PCM.

Refer to PCM Replacement/Programming in Engine Controls.

Is the replacement complete?

--

Go to Step 9

--

9

Perform the following procedure in order to verify the repair:

  1. Select DTC.
  2. Select Clear Info.
  3. Operate the vehicle under the following conditions:
  4. 3.1. Start the vehicle and idle for 3 seconds.
    3.2. Drive the vehicle in D4 with a TP angle greater than 10%.
    3.3. Allow the transmission to shift through all gears.
  5. Select Specific DTC. Enter DTC P1810.

Has the test run and passed?

--

System OK

Go to Step 1