GM Service Manual Online
For 1990-2009 cars only

Object Number: 348317  Size: MF
SIR Components
SIR Schematics
SIR Handling Caution
Handling ESD Sensitive Parts Notice
SIR Handling Caution
SIR Handling Caution

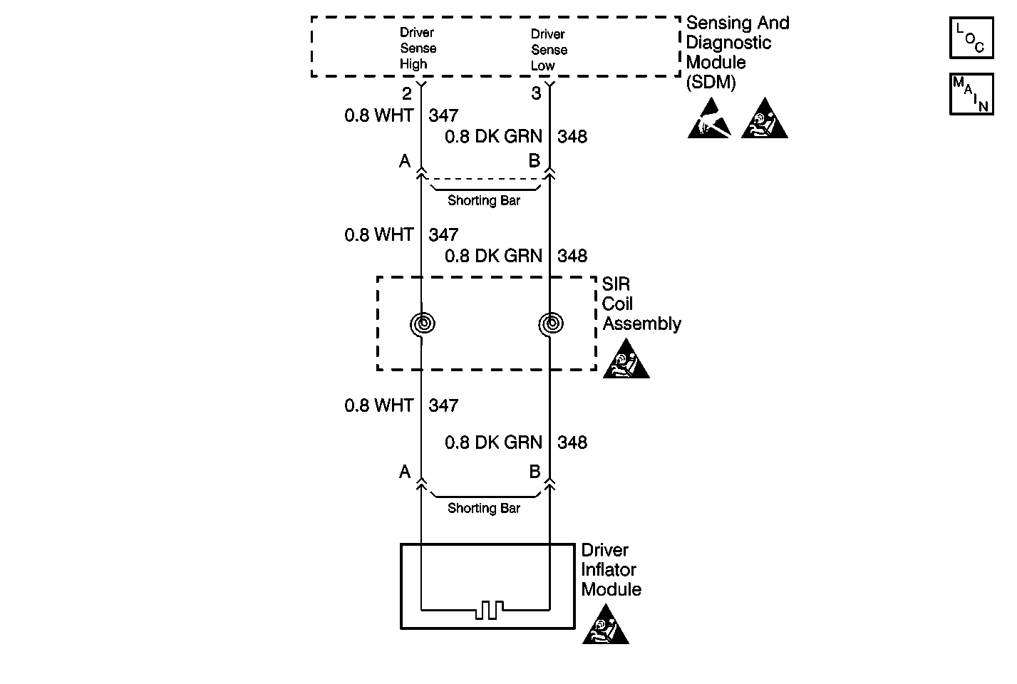
Circuit Description

When you first turn the ignition switch to the RUN position, the inflatable restraint Sensing and Diagnostic Module (SDM) performs tests to diagnose critical malfunctions within itself. Next the SDM measures IGNITION 1 voltage to make sure it is within its respective normal voltage range. Then the SDM proceeds with the Deployment Loop Continuity test. During the Deployment Loop Continuity test, the SDM measures the voltage difference between Driver Side High and Driver Side Low.

Conditions for Setting the DTC

    • The voltage difference between Driver Side High terminal 2 and Driver Side Low terminal 3 is more than or equal to 400 millivolts.
    • The malfunction must be present for at least 500 milliseconds during one of the following tests:
       - Deployment Loop Continuity
       - If the malfunction is detected in this test, the Resistance Measurement test will not be performed.
       - Continuous Monitoring

Action Taken When the DTC Sets

    • The SDM sets a Diagnostic Trouble Code.
    • The SDM turns ON the AIR BAG warning lamp.

Conditions for Clearing the DTC

    • Current DTC
        The voltage difference between Driver Side High terminal 2 and Driver Side Low terminal 3 is less than 400 millivolts for 500 milliseconds.
    • History DTC
       - You issue a scan tool CLEAR CODES command.
       - Once 250 malfunction free ignition cycles have occurred.

Diagnostic Aids

The following can cause an intermittent condition:

    • A poor connection at the inflatable restraint steering wheel module column connector terminals A and B.
    • A poor connection at the upper inflatable restraint steering wheel coil connector terminals A and B.
    • A poor connection at the SDM terminals 2 and 3.
    • An open in CKT 347.
    • An open in CKT 348.

An intermittent open in the inflatable restraint steering wheel module coil could also set this DTC. To test for a bad inflatable restraint steering wheel module coil, clear the DTCs, then turn the steering wheel back and forth with the ignition switch in the ON position. If the AIR BAG warning lamp comes ON and DTC B1026 has set again, it is likely the inflatable restraint steering wheel module coil is malfunctioning.

When measurements are requested in this table, use the J 39200 Digital Multimeter with the correct terminal adapter from the J 35616 Connector Test Adapter Kit. When an inspection for proper connection is requested, refer to Intermittents and Poor Connections . When a wire, connector or terminal repair is requested, use the J-38125 Terminal Repair Kit. Refer to Wiring Repair .

Test Description

The numbers below refer to the step numbers on the diagnostic table:

  1. This test determines the deployment loop voltage difference measured by the inflatable restraint sensing and diagnostic module.

  2. This test checks for proper contact or corrosion of the yellow 2-way connector.

  3. This test isolates the malfunction to one side of the inflatable restraint steering wheel module coil yellow 2-way connector.

  4. This test determines whether the malfunction is due to the inflatable restraint steering wheel module or the module coil.

  5. This test checks for proper contact or corrosion of the inflatable restraint sensing and diagnostic module connector.

  6. This test determines whether the malfunction is in CKT 347.

  7. This test determines whether the malfunction is in CKT 348.

DTC B1026 -- Driver Deployment Loop Open

Step

Action

Value(s)

Yes

No

1

Was the SIR Diagnostic System Check performed?

--

Go to Step 2

Go to SIR Diagnostic System Check

2

  1. Turn the ignition switch to the OFF position.
  2. Connect a scan tool to the DLC.
  3. Turn the ignition switch to the RUN position.
  4. Request the SIR data list display.
  5. Read and record on the repair order the driver deployment loop voltage difference DRIVER VDIF.

Has the DRIVER VDIF been read and recorded on the repair order?

--

Go to Step 3

--

3

  1. Turn the ignition switch to the OFF position.
  2. Disconnect the inflatable restraint steering wheel and IP module yellow 2-way connectors located near the base of the steering column.
  3. Inspect for proper connection at terminals A and B on the harness side of the inflatable restraint steering wheel module yellow 2-way connector.

Are the terminals damaged or corroded?

--

Go to Step 4

Go to Step 6

4

Replace the inflatable restraint steering wheel module yellow 2-way harness connector. Refer to Wiring Repair .

Are the repairs complete?

--

Go to Step 5

--

5

Check for proper connection at terminals A and B on the coil side of the connector.

Are the terminals damaged or corroded?

--

Go to Step 7

Go to Step 23

6

Check for proper connection at terminals A and B on the coil side of the connector.

Are the terminals damaged or corroded?

--

Go to Step 7

Go to Step 8

7

Replace the inflatable restraint steering wheel module coil. Refer to Inflatable Restraint Steering Wheel Module Coil Replacement .

Are the repairs complete?

--

Go to Step 23

--

8

  1. Connect the 2-way harness connectors.
  2. Turn the ignition switch to the RUN position.
  3. Using the scan tool, request the SIR data list display.
  4. Read the driver deployment loop voltage difference DRIVER VDIF.

Is DRIVER VDIF less than the specified value?

400 mV

Go to Step 9

Go to Step 10

9

  1. Turn the ignition switch to the OFF position.
  2. Replace the inflatable restraint steering wheel module yellow 2-way harness connector. Refer to Wiring Repair .

Are the repairs complete?

--

Go to Step 23

--

10

  1. Turn the ignition switch to the OFF position.
  2. Disconnect the inflatable restraint steering wheel and IP module yellow 2-way connectors located near the base of the steering column.
  3. Connect the J 38715-A SIR Driver/Passenger Load Tool to the harness connectors.
  4. Turn the ignition switch to the RUN position.
  5. Using the scan tool, request the SIR data list display.
  6. Read the driver deployment loop voltage difference DRIVER VDIF.

Is DRIVER VDIF less than the specified value?

400 mV

Go to Step 11

Go to Step 14

11

  1. Turn the ignition switch to the OFF position.
  2. Remove the inflatable restraint steering wheel module. Refer to Inflatable Restraint Steering Wheel Module Replacement .
  3. Disconnect the J 38715-A from the driver 2-way harness connector.
  4. Connect the driver 2-way connector located at the base of the steering column.
  5. Connect J 38715-A to the upper inflatable restraint steering wheel module coil connector on the steering column.
  6. Turn the ignition switch to the RUN position.
  7. Using the scan tool, request the SIR data list display.
  8. Read the driver deployment loop voltage difference VDIF.

Is DRIVER VDIF less than the specified value?

400 mV

Go to Step 12

Go to Step 13

12

  1. Turn the ignition switch to the OFF position.
  2. Replace the inflatable restraint steering wheel module. Refer to Inflatable Restraint Steering Wheel Module Replacement .

Are the repairs complete?

--

Go to Step 23

--

13

  1. Turn the ignition switch to the OFF position.
  2. Replace the inflatable restraint steering wheel module coil. Refer to Inflatable Restraint Steering Wheel Module Coil Replacement .

Are the repairs complete?

--

Go to Step 23

--

14

  1. Turn the ignition switch to the OFF position.
  2. Disconnect the inflatable restraint Sensing and Diagnostic Module (SDM). Refer to Inflatable Restraint Sensing and Diagnostic Module Replacement .
  3. Disconnect the J 38715-A .
  4. Check for proper connection at terminals 2 and 3 on the harness side of the SDM connector.

Is the connector damaged or corroded?

--

Go to Step 15

Go to Step 17

15

Replace the SDM harness connector. Refer to Wiring Repair .

Are the repairs complete?

--

Go to Step 16

--

16

Check for proper connection at terminals 2 and 3 of the SDM.

Are the terminals damaged or corroded?

--

Go to Step 18

Go to Step 23

17

Check for proper connection at terminals 2 and 3 of the SDM.

Are the terminals damaged or corroded?

--

Go to Step 18

Go to Step 19

18

Replace the inflatable restraint Sensing and Diagnostic Module (SDM). Refer to Inflatable Restraint Sensing and Diagnostic Module Replacement .

Are the repairs complete?

--

Go to Step 23

--

19

  1. Zero the J 39200 Digital Multimeter.
  2. Measure the resistance from the SDM harness connector terminal 2 to the inflatable restraint steering wheel module yellow 2-way harness connector terminal A.

Is the resistance reading within the specified values?

0-0.5 ohms

Go to Step 21

Go to Step 20

20

Repair the high resistance condition in CKT 347.

Are the repairs complete?

--

Go to Step 23

--

21

  1. Zero the J 39200 .
  2. Measure the resistance from the SDM harness connector terminal 3 to the inflatable restraint steering wheel module yellow 2-way harness connector terminal B.

Is the resistance reading within the specified values?

0-0.5 ohms

Go to Sensing and Diagnostic Module Integrity Check

Go to Step 22

22

Repair the high resistance condition in CKT 348.

Are the repairs complete?

--

Go to Step 23

--

23

Reconnect all the SIR system components, make sure all the components are properly mounted.

Have all the SIR components been reconnected and properly mounted?

--

Go to Step 24

--

24

Clear all the SIR DTCs.

Have all the SIR DTCs been cleared?

--

Go to SIR Diagnostic System Check

--