GM Service Manual Online
For 1990-2009 cars only

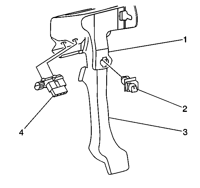
Removal Procedure

  1. Remove the left sound insulator. Refer to Instrument Panel Insulator Replacement in Instrument Panel, Gauges and Console.

  2. Object Number: 288319  Size: SH
  3. Disconnect the wiring harness connectors.
  4. Pull the clutch pedal switch (1) rearward in order to remove the switch from the retainer in the bracket.

Installation Procedure


    Object Number: 288319  Size: SH
  1. Install the retainer into the bracket from the forward side.
  2. Depress the clutch pedal (3).
  3. Insert the switch into the retainer until the switch seats on the retainer.
  4. Connect the wiring harness to the clutch pedal switch.
  5. Use the following steps in order to adjust the switch:
  6. 5.1. Pull the clutch pedal fully rearward against the pedal stop until you cannot hear the clicks.
    5.2. Move the switch in the retainer in order to adjust the switch.
    5.3. Release the clutch pedal.
    5.4. Repeat the procedure, if necessary, in order to properly adjust the switch.
  7. Connect the wiring harness connectors.
  8. Install the sound insulator. Refer to Instrument Panel Insulator Replacement in Instrument Panel, Gauges and Console.