GM Service Manual Online
For 1990-2009 cars only

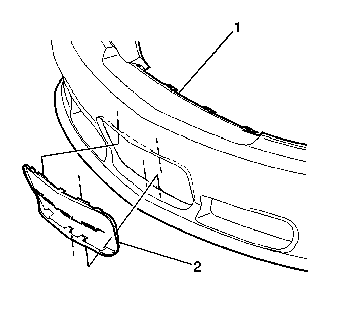
Removal Procedure


Object Number: 284855  Size: SH

Remove the license plate cover (2) from the fascia (1).

  1. Use a flat bladed tool in order to pry out the top tabs.
  2. Disengage the bottom tabs.

Installation Procedure


Object Number: 284855  Size: SH

Install the license plate cover (2) to the fascia (1).

  1. Insert the top tabs into the fascia slots.
  2. Snap the bottom tabs into place.