GM Service Manual Online
For 1990-2009 cars only

Removal Procedure


    Object Number: 284869  Size: SH
  1. Remove the fascia. Refer to Rear Bumper Fascia Replacement .
  2. Remove the energy absorber. Refer to Rear Energy Absorber Replacement .
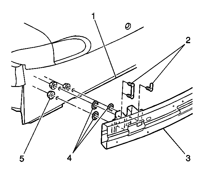
  3. Remove the nuts (5) that retain the impact bar (3) to the rear end panel (1).
  4. Remove the impact bar (3) from the vehicle.
  5. Remove the stud plates (2) from the impact bar.

Installation Procedure


    Object Number: 284869  Size: SH
  1. Install the stud plates (2) to the impact bar (3).
  2. Install the impact bar (3) to the vehicle.
  3. Notice: Use the correct fastener in the correct location. Replacement fasteners must be the correct part number for that application. Fasteners requiring replacement or fasteners requiring the use of thread locking compound or sealant are identified in the service procedure. Do not use paints, lubricants, or corrosion inhibitors on fasteners or fastener joint surfaces unless specified. These coatings affect fastener torque and joint clamping force and may damage the fastener. Use the correct tightening sequence and specifications when installing fasteners in order to avoid damage to parts and systems.

  4. Install the nuts (5) in order to retain the impact bar to the rear end panel (1).
  5. Tighten
    Tighten the nuts to 29 N·m (21 lb ft).

  6. Install the energy absorber. Refer to Rear Energy Absorber Replacement .
  7. Install the fascia. Refer to Rear Bumper Fascia Replacement .