GM Service Manual Online
For 1990-2009 cars only

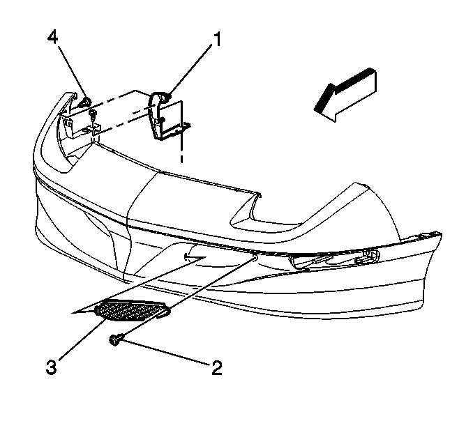
Removal Procedure


    Object Number: 284850  Size: SH
  1. Remove the screw (2) from the grille (3).
  2. Remove the grille (3) from the fascia.

Installation Procedure


    Object Number: 284850  Size: SH
  1. Install the grille (3) to the fascia.
  2. 1.1. Insert the tab.
    1.2. Rock the assembly into place.

    Notice: Use the correct fastener in the correct location. Replacement fasteners must be the correct part number for that application. Fasteners requiring replacement or fasteners requiring the use of thread locking compound or sealant are identified in the service procedure. Do not use paints, lubricants, or corrosion inhibitors on fasteners or fastener joint surfaces unless specified. These coatings affect fastener torque and joint clamping force and may damage the fastener. Use the correct tightening sequence and specifications when installing fasteners in order to avoid damage to parts and systems.

  3. Install the screw (2) to the grille (3).
  4. Tighten
    Tighten the screw to 2 N·m (18 lb in).