GM Service Manual Online
For 1990-2009 cars only

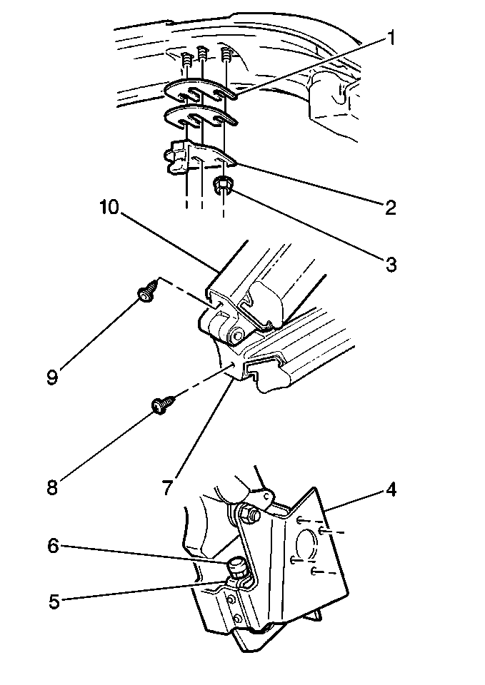
Removal Procedure

  1. Raise the No. 1 bow off of the windshield header in order to obtain a suitable working height.

  2. Object Number: 299103  Size: MH
  3. Remove the retaining nuts (3), the header latch striker (2), and the shims (1).
  4. Remove the folding top latch.

Installation Procedure


    Object Number: 299103  Size: MH
  1. Install the shims (1), the header latch striker (2), and the retaining nuts (3).
  2. Do not torque the nuts at this time.

    Notice: Use the correct fastener in the correct location. Replacement fasteners must be the correct part number for that application. Fasteners requiring replacement or fasteners requiring the use of thread locking compound or sealant are identified in the service procedure. Do not use paints, lubricants, or corrosion inhibitors on fasteners or fastener joint surfaces unless specified. These coatings affect fastener torque and joint clamping force and may damage the fastener. Use the correct tightening sequence and specifications when installing fasteners in order to avoid damage to parts and systems.

  3. Adjust the leader latch striker. Refer to Folding Top Adjustment .
  4. Tighten
    Tighten the nuts (3) to 11N·m  (8 lb ft).