GM Service Manual Online
For 1990-2009 cars only

Tools Required

    • J 6125-1B Universal Slide Hammer and Puller
    • J 26941 Drive Sprocket Support Bearing Remover

    Object Number: 15962  Size: SH
  1. Inspect the drive sprocket support (109) for the following conditions:
  2. • Damaged splines
    • Damaged bearing (108) in the drive sprocket support
    • Damaged turbine shaft bushing (110) (pressed inside the support)
  3. If the drive sprocket support bearing (108) is damaged, remove the bearing.
  4. If the drive sprocket support assembly (109) is damaged, remove the assembly.

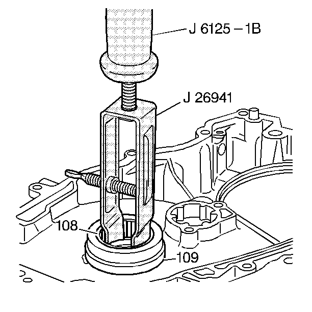
  5. Object Number: 15964  Size: SH
  6. Assemble J 6125-1B and J 26941 .
  7. Use the assembled tools in order to remove the bearing assembly  (108) from the drive sprocket support (109).

  8. Object Number: 16134  Size: SH
  9. Remove the four drive sprocket support bolts (114) from the case.
  10. Remove the drive sprocket support assembly (109).