GM Service Manual Online
For 1990-2009 cars only

    Object Number: 20785  Size: SH
  1. Install a new oil filter (33) into the case.

  2. Object Number: 20787  Size: SH
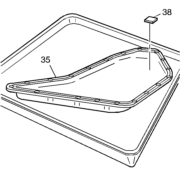
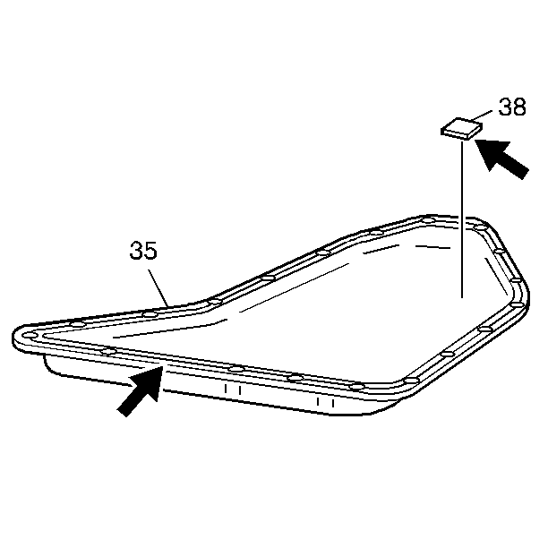
  3. Clean the oil pan (35) and the magnet (38) in order to remove any sediment.

  4. Object Number: 20786  Size: SH
  5. Inspect the oil pan for the following:
  6. • A damaged sealing surface
    • A dented or cracked bottom surface
  7. Inspect the magnet (38) for damage.

  8. Object Number: 20788  Size: SH
  9. Install a new oil pan gasket (38) onto the case.
  10. Position the oil pan (35) onto the case.
  11. Notice: Use the correct fastener in the correct location. Replacement fasteners must be the correct part number for that application. Fasteners requiring replacement or fasteners requiring the use of thread locking compound or sealant are identified in the service procedure. Do not use paints, lubricants, or corrosion inhibitors on fasteners or fastener joint surfaces unless specified. These coatings affect fastener torque and joint clamping force and may damage the fastener. Use the correct tightening sequence and specifications when installing fasteners in order to avoid damage to parts and systems.

  12. Finger start 16 bolts (36) into the pan and the case flange.
  13. Tighten
    Tighten the bolts to 11 N·m (98 lb in).