GM Service Manual Online
For 1990-2009 cars only

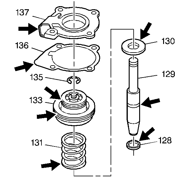
    Object Number: 20782  Size: SH
  1. Inspect the intermediate servo spring washer (130) and the spring (131) for damage or distortion.
  2. Inspect the servo piston (133) for nicks, scratches, cracks, or porosity.
  3. Inspect the piston seal groove for damage.
  4. Inspect the servo cover (137) for damage, cracks, or porosity.

  5. Object Number: 20783  Size: SH
  6. Install the intermediate servo spring washer (130) and the spring (131) onto the intermediate servo pin.
  7. Install the servo piston (133) onto the pin.
  8. Install the snap ring retainer (135).

  9. Object Number: 20784  Size: SH
  10. Lubricate the inner and the outer servo piston lip seals (134, 132) with TRANSJEL™ and assemble the seals onto the servo piston.
  11. Lubricate the servo pin fluid seal (128) with TRANSJEL™ and assemble the seal onto the servo pin.

  12. Object Number: 15722  Size: SH
  13. Install the third accumulator exhaust spring (125) into the case.
  14. Install the accumulator exhaust valve (126) into the case.

  15. Object Number: 15720  Size: SH
  16. Install the intermediate servo pin and piston assembly (133) into the case.
  17. Install the servo cover gasket (136).
  18. Notice: Hand tighten servo bolts to prevent bore damage.

    Notice: Use the correct fastener in the correct location. Replacement fasteners must be the correct part number for that application. Fasteners requiring replacement or fasteners requiring the use of thread locking compound or sealant are identified in the service procedure. Do not use paints, lubricants, or corrosion inhibitors on fasteners or fastener joint surfaces unless specified. These coatings affect fastener torque and joint clamping force and may damage the fastener. Use the correct tightening sequence and specifications when installing fasteners in order to avoid damage to parts and systems.

  19. Install the servo cover (137), the low and reverse fluid pipe retainer (140), and four bolts (141).
  20. Tighten
    Tighten the bolts to 11 N·m (8 lb ft).