GM Service Manual Online
For 1990-2009 cars only
Makes
🢒
Pontiac
🢒
1999
🢒
Sunfire
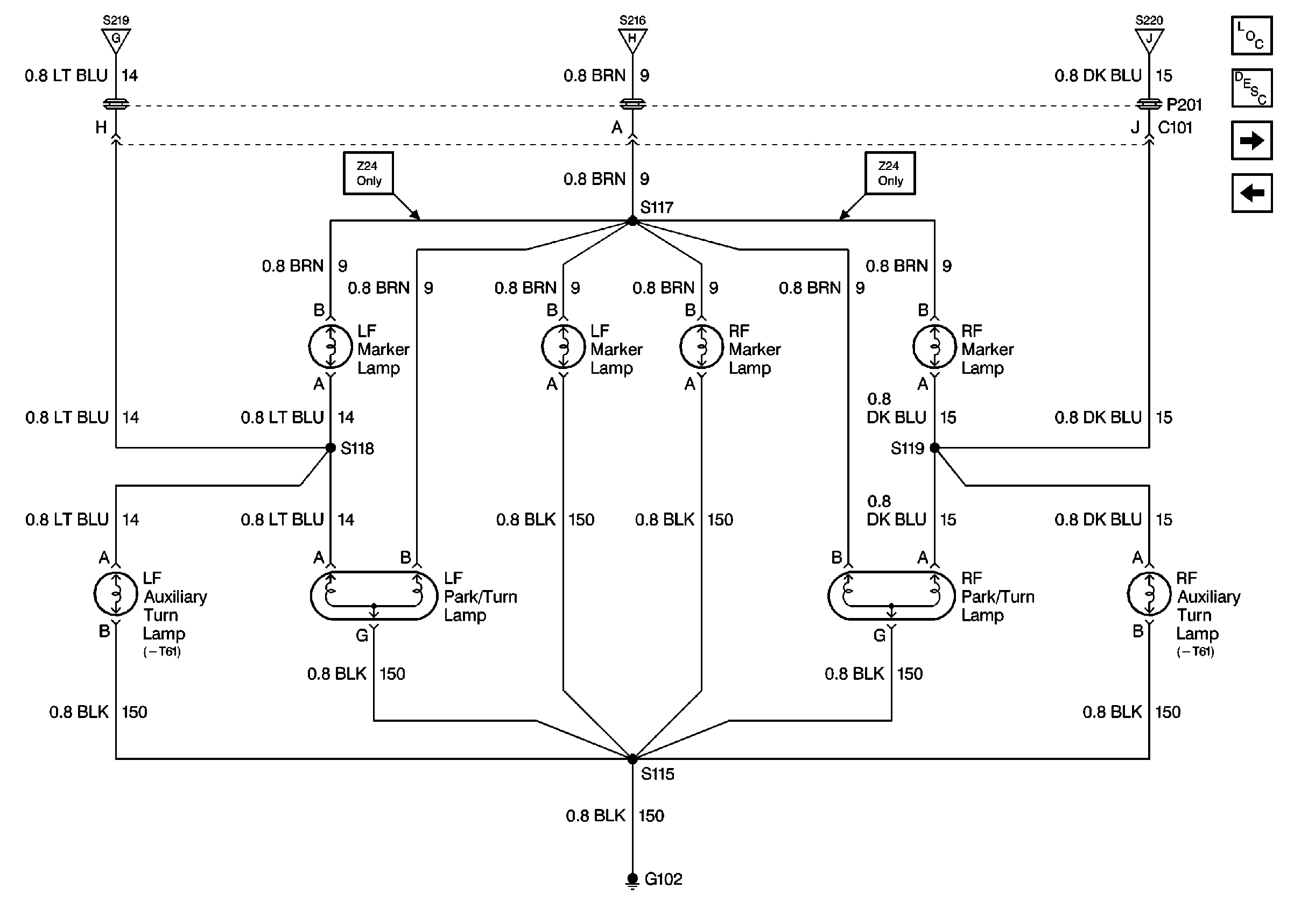
🢒 Cell 110: Turn, Hazard, Front Marker and Front Park Lamps Chevrolet
Cell 110: Turn, Hazard, Front Marker and Front Park Lamps Chevrolet
Cell 110: Turn, Hazard, Front Marker and Front Park Lamps (Chevrolet)
Lighting Systems Components
Exterior Lights Circuit Description
Cell 110: High Mounted Stop/ Turn Lamps
Cell 110: Turn, Hazard, Front Marker and Front Park Lamps
Cell 110; Turn, Hazard, Headlamp Switch Assembly
Cell 110; Turn, Hazard, Headlamp Switch Assembly
Cell 110; Turn, Hazard, Headlamp Switch Assembly